lemon-mirror:
Home >> Lexus >> 1998 >> SC 300 >> Repair and Diagnosis >> Electrical >> Gauges >> Instrument Panel >> Component Tests >> Integration Relay

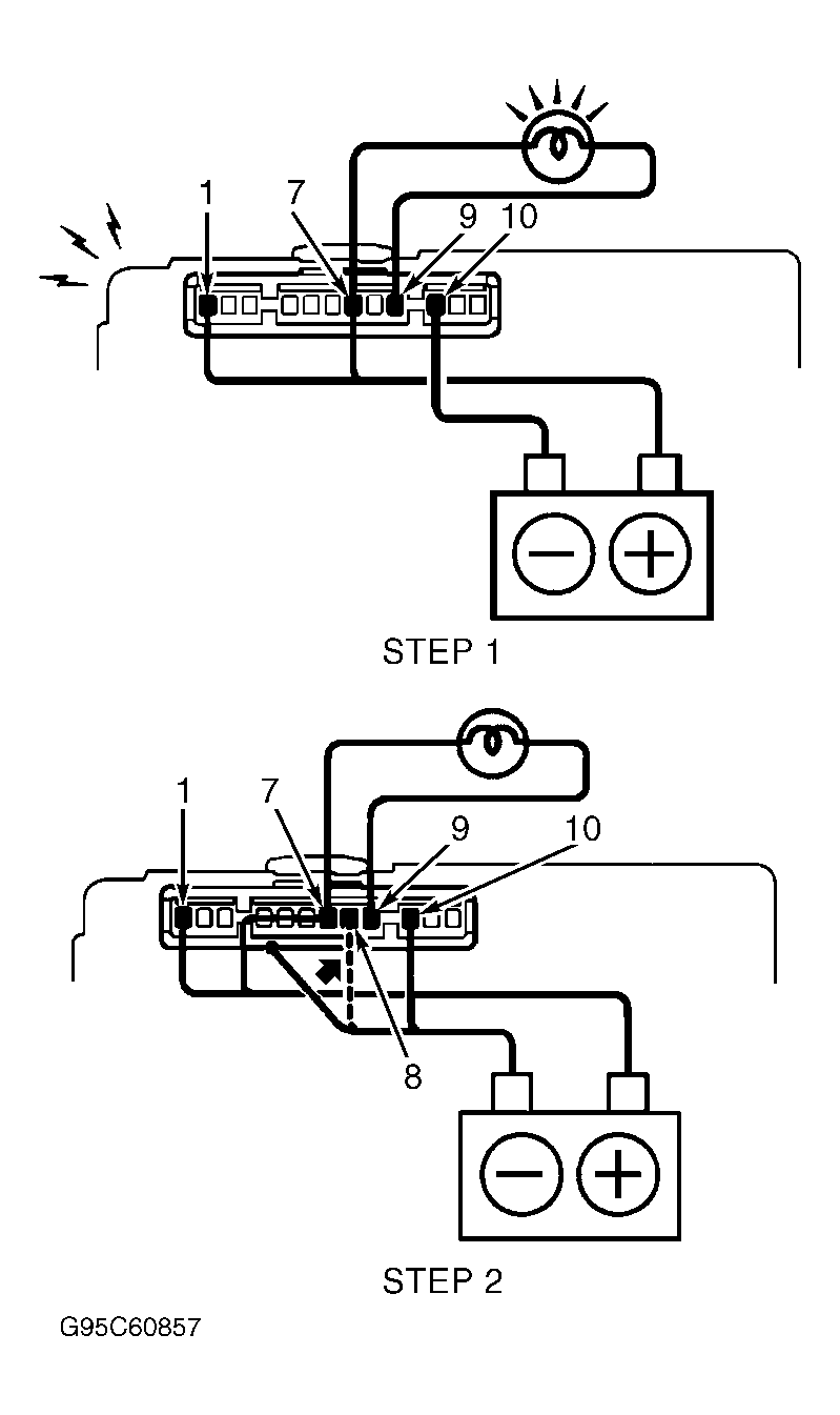
Integration Relay

  1. Disconnect 12-pin relay connector. Connect positive lead from battery to relay terminals No. 1 and 7. Connect 3.4-watt bulb between terminals No. 7 and 9. Connect negative lead from battery to terminal No. 10. Perform STEP 1. See Fig 1. Bulb should light and buzzer should sound for 4-8 seconds.
  2. Repeat step 1, but connect negative lead from battery to terminal No. 8 while light and buzzer are on. Perform STEP 2. See Fig 1. Buzzer should stop. Replace integration relay if it does not test as specified.
Fig 1: Testing Integration Relay
G95C60857Courtesy of © TOYOTA, LICENSE AGREEMENT TMS1002