lemon-mirror:
Home >> Lexus >> 2000 >> GS 400 >> Repair and Diagnosis >> Electrical >> Gauges >> Instrument Panels >> Component Tests >> Tachometer >> Bench Test

Bench Test

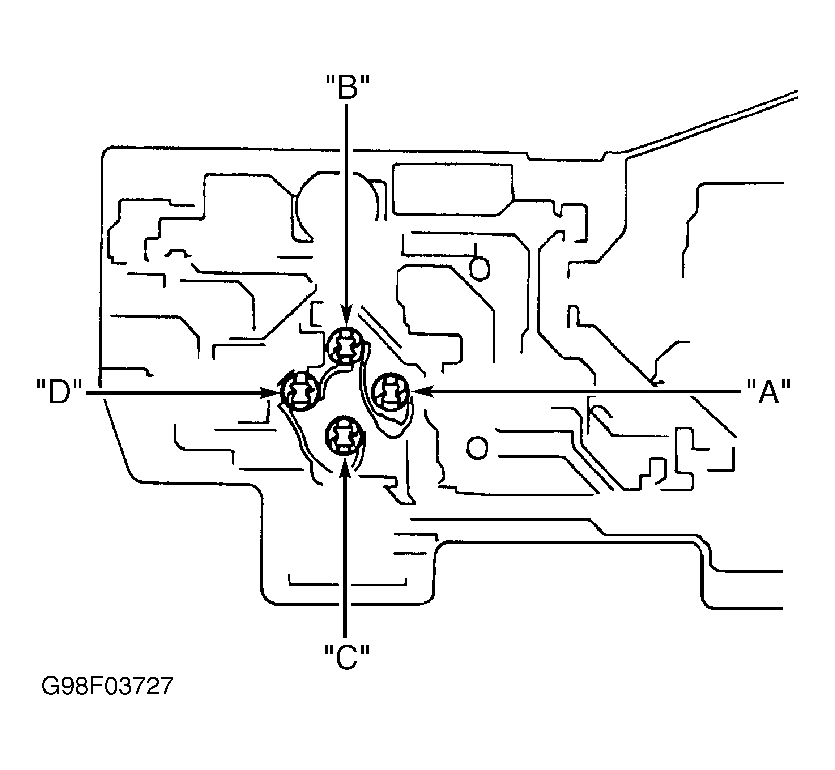
Remove instrument cluster. See INSTRUMENT CLUSTER  under REMOVAL & INSTALLATION. Measure resistance between tachometer terminals. See Fig 1. Ensure resistance is as specified between appropriate terminals. See TACHOMETER RESISTANCE  table. If resistance is not as specified, replace tachometer.

Fig 1: Identifying Tachometer Terminals
G98F03727Courtesy of © TOYOTA, LICENSE AGREEMENT TMS1002
TACHOMETER RESISTANCE

Terminals Ohms
A & B 140-185
C & D 130-175