lemon-mirror:
Home >> Lexus >> 2000 >> LS 400 >> Repair and Diagnosis >> Body & Frame >> Power Mirrors >> Component Tests >> Power Mirror Motor >> Notes

Power Mirror Motor: Notes

Disconnect power mirror motor harness connector. Apply battery voltage and ground between specified terminals of power mirror motor harness connector (reverse polarity to move/operate motor in opposite direction). See appropriate POWER MIRROR MOTOR TEST table. See Fig 1-Fig 8 . If motor does not operate as specified, replace power mirror motor.

Fig 1: Power Mirror Motor Connector Terminals (ES300)
G97J06879Courtesy of © TOYOTA, LICENSE AGREEMENT TMS1002
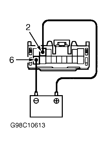
Fig 2: Power Mirror Motor Connector Terminals (GS300 & GS400 With Memory)
G98C10613Courtesy of © TOYOTA, LICENSE AGREEMENT TMS1002
Fig 3: Power Mirror Motor Connector Terminals (GS300 & GS400 Without Memory & RX300)
G98D10614Courtesy of © TOYOTA, LICENSE AGREEMENT TMS1002
Fig 4: Power Mirror Motor Connector Terminals (LS400 With Memory)
G96A07662Courtesy of © TOYOTA, LICENSE AGREEMENT TMS1002
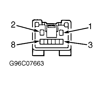
Fig 5: Power Mirror Motor Connector Terminals (LS400 Without Memory)
G96C07663Courtesy of © TOYOTA, LICENSE AGREEMENT TMS1002
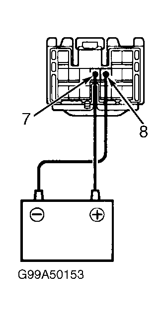
Fig 6: Power Mirror Motor Connector Terminals (LX470)
G99A50153Courtesy of © TOYOTA, LICENSE AGREEMENT TMS1002
Fig 7: Power Mirror Motor Connector Terminals (SC300 & SC400 With Memory)
G96F07669Courtesy of © TOYOTA, LICENSE AGREEMENT TMS1002
Fig 8: Power Mirror Motor Connector Terminals (SC300 & SC400 Without Memory)
G96H07670Courtesy of © TOYOTA, LICENSE AGREEMENT TMS1002