lemon-mirror:
Home >> Lexus >> 2002 >> ES 300 >> Repair and Diagnosis >> Body & Frame >> Power Windows >> Component Tests >> Remote Control Power Window Regulator By Master Switch >> Circuit Description

Circuit Description

NOTE: The power window system uses a large-scale body multiplex communications system. First of all, confirm the communication function and check that there is no abnormality in the communication system. Also if the power window system has a malfunction in the jam protection function, the power window AUTO UP/DOWN does not operate and a diagnosis code is recorded. Confirm the diagnosis code.

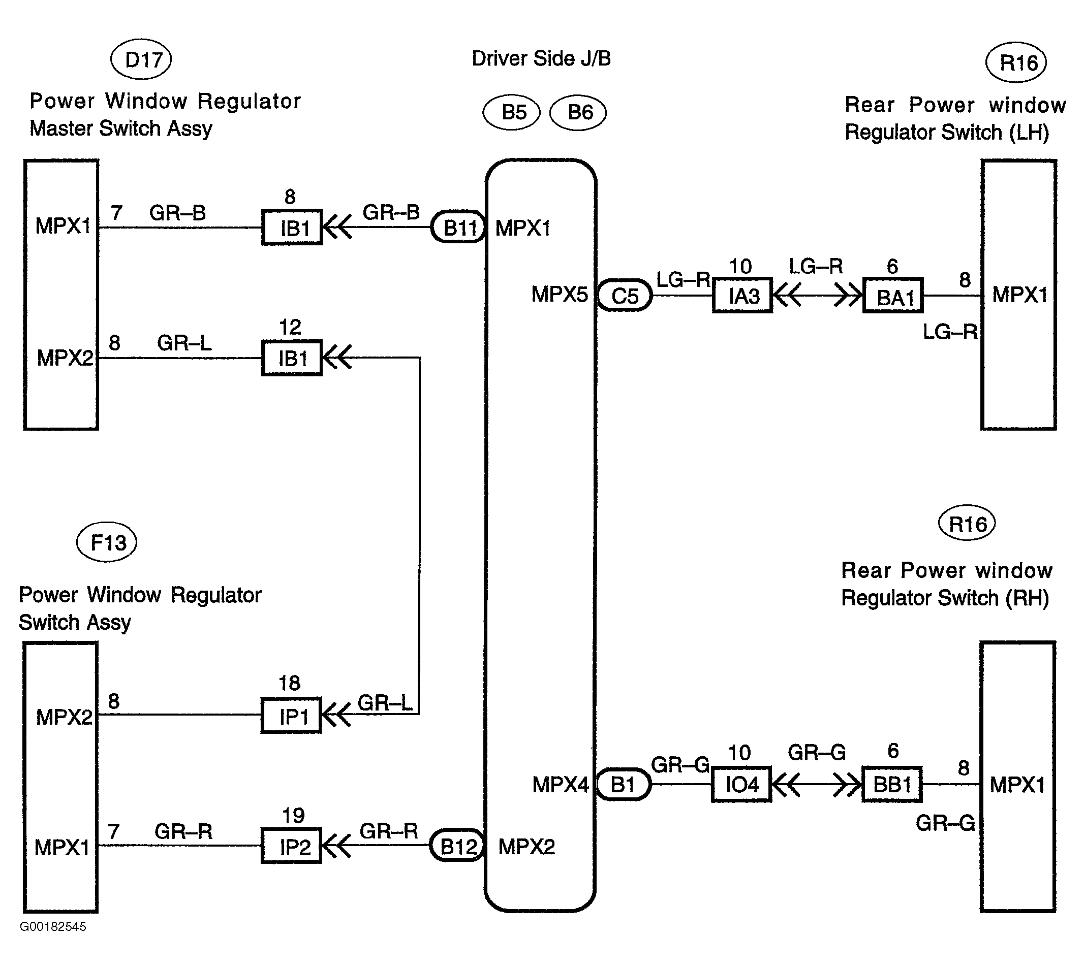
When the ignition switch is ON, the master switch (door ECU) sends to the passenger's door ECU for multiply a remote switch signal. Then the passenger's door ECU drives the power window motor for the passenger door. The master switch (door ECU) signals body ECU and to the left hand and right hand rear window regulator switches for multiply a remote switch signal. Then the left hand power window regulator switch drives the left hand power window motor and the right hand power window regulator switch drives the right hand power window motor. See Fig 1.

Fig 1: Inspecting Remote Control Power Window Regulator Circuit
G00182545Courtesy of © TOYOTA, LICENSE AGREEMENT TMS1002