lemon-mirror:
Home >> Lexus >> 2002 >> GS 430 >> Repair and Diagnosis >> Body & Frame >> Body, Cab Control Systems >> Body Control Systems >> Circuit Tests >> Key Unlock Warning Switch Circuit >> Inspection Procedure

Inspection Procedure

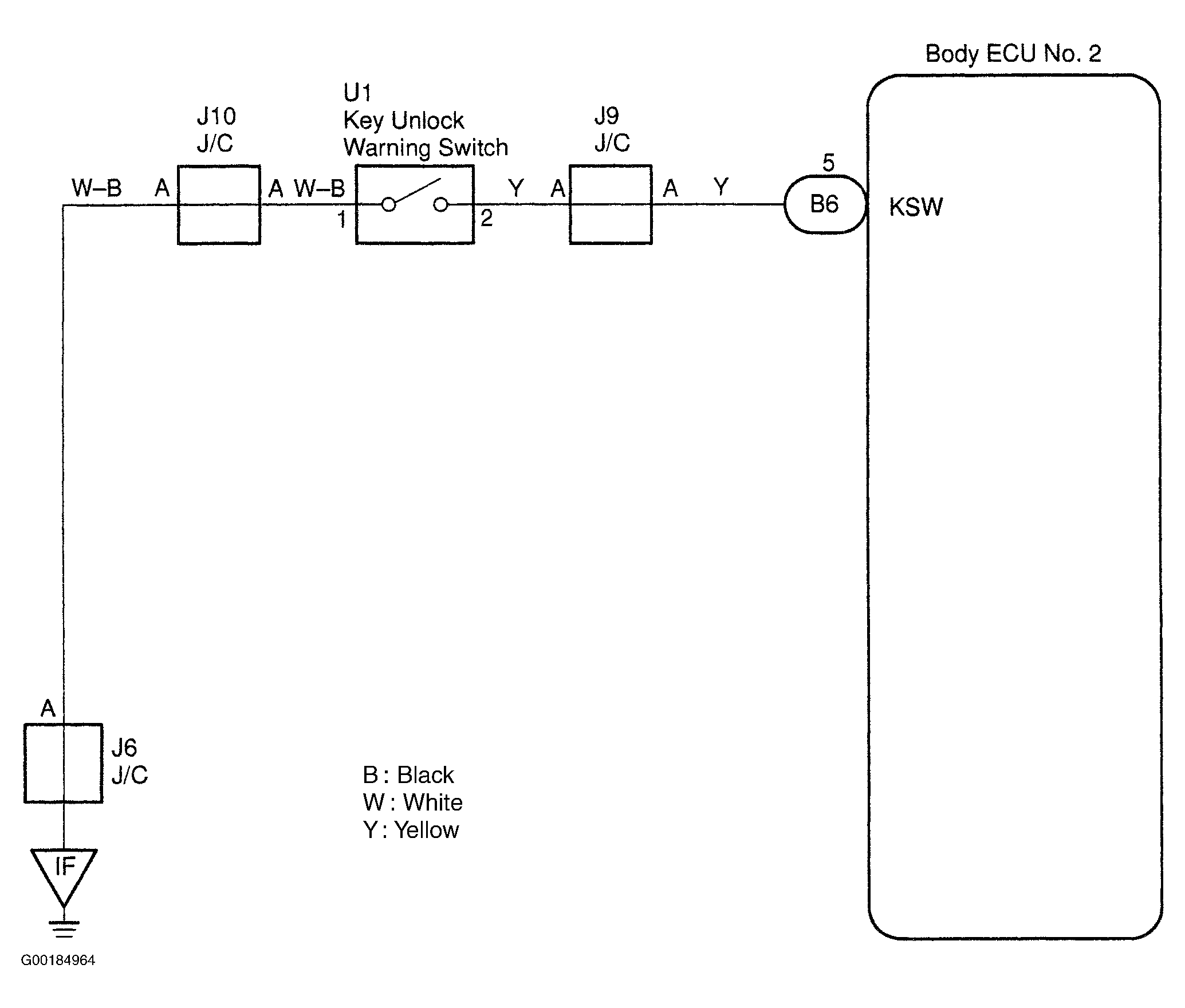
For circuit wiring diagram, see Fig 1.

NOTE: If using the hand-held tester, start the inspection from step  1 and if not using the hand-held tester, start from step  2.
  1. Check the key unlock warning switch using the hand-held tester. Connect the hand-held tester to DLC3. See Figure. Check the key unlock switch using DATA LIST. If the results are OK, go to the next step. If the results are not OK, perform the next test procedure of the problem symptom. See BODY ECU NO. 1 PROBLEM SYMPTOM INDEX  table.
  2. Check the key unlock warning switch. See KEY UNLOCK WARNING SWITCH article under COMPONENT TESTS in STEERING COLUMN SWITCHES. If the results are OK, go to the next step. If the results are not OK, replace the key unlock warning switch.
  3. Check for short to power, short to ground and continuity in the wiring harness and connector between the key unlock warning switch and body ECU No. 2. If the results are OK, perform the next test procedure of the problem symptom. See BODY ECU NO. 1 PROBLEM SYMPTOM INDEX  table. If the results are not OK, repair or replace the wiring harness or connector.
Fig 1: Key Unlock Warning Switch Circuit Wiring Diagram
G00184964Courtesy of © TOYOTA, LICENSE AGREEMENT TMS1002