lemon-mirror:
Home >> Lexus >> 2002 >> LS 430 >> Repair and Diagnosis >> Body & Frame >> Seats >> Front Seat >> Disassembly

Front Seat: Disassembly

  1. REMOVE FRONT SEAT UNDER TRAY 

    Remove the 4 screws and front seat under tray.

  2. REMOVE FRONT SEAT UNDER TRAY RAIL 
  3. REMOVE POWER SEAT SWITCH KNOBS 
  4. REMOVE SEAT POSITION SENSOR ASSEMBLY 

    Remove the bolt and seat position sensor assembly.

    Fig 1: Removing Seat Position Sensor Assembly
    G03150697Courtesy of © TOYOTA, LICENSE AGREEMENT TMS1002
  5. REMOVE FRONT SEAT CUSHION SHIELD 

    Remove the 4 screws and front seat cushion shield.

    Fig 2: Removing Front Seat Cushion Shield
    G03150698Courtesy of © TOYOTA, LICENSE AGREEMENT TMS1002
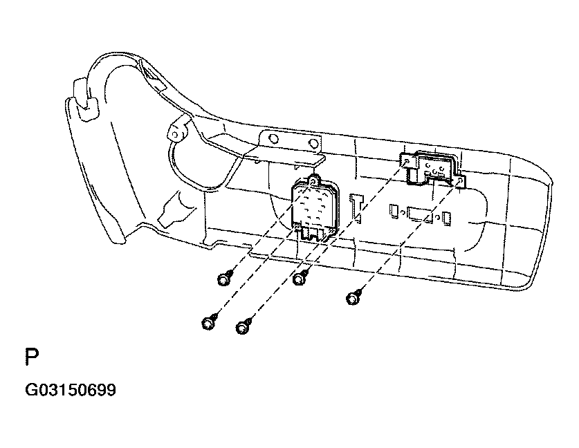
  6. REMOVE SEAT CUSHION SWITCH AND POWER LUMBER SUPPORT SWITCH 
    1. Disconnect the connectors.
    2. Remove the 2 screws and seat cushion switch.
    3. Remove the 3 screws and power lumber support switch.
      Fig 3: Removing Seat Cushion Switch & Power Lumber Support Switch
      G03150699Courtesy of © TOYOTA, LICENSE AGREEMENT TMS1002
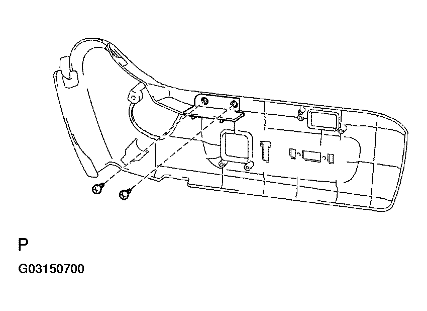
  7. REMOVE FRONT SEAT HINGE COVER 

    Remove the 2 screws and front seat hinge cover.

    Fig 4: Removing Front Seat Hinge Cover
    G03150700Courtesy of © TOYOTA, LICENSE AGREEMENT TMS1002
  8. REMOVE FRONT SEAT INNER BELT 

    Remove the nut and front seat inner belt.

  9. REMOVE FRONT SEAT CUSHION INNER SHIELD 

    Remove the 3 screws and front seat cushion inner shield.

    Fig 5: Removing Front Seat Cushion Inner Shield
    G03150701Courtesy of © TOYOTA, LICENSE AGREEMENT TMS1002
  10. REMOVE FRONT SEAT CUSHION FRONT SHIELD 
    1. Remove the 4 screws.
    2. Slide the front seat cushion front shield forward to remove it.
    3. Fig 6: Removing Front Seat Cushion Front Shield
      G03150702Courtesy of © TOYOTA, LICENSE AGREEMENT TMS1002
  11. REMOVE POWER SEAT SWITCH 
  12. REMOVE FRONT SEATBACK BOARD 
    1. Remove the 2 screws.
    2. Remove the front seatback board as shown in Fig 7.
    3. Fig 7: Removing Front Seatback Board
      G03150703Courtesy of © TOYOTA, LICENSE AGREEMENT TMS1002
  13. REMOVE SEATBACK ASSEMBLY 
    1. Climate control seat:

      Remove the 3 screws and disconnect the air duct.

    2. Disconnect the connectors and disengage the clamps.
    3. Remove the 4 bolts and seatback assembly.
  14. REMOVE HEADREST 

    Remove the headrest from the seatback assembly.

  15. REMOVE HEADREST SUPPORTS 
  16. REMOVE SEATBACK FRAME 
    1. Remove the bolt and seat cover hook.
    2. Remove the seatback frame from the seatback cover with pad.
      NOTE: Do not damage the side AIRBAG assembly.
      Fig 8: Removing Seat Back Frame
      G03150704Courtesy of © TOYOTA, LICENSE AGREEMENT TMS1002
  17. REMOVE SEATBACK COVER 

    Remove the hog rings and seatback cover from the seatback pad.

    Fig 9: Removing Seatback Cover
    G03150705Courtesy of © TOYOTA, LICENSE AGREEMENT TMS1002
  18. REMOVE HEADREST ADJUSTER 
    1. Disengage the connector clamps.
    2. Remove the 3 bolts and headrest adjuster from the seat-back frame.
      Fig 10: Removing Headrest Adjuster
      G03150706Courtesy of © TOYOTA, LICENSE AGREEMENT TMS1002
  19. Climate control seat: REMOVE AIR DUCT 

    Remove the 2 screws, bracket and air duct from the seatback frame.

    Fig 11: Removing Air Duct
    G03150707Courtesy of © TOYOTA, LICENSE AGREEMENT TMS1002
  20. REMOVE LUMBER SUPPORT ADJUSTER 
    1. Remove the 2 bolts, lumber support adjuster and spacer.
      Fig 12: Removing Lumber Support Adjuster
      G03150708Courtesy of © TOYOTA, LICENSE AGREEMENT TMS1002
    2. Employ the same manner described above to the other side.
  21. Climate control seat: REMOVE AIR RESERVOIR ASSEMBLY 
    1. Disengage the seat cushion cover hook.
    2. Disconnect the connectors and disengage the connector clamps.
    3. Remove the bolt and air reservoir duct.
      Fig 13: Removing Air Reservoir Duct
      G03150709Courtesy of © TOYOTA, LICENSE AGREEMENT TMS1002
  22. REMOVE LOWER SEAT CUSHION SHIELD 

    Remove the 4 nuts and lower seat cushion shield.

    Fig 14: Removing Lower Seat Cushion Shield
    G03150710Courtesy of © TOYOTA, LICENSE AGREEMENT TMS1002
  23. REMOVE SEAT CUSHION ASSEMBLY 

    Remove the 4 bolts and seat cushion assembly.

  24. REMOVE SEAT CUSHION FRAME 

    Disengage the seat cushion cover hook, then remove the seat cushion frame from the seat cushion cover with pad.

  25. REMOVE SEAT CUSHION COVER 

    Remove the hog rings and seat cushion cover from the seat cushion pad.

    Fig 15: Removing Seat Cushion Cover
    G03150711Courtesy of © TOYOTA, LICENSE AGREEMENT TMS1002
  26. REMOVE RECLINING ADJUSTER INSIDE COVER 
    1. Remove the screw and reclining adjuster inside cover.
      Fig 16: Removing Reclining Adjuster Inside Cover
      G03150712Courtesy of © TOYOTA, LICENSE AGREEMENT TMS1002
    2. Employ the same manner described above to the other side.
  27. REMOVE POWER RECLINING ADJUSTER ASSEMBLY 

    Using a Torx socket wrench, remove the 4 Torx screws and power reclining adjuster assembly.

    Torx socket wrench: T40 (Part No. 09042-00020 or locally manufactured tool) 

    Fig 17: Removing Power Reclining Adjuster Assembly
    G03150713Courtesy of © TOYOTA, LICENSE AGREEMENT TMS1002
  28. REMOVE RECLINING MOTOR 
    1. Remove the 2 bolts and reclining motor assembly.
    2. Remove the 2 screws and reclining motor from the bracket.
      Fig 18: Removing Reclining Motor
      G03150714Courtesy of © TOYOTA, LICENSE AGREEMENT TMS1002
  29. REMOVE TILT MOTOR 

    Remove the 2 screws and tilt motor.

  30. REMOVE LIFTER MOTOR 

    Remove the 2 screws and lifter motor.

    Fig 19: Removing Lifter Motor
    G03150715Courtesy of © TOYOTA, LICENSE AGREEMENT TMS1002
  31. REMOVE NO. 1 SEAT CUSHION PLATE 

    Remove the 2 bolts and No. 1 seat cushion plate.

    Fig 20: Removing Seat Cushion Plate
    G03150716Courtesy of © TOYOTA, LICENSE AGREEMENT TMS1002
  32. REMOVE SEAT CUSHION SPRING 
  33. REMOVE FRONT SEAT TRAVEL NO. 1 LINK 
    1. Remove the bolt and front seat travel No. 1 link.
      Fig 21: Removing Front Seat Travel No. 1 Link
      G03150717Courtesy of © TOYOTA, LICENSE AGREEMENT TMS1002
    2. Employ the same manner described above to the other side.
  34. REMOVE SLIDE MOTOR 

    Remove the 2 screws and slide motor.

  35. REMOVE SEAT CUSHION SLIDE MOTOR 

    Remove the 2 screws and seat cushion slide motor.

    Fig 22: Removing Seat Cushion Slide Motor
    G03150718Courtesy of © TOYOTA, LICENSE AGREEMENT TMS1002