lemon-mirror:
Home >> Lexus >> 2002 >> LS 430 >> Repair and Diagnosis >> External Pages >> Different car >> Section 545 (Window Defogger System) >> Inspection

Section 545 (Window Defogger System): Inspection

WARNING: This page is about a different car, the 2004 Lexus LS 430. However, it is still accessible from the selected car via links, so may be relevant.
  1. INSPECT OUTER REAR VIEW MIRROR ASSY LH 
    1. Apply battery voltage and check operation of the mirror heater.

      OK: 

      MEASUREMENT CONDITION SPECIFICATIONS

      Measurement Condition Specified Condition
      Battery positive (+) --> Terminal R39-4 (HTR+)
      Battery negative (-) --> Terminal R39-12 (HTR-)
      Mirror becomes warm

      If the result is not as specified, replace the mirror assy.

      Fig 1: Applying Battery Voltage And Checking Operation Of Mirror Heater (1 Of 2)
      G03514126Courtesy of © TOYOTA, LICENSE AGREEMENT TMS1002
  2. INSPECT OUTER REAR VIEW MIRROR ASSY RH 
    1. Apply battery voltage and check operation of the mirror heater.

      OK: 

      MEASUREMENT CONDITION SPECIFICATIONS

      Measurement Condition Specified Condition
      Battery positive (+) --> Terminal R40-4 (HTR+)
      Battery negative (-) --> Terminal R40-12 (HTR-)
      Mirror becomes warm

      If the result is not as specified, replace the mirror assy.

      Fig 2: Applying Battery Voltage And Checking Operation Of Mirror Heater (2 Of 2)
      G03514127Courtesy of © TOYOTA, LICENSE AGREEMENT TMS1002
  3. INSPECT BACK WINDOW (DEFOGGER WIRE) 
    NOTE:
    • When cleaning the glass, wipe the glass along the wire using a soft and dry cloth. Take care not to damage the wires.
    • Do not use detergents or glass cleaners that have abrasive ingredients.
    • When measuring voltage, wrap a piece of tin foil around the tip of the negative tester probe and press the foil against the wire with your finger, as shown in the illustration.
    Fig 3: Wrapping Piece Of Tin Foil Around Tip Of Negative Tester Probe And Press Foil
    G03514128Courtesy of © TOYOTA, LICENSE AGREEMENT TMS1002
    1. Turn the ignition switch ON.
    2. Turn the defogger switch ON.
    3. Check the voltage at the center of each defogger wire, as shown in the illustration.

      Standard: 

      VOLTAGE CRITERIA

      Voltage Criteria
      Approx. 5 V Wire is not broken
      Approx. 10 or V Wire is broken
      Fig 4: Checking Voltage At Center Of Each Defogger Wire
      G03514129Courtesy of © TOYOTA, LICENSE AGREEMENT TMS1002

      HINT:

      If there is approximately 10 V, the wire may be faulty between the center of the wire and the wire end on the battery side. If there is no voltage, the wire may be faulty between the center of the wire and the wire end on the ground side.

    4. Place the voltmeter's positive (+) lead against the defogger wire on the battery side.
    5. Place the voltmeter's negative (-) lead with the foil strip against the wire on the ground side.
    6. Slide the positive (+) lead from the battery side to the ground side.
    7. The point where the voltage jumps from approximately 10 V to 0 V is where the defogger wire is broken.
      Fig 5: Placing Voltmeter'S Positive (+) Lead Defogger Wire On Battery Side
      G03514130Courtesy of © TOYOTA, LICENSE AGREEMENT TMS1002

      HINT:

      If the defogger wire is not broken, the voltmeter should indicate 0 V at the positive (+) end of the defogger wire but gradually increases to approximately 12 V as the meter probe moves to the other end.

    8. If necessary, repair the defogger wire.
      1. Clean the broken wire tips with grease, wax and silicone remover.
      2. Place the masking tape along both sides of the wire.
      3. Thoroughly mix the repair agent (DuPont paste No. 4817 or equivalent).
        Fig 6: Placing Masking Tape Along Both Sides Of Wire
        G03514131Courtesy of © TOYOTA, LICENSE AGREEMENT TMS1002
      4. Using a fine tip brush, apply a small amount of the agent to the wire.
      5. After a few minutes, remove the masking tape.
        NOTE: Do not repair the defogger wire again for at least 24 hours.
        Fig 7: Applying Small Amount Of Agent To Wire Using Fine Tip Brush
        G03514132Courtesy of © TOYOTA, LICENSE AGREEMENT TMS1002
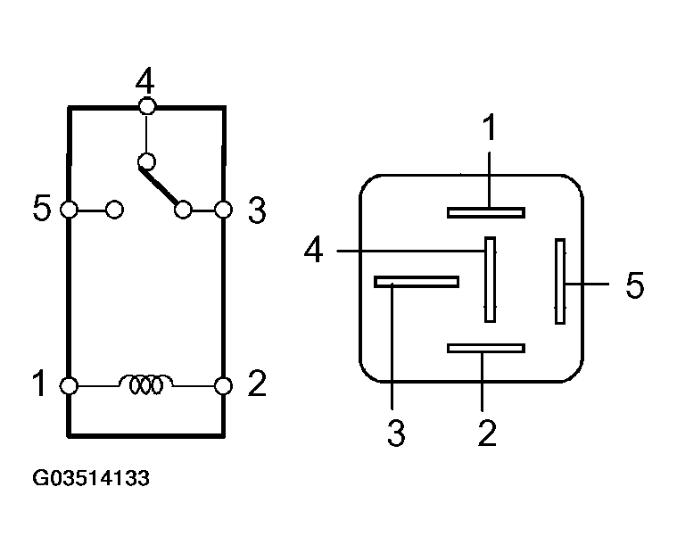
  4. INSPECT RELAY (DEFOG) 
    1. Remove the DEFOG relay from the engine room R/B No. 2.
    2. Measure the resistance.

      Standard: 

      TESTER CONDITION SPECIFICATIONS

      Tester Condition Specified Condition
      3 - 4 Below 1 Ω
      3 - 5 10 kΩ or higher
      3 - 5 Below 1 Ω (when battery voltage is applied to terminals 1 and 2)

      If the result is not as specified, replace the relay.

      Fig 8: Measuring Resistance
      G03514133Courtesy of © TOYOTA, LICENSE AGREEMENT TMS1002