lemon-mirror:
Home >> Lexus >> 2002 >> LX 470 >> Repair and Diagnosis >> Body & Frame >> Power Windows >> Connector Identification

Connector Identification

Fig 1: Identifying Instrument ECU (Body ECU) Connector Terminals
G00208705Courtesy of © TOYOTA, LICENSE AGREEMENT TMS1002
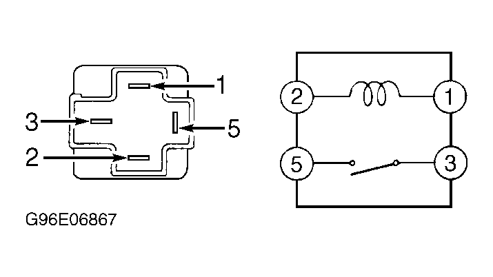
Fig 2: Identifying Power Main Relay Terminals
G96E06867Courtesy of © TOYOTA, LICENSE AGREEMENT TMS1002
Fig 3: Identifying Power Rear Quarter Window Switch Connector Terminals
G96I06869Courtesy of © TOYOTA, LICENSE AGREEMENT TMS1002
Fig 4: Identifying Power Vent Window Motor Connector Terminals
G00213070Courtesy of © TOYOTA, LICENSE AGREEMENT TMS1002
Fig 5: Identifying Power Window Master Switch Connector Terminals
G00020354Courtesy of © TOYOTA, LICENSE AGREEMENT TMS1002
Fig 6: Identifying Power Window Motor Connector Terminals
G98I10833Courtesy of © TOYOTA, LICENSE AGREEMENT TMS1002
Fig 7: Identifying Power Window Switch Connector Terminals
G99D50750Courtesy of © TOYOTA, LICENSE AGREEMENT TMS1002