lemon-mirror:
Home >> Lexus >> 2002 >> LX 470 >> Repair and Diagnosis >> Electrical >> Gauges >> Instrument Panel >> Connector Identification

Connector Identification

Fig 1: Identifying Brake Fluid Level Warning Switch Connector Terminals
G00213014Courtesy of © TOYOTA, LICENSE AGREEMENT TMS1002
Fig 2: Identifying Combination Meter Connector Terminals
G98A03739Courtesy of © TOYOTA, LICENSE AGREEMENT TMS1002
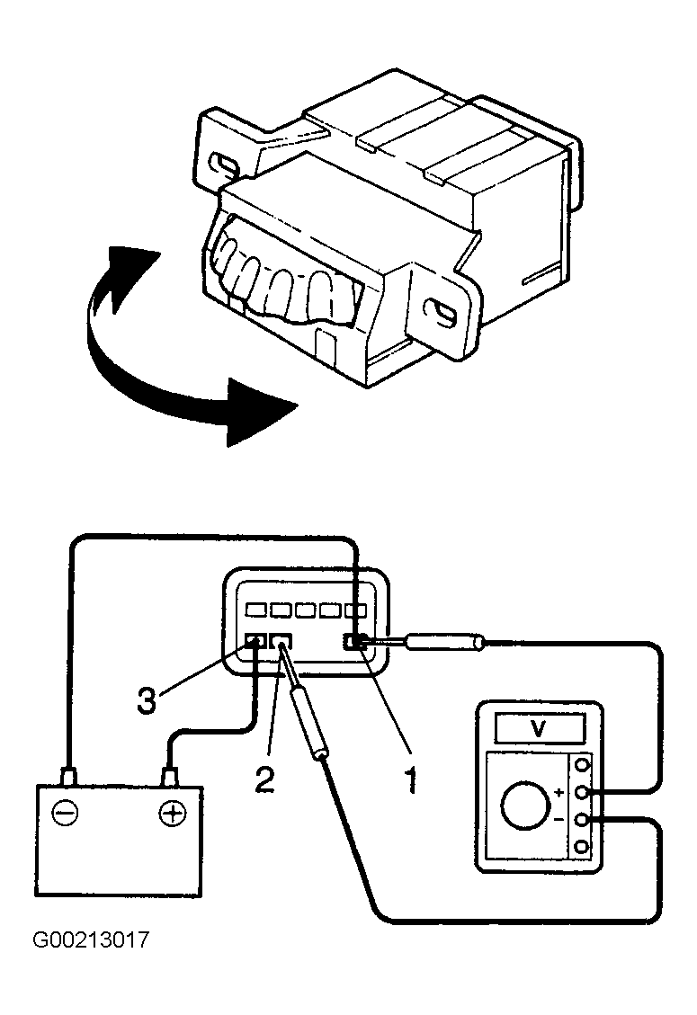
Fig 3: Identifying Light Control Rheostat Connector Terminals
G00213017Courtesy of © TOYOTA, LICENSE AGREEMENT TMS1002
Fig 4: Identifying Parking Brake Switch Connector Terminals
G00201912Courtesy of © TOYOTA, LICENSE AGREEMENT TMS1002
Fig 5: Identifying Seat Belt Buckle Switch Connector Terminals
G00213015Courtesy of © TOYOTA, LICENSE AGREEMENT TMS1002