lemon-mirror:
Home >> Lexus >> 2003 >> GS 430 >> Repair and Diagnosis >> Body & Frame >> Mirrors >> Power Mirror Control System >> Inspection >> W/ Driving Position Memory Only:

W/ Driving Position Memory Only:

INSPECT MIRROR POSITION SENSORS OPERATION 

HINT:

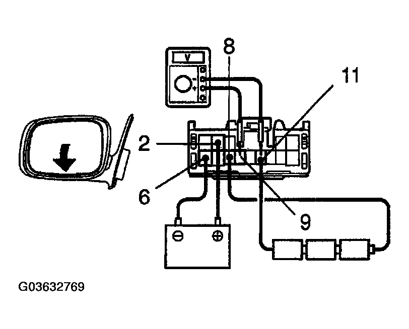
Strip off the vinyl tape of the connector and remove terminals 1, 2, 6, 8, 9, 10 and 11 from the connector housing.

  1. Connect a series of three 1.5 V dry cell batteries.
  2. Connect the positive (+) lead from the dry cell batteries to terminal 8 and the negative (-) lead to terminal 11.
  3. Connect the positive (+) lead from the voltmeter to terminal 9 and the negative (-) lead to terminal 11.
  4. Apply battery positive voltage to terminals 2 and 6, then check that the voltage gradually changes according to the table below while the mirror moves between the uppermost position and lowermost position.
    MIRROR POSITION SENSORS POSITIONS

    Mirror position Lowermost Mirror position Uppermost
    Voltage 2.8-5.0 Changes gradually 0-1.8

    If voltage value is not as specified, replace the motor assembly.

    Fig 1: Inspecting Mirror Position Sensors Operation (W/ Driving Position Memory Only) (1 Of 3)
    G03632769Courtesy of © TOYOTA, LICENSE AGREEMENT TMS1002
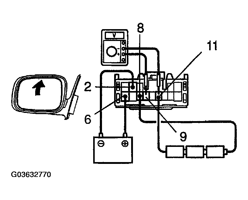
    Fig 2: Inspecting Mirror Position Sensors Operation (W/ Driving Position Memory Only) (2 Of 3)
    G03632770Courtesy of © TOYOTA, LICENSE AGREEMENT TMS1002
  5. Disconnect the 4 leads of the battery and voltmeter.
  6. Connect the positive (+) lead from the voltmeter to terminal 10 and negative (-) lead to terminal 11.
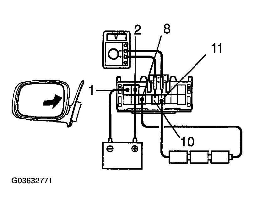
  7. Apply battery positive voltage to terminals 1 and 2, then inspect that the voltage gradually changes according to the table below while the mirror moves between the leftmost position and right-most position.
Fig 3: Inspecting Mirror Position Sensors Operation (W/ Driving Position Memory Only) (3 Of 3)
G03632771Courtesy of © TOYOTA, LICENSE AGREEMENT TMS1002
MIRROR POSITION AND VOLTAGE

Mirror position Left-most Mirror position Right-most
Voltage LEFT 2.8-5.0 Changes gradually 0-1.8
Voltage RIGHT 0-1.8 Changes gradually 2.8-5.0

If voltage value is not as specified, replace the motor assembly.



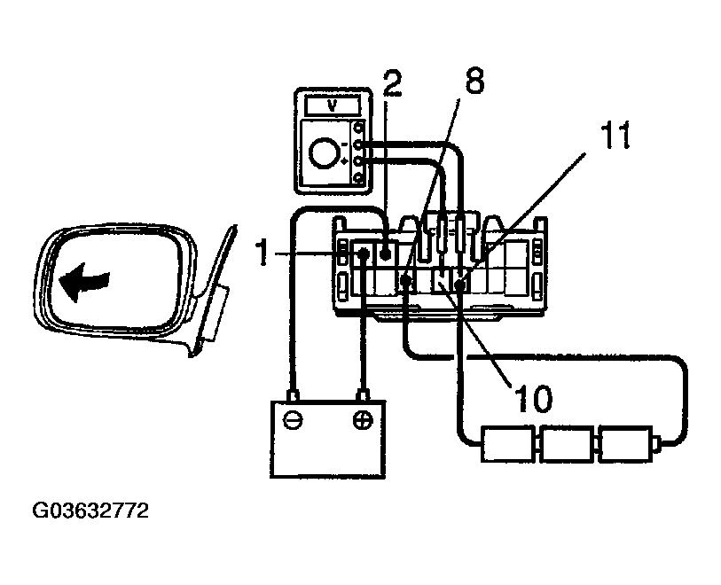
INSPECT MIRROR POSITION SENSORS CIRCUIT 

Left side: (See  MIRROR POSITION SENSOR CIRCUIT (W/ MEMORY)  ) 

Right side (See  MIRROR POSITION SENSOR CIRCUIT (W/ MEMORY)  ) 

Fig 1: Inspecting Mirror Position Sensors Circuit
G03632772Courtesy of © TOYOTA, LICENSE AGREEMENT TMS1002