lemon-mirror:
Home >> Lexus >> 2003 >> GS 430 >> Repair and Diagnosis >> Electrical >> Horns >> Horn System >> Inspection

Horn System: Inspection

  1. INSPECT HORN SWITCH 
    1. Disconnect the negative (-) terminal from the battery.
    2. Remove the left and right covers from the steering wheel.
    3. Using a Torx socket wrench, loosen the 2 bolts.
    4. Pull up the horn pad and place it on the steering column, as shown.

      HINT:

      Do not disconnect the connector from the horn pad.

    5. Disconnect the connector from the slip ring.
      Fig 1: Inspecting Horn Switch
      G03598847Courtesy of © TOYOTA, LICENSE AGREEMENT TMS1002
    6. Check that no continuity exists between terminal 6 of the connector and body ground.
    7. Check that continuity exists between terminal 6 of the connector and body ground when the horn contact plate is pressed against the steering spoke assembly.

      If continuity is not as specified, repair or replace the steering wheel or wire harness as necessary.

      Fig 2: Inspecting Horn Switch Continuity
      G03598848Courtesy of © TOYOTA, LICENSE AGREEMENT TMS1002
    8. Install the horn pad in place and using a Torx socket wrench, torque the 2 bolts.

      Torque: 7.1 N.m (72 kgf.cm, 62 in..lbf) 

    9. Install the left and right covers.
    10. Connect the negative (-) terminal to the battery.
  2. INSPECT HORN OPERATION 

    Connect the positive (+) lead from the battery to the terminal and negative (-) lead to the horn body and check that the horn blows.

    If operation is not as specified, replace the horn.

  3. INSPECT HORN SWITCH CIRCUIT (See HORN CIRCUIT  ) 
    Fig 3: Inspecting Horn Operation
    G03598849Courtesy of © TOYOTA, LICENSE AGREEMENT TMS1002
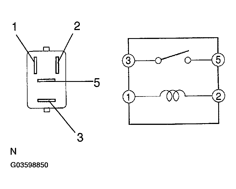
  4. INSPECT HORN RELAY CONTINUITY 
    HORN RELAY CONTINUITY

    Condition Tester connection Specified condition
    Constant 1 - 2 Continuity
    Apply B+ between terminals 1 and 2. 3 - 5 Continuity

    If continuity is not as specified, replace the relay.

  5. INSPECT HORN RELAY CIRCUIT 

    (See  INSPECT ENGINE ROOM NO. 1 JUNCTION BLOCK C  ) 

    Fig 4: Inspecting Horn Relay Continuity
    G03598850Courtesy of © TOYOTA, LICENSE AGREEMENT TMS1002