lemon-mirror:
Home >> Lexus >> 2003 >> LS 430 >> Repair and Diagnosis >> Electrical >> Gauges >> Clock >> Troubleshooting >> Problem No.2

Problem No.2

  1. 2. CLOCK LOSES OR GAINS TIME 
    1. Check that the battery voltage is 10 - 16 V.

      If voltage is not as specified, replace the battery.

    2. Inspect the error of the clock.

      Allowable error (per day): +/- 2.0 seconds 

      If the error exceeds the allowable error, replace the clock assembly.

    3. Check if the clock adjusting button is sticking in position and has failed to return.
    4. Troubleshoot the clock as follows.

      HINT:

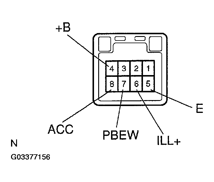
      Inspect the connector on the wire harness side.

      Fig 1: Identifying Clock Connector Terminals
      G03377156Courtesy of © TOYOTA, LICENSE AGREEMENT TMS1002
      Fig 2: Troubleshooting Flow Chart
      G03377157Courtesy of © TOYOTA, LICENSE AGREEMENT TMS1002