lemon-mirror:
Home >> Lexus >> 2003 >> LS 430 >> Repair and Diagnosis >> External Pages >> Different car >> Section 147 (Multiplex Communication System) >> Self-Diagnostic System >> Pre-Check

Self-Diagnostic System: Pre-Check

WARNING: This page is about a different car, the 2003 Lexus GS 430, 2003 Lexus GS 300, 2002 Lexus GS 430, and 2002 Lexus GS 300. However, it is still accessible from the selected car via links, so may be relevant.
  1. Diagnosis System - 
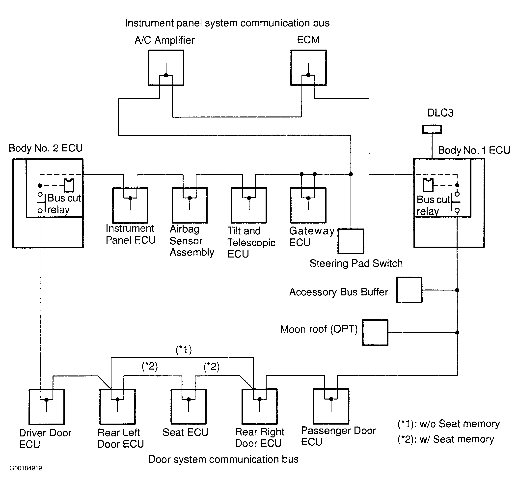
    • Each ECU of this vehicle is connected by communication bus and it transmits each signal by communication. See Fig 1. This communication bus is self-diagnosed by body ECU No. 1 and it memorizes DTC when it detects communication stop to ECU or communication bus +B (battery voltage) short or GND short. There is a possibility that body ECU No. 1 cannot self-diagnose accurately unless it doesn't work normal. So note that the troubleshooting of the body electrical system should be done after confirming if the body ECU No. 1 and open door indicator works normal by the Basic Inspection. See step  2.
    • If a DTC of ECU communication stop is output, there is a possibility of connector disconnection or 2 communication buses open. See Fig 2. It will not become abnormal with only 1 communication bus open.
    • If 2 communication buses are open at the position, DTC of ECU communication stop between those 2 buses is output. See Fig 3.
  2. Basic Inspection - 
    • Inspect body ECU No. 1 operation. With this inspection, body ECU No. 1 Central Processing Unit (CPU) can be diagnosed if it works normal or not. Check if the luggage compartment door opener works normal. If the results are OK, go to step  3. If the results are not good, go to the next step.
    • Check the luggage compartment door opener system (except body ECU No. 1). See POWER DOOR LOCKS, TRUNK LID & FUEL DOOR RELEASE article under DOOR LOCKS & ANTI-THEFT SYSTEMS in ACCESSORIES & EQUIPMENT. If the results are OK, replace the body ECU No. 1. See BODY ECU NO. 1  under REMOVAL & INSTALLATION. If the results are not good, repair or replace the malfunction part.
  3. OPEN DOOR Indicator Light Inspection -  Check if the open door indicator light is turned on when either door is open. If the open door indicator light is not turned on, a DTC will not be output. If the results are OK, retrieve DTCs using the OPEN DOOR indicator light. See USING OPEN DOOR INDICATOR LIGHT  under RETRIEVING DIAGNOSTIC TROUBLE CODES. If the results are not good, repair the open door indicator light. See INSTRUMENT PANEL article in ACCESSORIES & EQUIPMENT.
Fig 1: Identifying Communication Bus & Body ECUs System Diagram
G00184919Courtesy of © TOYOTA, LICENSE AGREEMENT TMS1002
Fig 2: Identifying ECU Communication Stop DTC
G00184920Courtesy of © TOYOTA, LICENSE AGREEMENT TMS1002
Fig 3: Identifying 2 Open Communication Buses
G00184921Courtesy of © TOYOTA, LICENSE AGREEMENT TMS1002