lemon-mirror:
Home >> Lexus >> 2003 >> LS 430 >> Repair and Diagnosis >> External Pages >> Different car >> Section 328 (Power Window Control System) >> Power Window Control System >> Inspection

Power Window Control System: Inspection

WARNING: This page is about a different car, the 2002 Toyota Sequoia. However, it is still accessible from the selected car via links, so may be relevant.
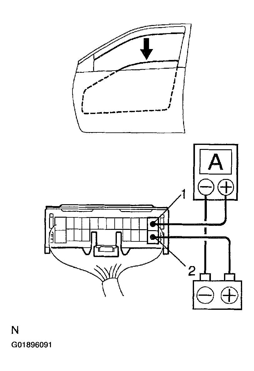
  1. Inspect one-touch power window system current of circuit (Using an ammeter)  :
    1. Disconnect the connector from the master switch.
    2. Connect the positive (+) lead from the ammeter to terminal 1 on the wire harness side connector and the negative (-) lead to negative (-) terminal of the battery.
      Fig 1: Testing One-Touch Power Window System
      G01896091Courtesy of © TOYOTA, LICENSE AGREEMENT TMS1002
    3. Connect the positive (+) lead from the battery to terminal 2 on the wire harness side connector.
    4. As the window goes down, check that the current flow is approximately 7 amps.
    5. NOTE: The PTC opens about 4 - 90 seconds after the window stops going down, so that check must be made before the PTC operates.
    6. Check that the current increases up to approximately 14.5 amps or more when the window stops going down.

      If the operation is not as specified, replace the master switch.

  2. Inspect rear door power window switch continuity  :
    Fig 2: Testing Rear Door Power Window Switch
    G01896093Courtesy of © TOYOTA, LICENSE AGREEMENT TMS1002
    Fig 3: Rear Door Power Window Switch Specifications
    G01896092Courtesy of © TOYOTA, LICENSE AGREEMENT TMS1002

    If continuity is not as specified, replace the switch.

  3. INSPECT POWER WINDOW SWITCH CIRCUIT 
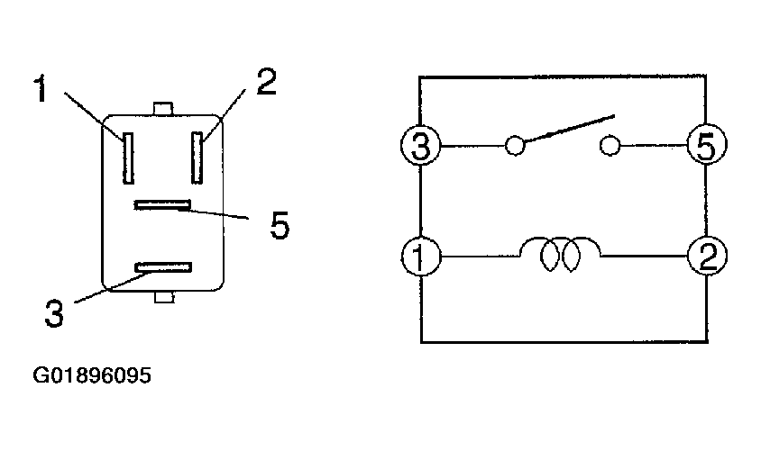
  4. Inspect power main relay continuity  :
    Fig 4: Locating Power Main Relay Terminals
    G01896095Courtesy of © TOYOTA, LICENSE AGREEMENT TMS1002
    Fig 5: Power Main Relay Specifications
    G01896094Courtesy of © TOYOTA, LICENSE AGREEMENT TMS1002

    If continuity is not as specified, replace the switch.

  5. NOTE: Since the jam protection may not work properly be sure to conduct procedures described in HOW TO RESET POWER WINDOW MOTOR (RESET SWITCH AND PULSE SWITCH) .
  6. Driver's door  : Inspect power window motor operation:
    1. Connect the positive (+) lead from the battery terminal 1 and the negative (-) lead to terminal 2, and check that the motor turns clockwise.
      Fig 6: Testing Driver's Door Power Window Motor (1 Of 2)
      G01896096Courtesy of © TOYOTA, LICENSE AGREEMENT TMS1002
    2. Reverse the polarity, check that the motor turns counter clockwise
      Fig 7: Testing Driver's Door Power Window Motor (2 Of 2)
      G01896097Courtesy of © TOYOTA, LICENSE AGREEMENT TMS1002

      If operation is not as specified, replace the power window motor.

  7. NOTE: Since the jam protection may not work properly be sure to conduct procedures described in HOW TO RESET POWER WINDOW MOTOR (RESET SWITCH AND PULSE SWITCH) .
  8. Passenger's door  : Inspect power window motor operation:
    1. Connect the positive (+) lead from the battery to terminal 1 and the negative (-) lead to terminal 2, and check that the motor turns clockwise.
      Fig 8: Testing Passenger's Door Power Window Motor (1 Of 2)
      G01896098Courtesy of © TOYOTA, LICENSE AGREEMENT TMS1002
    2. Reverse the polarity, check that the motor turns counter clockwise.
      Fig 9: Testing Passenger's Door Power Window Motor (2 Of 2)
      G01896099Courtesy of © TOYOTA, LICENSE AGREEMENT TMS1002

      If operation is not as specified, replace the power window motor.

  9. Rear right door  : Inspect power window motor operation:
    1. Connect the positive (+) lead from the battery to terminal 1 and the negative (-) lead to terminals 2, check that the motor turns clockwise.
      Fig 10: Testing Rear Right Door Power Window Motor (1 Of 2)
      G01896100Courtesy of © TOYOTA, LICENSE AGREEMENT TMS1002
    2. Reverse the polarity, check that the motor turns counter-clockwise.
      Fig 11: Testing Rear Right Door Power Window Motor (2 Of 2)
      G01896101Courtesy of © TOYOTA, LICENSE AGREEMENT TMS1002

      If operation is not as specified, replace the power window motor.

  10. Rear left door  : Inspect power window motor operation:
    1. Connect the positive (+) lead from the battery to terminal 1 and the negative (-) lead to terminal 2, check that the motor turns clockwise.
      Fig 12: Testing Rear Left Door Power Window Motor (1 Of 2)
      G01896102Courtesy of © TOYOTA, LICENSE AGREEMENT TMS1002
    2. Reverse the polarity, check that the motor turns counter-clockwise.
      Fig 13: Testing Rear Left Door Power Window Motor (1 Of 2)
      G01896103Courtesy of © TOYOTA, LICENSE AGREEMENT TMS1002

      If operation is not as specified, replace the power window motor.

  11. Front door  : Inspect PTC operation:
    1. Disconnect the connector from the wire harness side connector.
    2. Connect the negative (-) lead from the ammeter to terminal 1 of the motor side connector and the positive (+) lead to negative terminal of the battery.
      Fig 14: Testing Front Door PTC Operation (1 Of 2)
      G01896104Courtesy of © TOYOTA, LICENSE AGREEMENT TMS1002
    3. Connect the positive (+) lead from the battery to terminal 2 of the motor side connector, and raise the window to the fully closed position.
    4. Continue to apply voltage, check that the current changes from approximately 14 A to less than 1 A within 4 to 90 seconds.
    5. Disconnect the leads from terminals.
    6. Approximately 90 seconds later, connect the positive (+) lead from the battery to terminal 1 and the negative (-) lead to terminal 2, check that the window begins to descend.
      Fig 15: Testing Front Door PTC Operation (1 Of 2)
      G01896105Courtesy of © TOYOTA, LICENSE AGREEMENT TMS1002

      If operation is not as specified, replace the power window motor.

  12. Rear door  : Inspect PTC operation:
    1. Disconnect the connector from the wire harness side connector.
    2. Connect the negative (-) lead from the ammeter to terminal 1 of the motor side connector and the positive (+) lead to negative terminal of the battery.
      Fig 16: Testing Rear Door PTC Operation (1 Of 2)
      G01896106Courtesy of © TOYOTA, LICENSE AGREEMENT TMS1002
    3. Connect the positive (+) lead from the battery to terminal 2 of the motor side connector, and raise the window to the fully closed position.
    4. Continue to apply voltage, check that the current changes from approximately 14 amps to less than 1 amp within 4 to 90 seconds.
    5. Disconnect the leads from terminals.
    6. Approximately 90 seconds later, connect the positive (+) lead from the battery to terminal 1 and the negative (-) lead to terminal 2, check that the window begins to descend.
      Fig 17: Testing Rear Door PTC Operation (1 Of 2)
      G01896107Courtesy of © TOYOTA, LICENSE AGREEMENT TMS1002

      If operation is not as specified, replace the power window motor.

  13. WARNING: Never, ever be caught any part of your body when checking
  14. Inspect jam protection function  :

    In case of performing resetting of the limit switch, do checking after repeating up and down of the glass with automatic operation.

    1. Confirmation of AUTO up operation, confirm that the window will be fully close with AUTO up operation.
    2. NOTE: In case of removing the glass, glass guide, regulator and etc. be sure to perform checking of the jam protection function. If the jam protection is not function properly, adjust power window motor reset switch and pulse switch.
    3. Checking of the operation of the jam protection function:
      1. Move up the window with AUTO up operation and check that the window will go down when it touches the inserted handle of the hammer.
      2. Confirm that the window will then stop going down about 200 mm.