lemon-mirror:
Home >> Lexus >> 2003 >> LS 430 >> Repair and Diagnosis >> External Pages >> Different car >> Section 384 (Power Window Control System) >> Power Window Control System >> Power Window Control System Inspection >> (5) - Inspect Power Main Relay Continuity

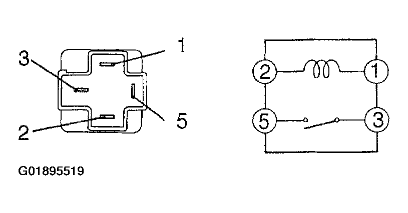
(5) - Inspect Power Main Relay Continuity

WARNING: This page is about a different car, the 2002 Toyota Prius. However, it is still accessible from the selected car via links, so may be relevant.
Fig 1: Identifying Power Main Relay Terminals
G01895519Courtesy of © TOYOTA, LICENSE AGREEMENT TMS1002
Fig 2: Power Main Relay Terminal Specifications
G01895518Courtesy of © TOYOTA, LICENSE AGREEMENT TMS1002

If continuity is not as specified, replace the relay.