lemon-mirror:
Home >> Lexus >> 2003 >> LX 470 >> Repair and Diagnosis >> Body & Frame >> Windows >> Power Window Control System >> Inspection

Power Window Control System: Inspection

  1. INSPECT POWER WINDOW MASTER SWITCH CIRCUIT 

    Check the voltage and continuity of each terminal of the wire harness side connector.

    Fig 1: Identifying Window Master Switch Wire Harness Side Connector
    G03375546Courtesy of © TOYOTA, LICENSE AGREEMENT TMS1002
    SPECIFIED CONDITION

    Tester connection Condition Specified condition
    2 (GND) - Body ground Constant Continuity
    10(BDR)-2(GND) Constant 10-14V
    9 (CPUB) - 2 (GND) Constant 10-14V
    20 (SIG) - 2 (GND) Ignition switch OFF --> ON 0V -->10-- 14V
    1 (UP)-11 (DN) Constant Continuity
    5(LMT)-13(SGND) Driver door glass fully closed No continuity
    Driver door glass opened by 4 mm (1.06in.) Continuity

    If the circuit is not as specified, inspect the circuits connected to other parts.

  2. INSPECT POWER WINDOW SWITCH CIRCUIT 

    Check the voltage and continuity of each terminal of the wire harness side connector.

    Fig 2: Identifying Power Window Switch Wire Harness Side Connector
    G03375547Courtesy of © TOYOTA, LICENSE AGREEMENT TMS1002
    SPECIFIED CONDITION

    Tester connection Condition Specified condition
    7 (GND) - Body ground Constant Continuity
    12(BDR)-7(GND) Constant 10-14V
    6 (UP) - 1 (DN) Constant Continuity
    3(LMT)-5(SGND) Driver door glass fully closed No continuity
    Driver door glass opened by 4 mm (1.06in.) Continuity
    9-Body ground Always (Front RH side only) Continuity
    10-Body ground Always (Rear LH side only) Continuity

    If the circuit is not as specified, inspect the circuits connected to other parts.

  3. Driver's door and rear right door: INSPECT POWER WINDOW MOTOR OPERATION 
    1. Connect the battery positive (+) lead to terminal 1 and the battery negative (-) lead to terminal 4, and check that the motor turns counterclockwise.
      Fig 3: Checking That The Motor Turns Counterclockwise
      G03375548Courtesy of © TOYOTA, LICENSE AGREEMENT TMS1002
    2. Reverse the polarity, and check that the motor turns clockwise.

    If operation is not as specified, replace the motor.

    Fig 4: Checking Motor Turns Clockwise
    G03375549Courtesy of © TOYOTA, LICENSE AGREEMENT TMS1002
  4. Passenger's door and rear left door: INSPECT POWER WINDOW MOTOR OPERATION 
    1. Connect the battery positive (+) lead to terminal 4 and the battery negative (-) lead to terminal 1, and check that the motor turns clockwise.
      Fig 5: Checking That The Motor Turns Counterclockwise
      G03375550Courtesy of © TOYOTA, LICENSE AGREEMENT TMS1002
    2. Reverse the polarity, and check that the motor turns counterclockwise.

    If operation is not as specified, replace the motor.

    Fig 6: Checking Motor Turns Counter Clockwise
    G03375551Courtesy of © TOYOTA, LICENSE AGREEMENT TMS1002
  5. INSPECT POWER WINDOW MOTOR PTC THERMISTOR OPERATION 
    1. Disconnect the connector from the power window motor.
    2. Connect the ammeter positive (+) lead to terminal 1 on the wire harness side connector and the ammeter negative (-) lead to negative terminal of the battery.
    3. Connect the battery positive (+) lead to terminal 4 on the wire harness side connector, and raise the window to the fully position.
      Fig 7: Disconnecting Connector From Power Window Motor
      G03375552Courtesy of © TOYOTA, LICENSE AGREEMENT TMS1002
    4. Continue to apply voltage and check that the current changes to less than 1 A within 4 to 90 seconds.
    5. Disconnect the leads from the terminals.
    6. Approximately 60 seconds later, connect the battery positive (+) lead to terminal 1 and the battery negative (-) lead to terminal 4, and check that the window begins to descend.

    If operation is not as specified, replace the motor.

    Fig 8: Connecting Battery Positive (+) Lead To Terminal 1 & Battery Negative (-) Lead To Terminal 4
    G03375553Courtesy of © TOYOTA, LICENSE AGREEMENT TMS1002
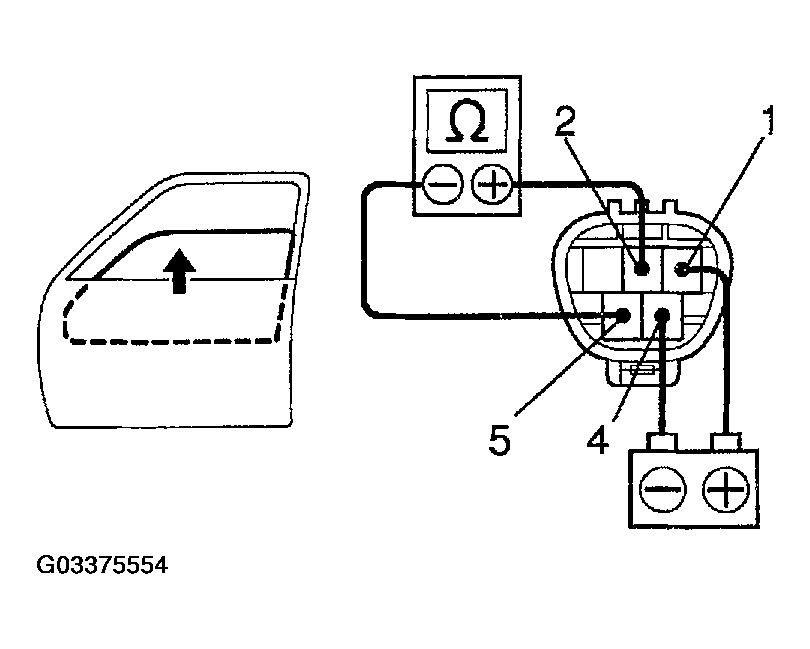
  6. INSPECT JAM PROTECTION LIMIT SWITCH OPERA- 
    1. Connect the ohmmeter positive (+) lead to terminal 2 and the ohmmeter negative (-) lead to terminal 5.
    2. Connect the battery positive (+) lead to terminal 1 and the battery negative (-) lead to terminal 4.
    3. Check that the continuity exists when the window goes up.
      Fig 9: Checking Continuity Exists When Window Goes Up
      G03375554Courtesy of © TOYOTA, LICENSE AGREEMENT TMS1002
    4. Check that no continuity exists when the window is in the fully closed position.

    If operation is not as specified, replace the motor.

    NOTE: If connecting the wire harness wrongly, the sensor might be damaged, so caution is necessary. 
    Fig 10: Checking No Continuity Exists When Window Is In Fully Closed Position
    G03375555Courtesy of © TOYOTA, LICENSE AGREEMENT TMS1002
  7. INSPECT JAM PROTECTION PULSE SWITCH OPERATION 
    1. Connect the TOYOTA electrical tester positive (+) lead to terminal 3 and the TOYOTA electrical tester negative (-) lead to terminal 5.
    2. Connect the battery positive (+) lead to terminal 1 and the battery negative (-) lead to terminal 4.
    3. Check that pulse is generated during the motor running.
      Fig 11: Checking Pulse Is Generated During Motor Running
      G03375556Courtesy of © TOYOTA, LICENSE AGREEMENT TMS1002
    4. Reverse the polarity and check that pulse is generated.

    If operation is not as specified, replace the motor.

    NOTE: If connecting the wire harness wrongly, the sensor might be damaged, so caution is necessary. 
    Fig 12: Checking That Pulse Is Generated
    G03375557Courtesy of © TOYOTA, LICENSE AGREEMENT TMS1002
  8. INSPECT JAM PROTECTION FUNCTION 
    NOTE: Be careful that any part of your body Is not to be caught when checking. 

    HINT:

    In the case of resetting the limit switch, perform checking after repeating up and down of the glass with automatic operation.

    1. Confirmation of AUTO up operation:

      Confirm that the window to be fully closed with AUTO up operation.

    2. Checking of the operation of the jam protection function:
      1. Move up the window with AUTO up operation and check that the window goes down when it touches the handle of the hammer handle.
      2. Confirm that the window stops going down at about 200 mm.

      HINT:

      In the case of removing the glass, glass guide, regulator and etc., be sure to perform checking on the jam protection function. If the jam protection does not function properly, adjust the power window motor reset switch and the pulse switch.