lemon-mirror:
Home >> Lexus >> 2003 >> LX 470 >> Repair and Diagnosis >> Electrical >> Gauges >> Combination Meter >> Inspection

Combination Meter: Inspection

  1. INSPECT COMBINATION METER CIRCUIT 

    Connect the connector "A", "B", "C" and "D" to the combination meter and inspect the wire harness side connectors from the back side as shown in the table.

    Fig 1: Inspecting Combination Meter Circuit
    G03375505Courtesy of © TOYOTA, LICENSE AGREEMENT TMS1002
    SPECIFIED CONDITION

    Tester connection Condition Specified condition
    A1 (CHG+) - Ground Ignition switch OFF Below 1 V
    Ignition switch ON 10-14V
    A4 (BEAM-) - Ground Ignition switch ON, light control switch ON Below 1 V
    A5 (TURN-R) - Ground Ignition switch ON and turn signal switch OFF or LEFT Below 1 V
    Ignition switch ON and turn signal switch RIGHT 10-14V
    A6 (BEAM+) - Ground Ignition switch ON, light control switch OFF Below 1 V
    Ignition switch ON, light control switch ON 10-14V
    A7 (TURN-L) - Ground Ignition switch ON and turn signal switch OFF or RIGHT Below 1 V
    Ignition switch ON and turn signal switch LEFT 10-14V
    A8 (DOOR-) - Ground Either door is opened Below 1 V
    Either door is closed 10-14V
    A11 (HEAD LIGHT+) - Ground Ignition switch ON, light control switch OFF Below 1 V
    Ignition switch ON, light control switch ON 10-14V
    A19 (ABS)-Ground Ignition switch ON and ABS warning light comes on Below 1 V
    Ignition switch ON and ABS warning light does not come on 10-14V
    A20 (WASHER)-Ground Ignition switch ON and window washer level warning switch float UP Below 1 V
    Ignition switch ON and window washer level warning switch float DOWN 10-14V
    B1 (CHECK E/G) - Ground Ignition switch ON and engine is stopped Below 1 V
    Ignition switch ON and engine is running 10-14V
    B4 (CTR DIFF/4WD) - Ground Ignition switch ON and center diff. lock switch OFF Below 1 V
    B4 (CTR DIFF/4WD) - Ground Ignition switch ON and center diff. lock switch ON Battery positive voltage
    B5 (SLIP) - Ground Ignition switch ON, SLIP warning light ON Below 1.5 V
    Ignition switch ON, SLIP warning light OFF 10-14V
    B6 (VSC TRC) - Ground Ignition switch ON, off road TRC indicator light ON Below 1.5 V
    Ignition switch ON, off road TRC indicator light OFF 10-14V
    B7 (VSC OFF)-Ground Ignition switch ON, VSC OFF indicator light ON Below 1.5 V
    Ignition switch ON, VSC OFF indicator light OFF 10-14V
    B8 (ACTIVE TRC) - Ground Ignition switch ON, TRC OFF indicator light ON Below 1.5 V
    Ignition switch ON, TRC OFF indicator light OFF 10-14V
    B9 (RSCA OFF) - Ground Ignition switch ON, RSCA warning light ON Below 2.0 V
    Ignition switch ON, RSCA warning light OFF 10-14V
    B12 (Fr DIFF)-Ground Ignition switch ON and front diff. lock switch OFF Below 1 V
    B12 (Fr DIFF)-Ground Ignition switch ON and front diff. lock switch ON Battery positive voltage
    B13 (Rr DIFF)-Ground Ignition switch ON and rear diff. lock switch OFF Below 1 V
    B13 (Rr DIFF)-Ground Ignition switch ON and rear diff. lock switch ON Battery positive voltage
    B18 (ILL+) - Ground Ignition switch OFF Below 1 V
    Ignition switch ON 10-14V
    C1 (T/M PULSE) - Ground Engine is Running Pulse generation
    C4 (OIL PRS SDR)-Ground Ignition switch ON and indicator ON Below 1 V
    Ignition switch ON and indicator OFF 10-14V
    C7 (AIR BAG-) - Ground Ignition switch ON and ABS indicator light lights up Below 1 V
    C7 (AIR BAG-)-Ground Ignition switch ON and ABS indicator does not come on 10-14V
    C11 (BRAKE) - Ground Ignition switch ON and indicator ON Below 1 V
    Ignition switch ON and indicator OFF 10-14V
    C13 (PKB SW)-Ground Ignition switch ON and parking brake lever is pulled Below 1 V
    Ignition switch ON and parking brake lever is released 10-14V
    C19 (ABS BZ)-Ground Ignition switch ON and ABS is error 10-14V
    Ignition switch ON and ABS is normal Below 1 V
    C20 (D-BKL SW) - Ground Ignition switch ON and seat belt is unfastened Below 1 V
    Ignition switch ON and seat belt is fastened 10-14V
    D1 (IGN+) - Ground Ignition switch OFF Below 1 V
    Ignition switch ON 10-14V
    D2 (ECU-B2) - Ground Always 10-14V
    D3 (ACC+) - Ground Ignition switch OFF Below 1 V
    Ignition switch ACC or ON 10-14V
    D4 (DOOR+) - Ground Always 10-14V
    D5 (SPIN)-Ground Ignition switch ON and slowly move the wheel Pulse signal is output below 1.5 V <--> battery positive voltage
    D6 (4P OUT) - Ground Ignition switch ON and slowly move the wheel Pulse signal is output below 1.5 V <--> approx. 5 V or below 1.5 V o battery positive voltage
    D7 (NIGHT VIEW) - Ground Ignition switch ON, remove night view projector bulb and night view system operating Below 1V
    D11 (E/G EARTH)-Ground Always Continuity
    D12 (MAIN FE)-Ground Always Continuity
    D14 (MAIN FV)-Ground Ignition switch ON 4.5-5.5 V
    D16 (MAIN FR)-Ground Ignition switch ON and fuel sender gauge float UP Approx. 0.5 V
    Ignition switch ON and fuel sender gauge float DOWN Approx. 5.5 V
    D17 (ILL-)-Ground Ignition switch ON and light control rheostat volume minimum Below 1 V
    Ignition switch ON and light control rheostat volume maximum 10-14V
    D19 (KEY SW)-Ground Key unlock warning switch ON (Key is inserted) Below 1 V
    Key unlock warning switch OFF (Key is removed) 10-14V
    D20 (D-CTY SW) - Ground Ignition switch ON and driver door is opened Below 1 V
    Ignition switch ON and driver door is closed 10-14V

    If circuit is not as specified, and inspect the circuits connected to other parts.

  2. INSPECT SPEEDOMETER/ON-VEHICLE 

    Using a speedometer tester, inspect the speedometer for allowable indication error and check the operation of the odometer.

    HINT:

    Tire wear and tire over-or under-inflation will widen the indication error range.

    CANADA AND TAIWAN (KM/H)

    USA (mph) CANADA and TAIWAN (km/h)
    Standard indication Allowable range Standard indication Allowable range
    20 18-24 20 17-24
    40 38-44 40 38-46
    60 56-66 60 57.5 - 67
    80 78-88 80 77-88
    100 98-110 100 96-109
    120 118-132 120 115-130
    140 134-151.5    
    160 153-173    

    If the error exceeds the allowable range, replace the speedometer.

  3. INSPECT SPEEDOMETER VOLTAGE 

    While driving the vehicle at the speed of 10 km/h, check the voltage between the terminal 6 and 11 of the combination meter assy.

    1. STANDARD: Fluctuation between 10 V to 14 V or less is repeated 7 times within 1 sec. 
    Fig 2: Identifying Voltage Between Terminal 6 & 11 Of Combination Meter Assy
    G03375506Courtesy of © TOYOTA, LICENSE AGREEMENT TMS1002
  4. INSPECT VEHICLE SPEED SENSOR OPERATION 
    1. Connect the battery positive (+) lead to terminal 1 and the battery negative (-) lead to terminals.
    2. Connect the tester positive (+) lead to terminal 3 and the tester negative (-) lead to terminal 2.
    3. Rotate the shaft.
    4. Check that there is voltage change from approx. 0V to 11 V or more between terminals 2 and 3.
    Fig 3: Identifying Terminal
    G03375507Courtesy of © TOYOTA, LICENSE AGREEMENT TMS1002

    HINT:

    The voltage change should be performed 4 times for every revolution. If it doesn't, replace the sensor.

  5. INSPECT TACHOMETER/ON-VEHICLE 
    1. Connect a tune-up test tachometer, and start the engine.
      NOTE:
      • Reversing the connection of the tachometer will damage the transistors and the diodes inside. 
      • When removing or installing the tachometer, be careful not to drop it or give it heavy shocks. 
    2. Compare the tester and the tachometer indications.

    DC13.5V25°C at (77°F): 

    RANGE SPECIFICATION

    Standard indication Allowable range
    700 617 - 757
    1,000 (881)-(1,081)
    2,000 (1,837)-(2,087)
    3,000 2,793-3,093
    4,000 (3,775) - (4,075)
    5,000 4,756-5,058
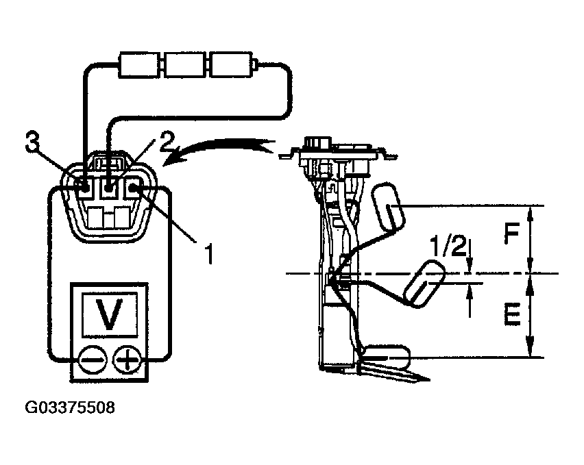
  6. INSPECT FUEL SENDER GAUGE VOLTAGE 
    1. Apply voltage between terminal 2 and 3.
    2. Measure voltage between terminal 1 and 2 for each floating position.
    VOLTAGE SPECIFICATION

    Float position mm (in.) Voltage (V)
    F: Approx. 85.3 (3.36) Approx. 4.6 +/- 0.1
    1/2: Approx. 1.7 (0.67) Approx. 2.45 +/- 0.1
    E: Approx. 91.9 (3.62) Approx. 0.3 +/- 0.1

    If voltage value is not as specified, replace the sender gauge.

    Fig 4: Measuring Voltage Between Terminal 1 & 2 For Each Floating Position
    G03375508Courtesy of © TOYOTA, LICENSE AGREEMENT TMS1002
  7. INSPECT ENGINE COOLANT TEMPERATURE RECEIVER GAUGE OPERATION 
    1. Disconnect the connector from the sender gauge.
    2. Turn the ignition switch ON and check that the receiver gauge needle indicates COOL.
      Fig 5: Inspecting Engine Coolant Temperature Receiver Gauge Operation
      G03375509Courtesy of © TOYOTA, LICENSE AGREEMENT TMS1002
    3. Ground terminal on the wire harness side connector through a 3.4-W test bulb.
    4. Turn the ignition switch ON, and check that the bulb comes on and the receiver gauge needle moves to the hot side.

    If operation is as specified, replace the sender gauge.

    Then recheck the system.

    If operation is not as specified, measure the receiver gauge resistance.

    Fig 6: Identifying Engine Coolant Temperature Gauge
    G03375510Courtesy of © TOYOTA, LICENSE AGREEMENT TMS1002
  8. INSPECT ENGINE COOLANT TEMPERATURE SENDER GAUGE RESISTANCE 

    Connect the wire harness as shown in the illustration, and enter the value using the formula on the left. Check the resistance is within the values in the table below.

    RESISTANCE SPECIFICATION

    Temperature °C (°F) Resistance (Ω)
    50(122.0) 160-240
    120(248.0) 17.1-21.2

    If resistance value is not as specified, replace the engine coolant temperature sender gauge.

    Fig 7: Inspecting Engine Coolant Temperature Sender Gauge Resistance
    G03375511Courtesy of © TOYOTA, LICENSE AGREEMENT TMS1002
  9. INSPECT OIL PRESSURE RECEIVER GAUGE OPERATION 
    1. Disconnect the connector from the sender gauge.
    2. Turn the ignition switch ON and check that the receiver gauge needle indicates LOW.
      Fig 8: Inspecting Oil Pressure Receiver Gauge Operation
      G03375512Courtesy of © TOYOTA, LICENSE AGREEMENT TMS1002
    3. Ground terminal on the wire harness side through a 3.4 W test bulb.
    4. Turn the ignition switch ON and check that the bulb lights up and the receiver gauge needle moves to the HIGH side.

    If operation is not as specified, measure the receiver gauge resistance.

    Fig 9: Identifying Receiver Gauge
    G03375513Courtesy of © TOYOTA, LICENSE AGREEMENT TMS1002
  10. INSPECT OIL PRESSURE SENDER GAUGE OPERATION 
    1. Disconnect the connector from the sender gauge.
    2. Apply battery positive voltage to the sender gauge terminal through a test LED.
    3. Check that the bulb does not light when the engine is stopped.
    4. Check that the LED flashes when the engine is running. The number of flash should vary with engine speed.
    Fig 10: Inspecting Oil Pressure Sender Gauge Operation
    G03375514Courtesy of © TOYOTA, LICENSE AGREEMENT TMS1002
  11. INSPECT BRAKE WARNING LIGHT 
    1. Disconnect the connector from the brake fluid warning switch.
    2. Release the parking brake pedal.
    3. Connect the terminals on the wire harness side of the level warning switch connector.
    4. Start the engine, check that the warning light comes on.

    If the warning light does not come on, test the bulb or the wire harness.

    Fig 11: Inspecting Brake Warning Light
    G03375515Courtesy of © TOYOTA, LICENSE AGREEMENT TMS1002
  12. INSPECT BRAKE FLUID LEVEL WARNING SWITCH CONTINUITY 
    1. Remove the reservoir tank cap and the strainer.
    2. Disconnect the connector.
    3. Check that no continuity exists between the terminals with the switch OFF (float up).
    4. Use a siphon, etc. to take fluid out of the reservoir tank.
    5. Check that continuity exists between the terminals with the switch ON (float down)
    6. Pour the fluid back in the reservoir tank.

    If operation is not as specified, replace the switch.

    Fig 12: Disconnecting Connector
    G03375516Courtesy of © TOYOTA, LICENSE AGREEMENT TMS1002
  13. INSPECT PARKING BRAKE SWITCH CONTINUITY 
    1. Check that continuity exists between the terminal and the switch body with the switch ON (switch pin released).
    2. Check that no continuity exists between the terminal and the switch body with the switch OFF (switch pin pushed in).

    If operation is not as specified, replace the switch or inspect the grounding point.

    Fig 13: Inspecting Parking Brake Switch Continuity
    G03375517Courtesy of © TOYOTA, LICENSE AGREEMENT TMS1002
  14. INSPECT OPEN DOOR WARNING LIGHT 
    1. Disconnect the connector from the driver door courtesy switch, and ground terminal on the wire harness side connector.
    2. Turn the ignition switch ON and check that the warning light lights up.
  15. INSPECT SEAT BELT WARNING BUZZER 
    1. Disconnect the connector from the combination meter.
    2. Connect the battery positive (+) lead to terminal 2 and the battery negative (-) lead terminal 11.
    3. Check that the buzzer stop after 4 to 8 seconds.
    4. Check that buzzer stops when connecting the terminal 20 to the GND.
    Fig 14: Connecting Battery Positive (+) Lead To Terminal 2 & Battery Negative (-) Lead Terminal 11
    G03375518Courtesy of © TOYOTA, LICENSE AGREEMENT TMS1002
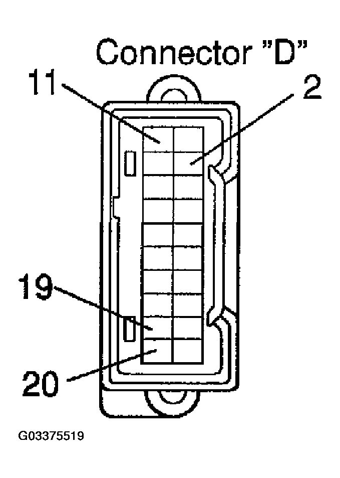
  16. INSPECT KEY UNLOCK WARNING BUZZER 
    1. Disconnect the connector from the combination meter.
    2. Connect the battery positive (+) lead to terminal 2 and the battery negative (-) lead to terminal 11.
    3. Connect the battery negative (-) lead to terminal 19 and 20, and check that the buzzer sound.
    Fig 15: Connecting Battery Negative (-) Lead To Terminal 19 & 20, & Check Buzzer Sound
    G03375519Courtesy of © TOYOTA, LICENSE AGREEMENT TMS1002
  17. INSPECT SEAT BELT WARNING LIGHT 
    1. Disconnect the connector from the seat belt buckle switch and ground terminal on the wire harness side connector.
    2. Turn the ignition switch ON and check that the warning light comes on.
  18. INSPECT SEAT BELT BUCKLE SWITCH CONTINUITY 
    TESTER CONNECTION SPECIFICATION

    Tester connection Belt fastened (Belt unfastened)
    Seat belt buckle SW (D) 1 - 4 ON (OFF)
    Seat belt buckle SW(P) 2-4 OFF (ON)

    If operation is not as specified, replace the switch.

    Fig 16: Inspecting Seat Belt Buckle Switch Continuity
    G03375520Courtesy of © TOYOTA, LICENSE AGREEMENT TMS1002
  19. INSPECT SEAT BELT BUCKLE SWITCH CIRCUIT 

    Disconnect the switch connector and inspect the connector on the wire harness side, as shown.

    Fig 17: Identifying Connector On Wire Harness Side
    G03375521Courtesy of © TOYOTA, LICENSE AGREEMENT TMS1002
    SPECIFIED CONDITION

    Tester connection Condition Specified condition
    4 - Ground Always Continuity

    If continuity is not as specified, inspect the circuits connected to other parts.

  20. Passenger seat only: INSPECT SEAT BELT WARNING OCCUPANT DETECTION SENSOR CONTINUITY 

    Check that continuity exists between the terminal 1 and 2 when pressing the sensing part.

    If operation is not as specified, replace the sensor.

    Fig 18: Inspecting Seat Belt Warning Occupant Detection Sensor Continuity
    G03375522Courtesy of © TOYOTA, LICENSE AGREEMENT TMS1002
  21. INSPECT LIGHT CONTROL RHEOSTAT 
    1. Turn the rheostat knob to OFF, and check that there is no continuity between terminal 5 and 4 (Rheostat knob turned fully counterclockwise).
    2. Gradually, turn the rheostat knob from the dark side to the bright side, and check that there is continuity between terminal 5 and 4 (Rheostat knob turned clockwise).

    If operation is not as specified, replace the rheostat.

  22. INSPECT INCLINATION SENSOR 
    1. With the combination meter in which the inclination sensor installed, connect the battery positive (+) lead to terminal 1 (IGN+) of the meter connector, and the battery negative (-) lead to terminal 11 (E/G EARTH).
    2. Check if the voltage is 5 V between terminal Vcc and GND of the inclination sensor connector.
    3. Check the voltage between terminal OUT and GND when the inclination sensor is in level position and when it is inclined backward and forward.

      Standard Value: 

      Sensor in level position about 4.5 V 

      Sensor inclined about 0.5 V 

    Fig 19: Inspecting Light Control Rheostat
    G03375523Courtesy of © TOYOTA, LICENSE AGREEMENT TMS1002
    Fig 20: Inspecting Inclination Sensor
    G03375524Courtesy of © TOYOTA, LICENSE AGREEMENT TMS1002
  23. INSPECT WINDOW WASHER LEVEL WARNING LIGHT 
    1. Disconnect the connector from the warning switch and ground terminal on the wire harness side connector.
    2. Run the engine and check that the warning light comes on.

    If the warning light does not come on, inspect the bulb or the wire harness.

    Fig 21: Identifying Wire Harness Side Connector
    G03375525Courtesy of © TOYOTA, LICENSE AGREEMENT TMS1002
  24. INSPECT WINDOW WASHER LEVEL WARNING SWITCH CONTINUITY 
    1. Check that no continuity exists between the terminals with the switch OFF (float up).
    2. Check that continuity exists between the terminals with the switch ON (float down).

    If operation is not as specified, replace the switch or inspect grounding point.

    Fig 22: Checking No Continuity Exists Between Terminals With Switch Off (Float Up)
    G03375526Courtesy of © TOYOTA, LICENSE AGREEMENT TMS1002