lemon-mirror:
Home >> Lexus >> 2003 >> LX 470 >> Repair and Diagnosis >> Suspension >> Electronic Suspension >> Control Valve Assembly >> Control Valve Assembly >> Components

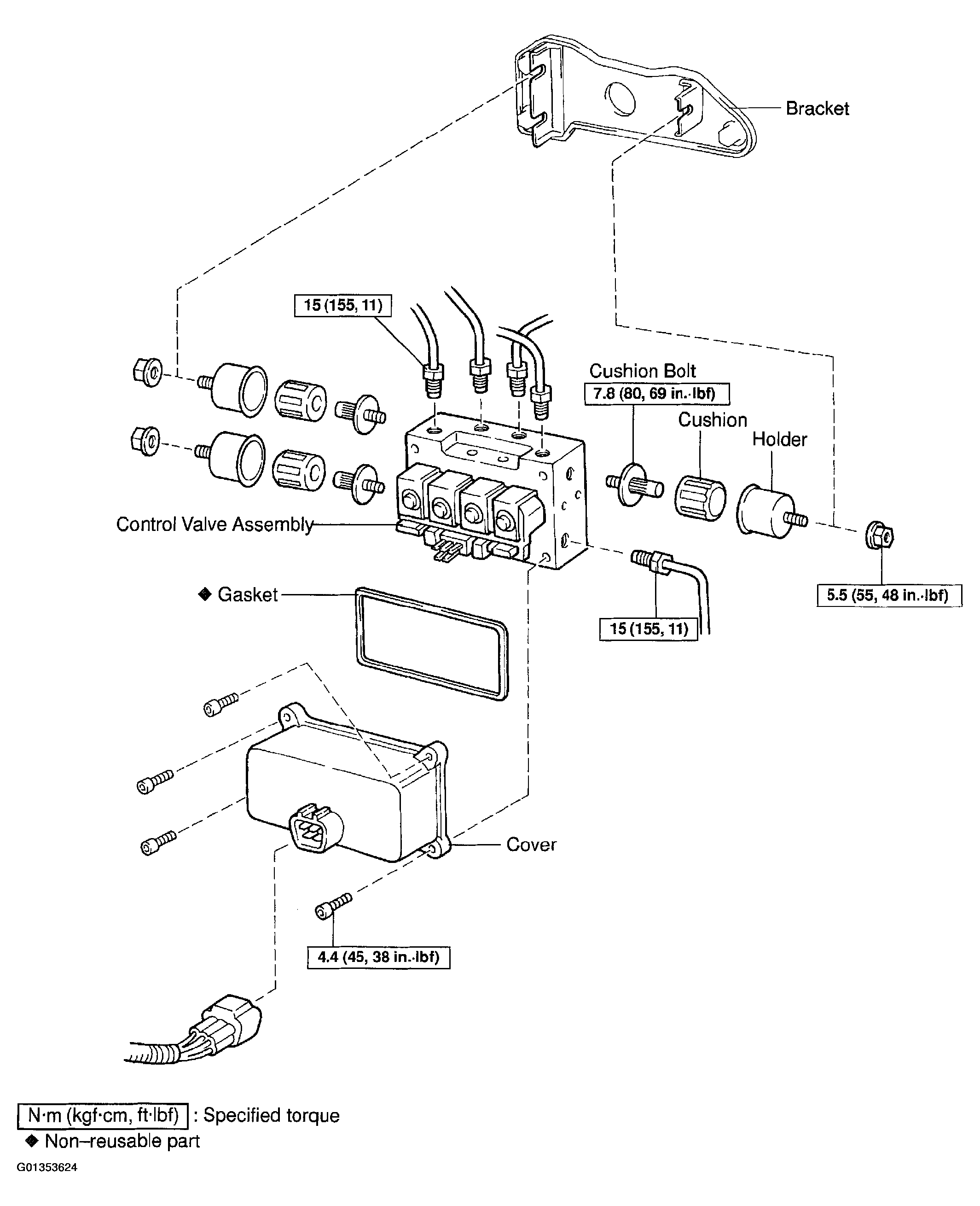
Control Valve Assembly: Components

Fig 1: Exploded View Of Control Valve Assembly Components
G01353624Courtesy of © TOYOTA, LICENSE AGREEMENT TMS1002