lemon-mirror:
Home >> Lexus >> 2003 >> LX 470 >> Repair and Diagnosis >> Transmission >> Automatic Trans >> ATF Temperature Sensor >> Valve Body Assembly >> On-Vehicle Repair

On-Vehicle Repair

  1. REMOVE ENGINE No. 2 UNDER COVER 
  2. DRAIN ATF 
    Fig 1: Removing Oil Pan
    G01352574Courtesy of © TOYOTA, LICENSE AGREEMENT TMS1002
  3. REMOVE OIL PAN 
    NOTE: Some fluid will remain in the oil pan. 
    1. Remove the 20 bolts.
    2. Remove the oil pan gasket.
    Fig 2: Examine Particles In Pan
    G01352575Courtesy of © TOYOTA, LICENSE AGREEMENT TMS1002
  4. EXAMINE PARTICLES IN PAN 

    Remove the magnets and use them to collect steel particles. Carefully look at the foreign matter and particles in the pan and on the magnets to anticipate the type of wear you will find in the transmission.

    Steel (magnetic)...bearing, gear and clutch plate wear Brass (non-magnetic)...bushing wear

    Fig 3: Removing Oil Strainer
    G01352576Courtesy of © TOYOTA, LICENSE AGREEMENT TMS1002
  5. REMOVE OIL STRAINER 

    Remove the 4 bolts, the oil strainer and the O-ring.

    NOTE: Be careful as some fluid will come out with the oil strainer. 
    Fig 4: Disconnecting Temperature Sensor
    G01352577Courtesy of © TOYOTA, LICENSE AGREEMENT TMS1002
  6. DISCONNECT TEMPERATURE SENSOR 
    1. Disconnect the 7 solenoid connectors.
    2. Remove 2 bolts and the 2 temperature sensors clamp from the valve body.
    3. Disconnect the 2 temperature sensor from the valve body.
  7. DISCONNECT 7 CONNECTORS FROM SHIFT SOLENOID VALVES 
  8. REMOVE VALVE BODY 
    1. Remove the 19 bolts and the valve body.
    2. Remove the 3 drum seal gaskets.
      Fig 5: Removing Valve Body
      G01352578Courtesy of © TOYOTA, LICENSE AGREEMENT TMS1002
  9. REMOVE SOLENOID VALVE 
    1. Remove the 2 bolts and the shift solenoid valve SR.
    2. Remove the 3 bolts and the shift solenoid valve S1 and S2.
    3. Remove the 2 bolts, 2 solenoid lock plates and the 4 straight pins.
    4. Remove the shift solenoid SL2 and the shift solenoid valve SLU.
    5. Remove the shift solenoid SL1 and the shift solenoid valve SLT.
    6. Remove the O-ring from the solenoid valve S2.
      Fig 6: Removing Solenoid Valve
      G01352579Courtesy of © TOYOTA, LICENSE AGREEMENT TMS1002
  10. INSTALL SOLENOID VALVE 
    1. Install a new O-ring to shift solenoid valve S2.
    2. Install the shift solenoid SL1 and the shift solenoid valve SLT.
    3. Install the shift solenoid SL2 and the shift solenoid valve SLU.
    4. Install the 4 straight pins and the 2 solenoid lock plates with the 2 bolts.

      Torque: 6.4 N.m (65 kgf.cm, 57 in.lbf) 

    5. Install the shift solenoid valve S1 and S2 with the 2 bolts.

      Torque: 10 N.m (102 kgf.cm, 7 ft.lbf) 

    6. Install the shift solenoid valve SR with the 2 bolts.

      Torque: 6.4 N.m (65 kgf.cm, 5.7 ft.lbf) 

      Fig 7: Aligning Groove Of Manual Valve With Pin Of Lever
      G01352580Courtesy of © TOYOTA, LICENSE AGREEMENT TMS1002
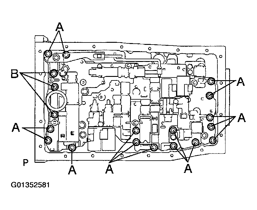
  11. INSTALL VALVE BODY 

    HINT:

    Align the groove of the manual valve with the pin of the lever,

    1. Install the 3 new drum seal gaskets to the transmission case.
    2. Install the 19 bolts and the valve body.

      Torque: 

      Bolt A.B: 11 N.m (110 kgf.cm, 8 ft.lbf) 

      Bolt length: 

      Bolt A: 25 mm (0.98 in.) 

      Bolt B: 36 mm (1.42 in.) 

      Fig 8: Installing Valve Body
      G01352581Courtesy of © TOYOTA, LICENSE AGREEMENT TMS1002
  12. CONNECT TEMPERATURE SENSOR 

    Connect the 2 temperature sensors to the valve body, and install the 2 temperature sensors clamp with the 2 bolts.

    Torque: 

    A: 11 N.m (112 kgf.cm, 8 ft.lbf) 

    B: 10 N.m (100 kgf.cm, 7 ft.lbf) 

    Bolt length: 

    Bolt A: 36 mm (1.42 in.) 

    Bolt B: 12 mm (0.47 in.) 

    Sensor wire harness: 

    Fig 9: Sensor Wire Harness Color Table
    G01352582Courtesy of © TOYOTA, LICENSE AGREEMENT TMS1002
    Fig 10: Connecting Temperature Sensors To Valve Body
    G01352583Courtesy of © TOYOTA, LICENSE AGREEMENT TMS1002
  13. CONNECT 7 CONNECTORS TO SHIFT SOLENOID VALVES 
    Fig 11: Installing Oil Strainer
    G01352584Courtesy of © TOYOTA, LICENSE AGREEMENT TMS1002
  14. INSTALL OIL STRAINER 
    1. Install a new O-ring.
    2. Install the oil strainer with the 4 bolts.

      Torque: 10 N.m (100 kgf.cm, 7 ft.lbf) 

      Fig 12: Installing Oil Pan
      G01352585Courtesy of © TOYOTA, LICENSE AGREEMENT TMS1002
  15. INSTALL OIL PAN 

    HINT:

    Remove any packing material, and be careful not to spill oil on the contacting surfaces of the transmission case and the oil pan.

    1. Install a new gasket and oil pan.
    2. Install the 20 bolts and oil pan.

      Torque: 4.4 N.m (45 kgf.cm, 39 in.lbf) 

  16. FILL ATF AND CHECK ATF LEVEL 
    1. Install a new gasket and a drain plug.

      Torque: 20 N.m (205 kgf.cm, 15 ft.lbf) 

    2. Fill new fluid through the filler pipe (See DRAINING & REFILLING ).
  17. INSTALL ENGINE No. 2 UNDER COVER