lemon-mirror:
Home >> Lexus >> 2004 >> GS 430 >> Repair and Diagnosis >> Body & Frame >> Door Locks >> Power Door Lock Control System >> Inspection

Power Door Lock Control System: Inspection

  1. Master switch: INSPECT DRIVER'S DOOR LOCK CONTROL SWITCH CONTINUITY 
    TESTER CONNECTION SPECIFICATION

    Switch position Tester connection Specified condition
    LOCK 5 - 16 Continuity
    OFF - No continuity
    UNLOCK 16 - 17 Continuity

    If continuity is not as specified, replace the switch.

  2. Master switch: INSPECT DRIVER'S DOOR LOCK CONTROL SWITCH CIRCUIT (See  DOOR LOCK MOTOR CIRCUIT  ) 
    Fig 1: Inspecting Driver'S Door Lock Control Switch Continuity
    G03471216Courtesy of © TOYOTA, LICENSE AGREEMENT TMS1002
  3. INSPECT PASSENGER'S DOOR LOCK CONTROL SWITCH CONTINUITY 
    TESTER CONNECTION SPECIFICATION

    Switch position Tester connection Specified condition
    LOCK 2 - 3 Continuity
    OFF - No continuity
    UNLOCK 1 - 2 Continuity

    If continuity is not as specified, replace the switch.

  4. INSPECT PASSENGER'S DOOR LOCK CONTROL SWITCH CIRCUIT (See  DOOR LOCK MOTOR CIRCUIT  ) 
    Fig 2: Inspecting Passenger'S Door Lock Control Switch Continuity
    G03471217Courtesy of © TOYOTA, LICENSE AGREEMENT TMS1002
  5. INSPECT PASSENGER'S DOOR LOCK CONTROL SWITCH ILLUMINATION 

    Connect the positive (+) lead from the battery to terminal 4 and the negative (-) lead to terminal 2, and check that the indicator light lights up.

    If operation is not as specified, replace the switch.

    Fig 3: Connecting Positive Lead From Battery To Terminal 4 And Negative Lead To Terminal 2
    G03471218Courtesy of © TOYOTA, LICENSE AGREEMENT TMS1002
  6. Front left side door: INSPECT DOOR KEY LOCK AND UNLOCK SWITCH CONTINUITY 
    TESTER CONNECTION SPECIFICATION

    Switch position Tester connection Specified condition
    LOCK 3 - 5 Continuity
    OFF - No continuity
    UNLOCK 3 - 6 Continuity

    If continuity is not as specified, replace the switch.

  7. Front left side door: INSPECT DOOR KEY LOCK AND UNLOCK SWITCH CIRCUIT (See  DOOR LOCK MOTOR CIRCUIT  ) 
    Fig 4: Inspecting Door Key Lock And Unlock Switch Continuity (Front Left Side Door)
    G03471219Courtesy of © TOYOTA, LICENSE AGREEMENT TMS1002
  8. Front right side door: INSPECT DOOR KEY LOCK AND UNLOCK SWITCH CONTINUITY 
    TESTER CONNECTION SPECIFICATION

    Switch position Tester connection Specified condition
    LOCK 2 - 4 Continuity
    OFF - No continuity
    UNLOCK 1 - 4 Continuity

    If continuity is not as specified, replace the switch.

  9. Front right side door: INSPECT DOOR KEY LOCK AND UNLOCK SWITCH CIRCUIT (See  DOOR LOCK MOTOR CIRCUIT  ) 
    Fig 5: Inspecting Door Key Lock And Unlock Switch Continuity (Front Right Side Door)
    G03471220Courtesy of © TOYOTA, LICENSE AGREEMENT TMS1002
  10. Front door: INSPECT DOOR UNLOCK DETECTION SWITCH CONTINUITY 
    TESTER CONNECTION SPECIFICATION

    Switch position Tester connection Specified condition
    OFF (Door Lock set to LOCK) - No continuity
    ON (Door Lock set to UNLOCK) 3 - 4 Continuity

    If continuity is not as specified, replace the switch.

    Fig 6: Inspecting Door Unlock Detection Switch Continuity (Front Door)
    G03471221Courtesy of © TOYOTA, LICENSE AGREEMENT TMS1002
  11. Front door: INSPECT DOOR UNLOCK DETECTION SWITCH CIRCUIT 

    Driver side: (See  DOOR UNLOCK DETECTION SWITCH CIRCUIT  ) 

    Passenger side (See  DOOR UNLOCK DETECTION SWITCH  ) 

  12. Rear door: INSPECT DOOR UNLOCK DETECTION SWITCH CONTINUITY 
    TESTER CONNECTION SPECIFICATION

    Switch position Tester connection Specified condition
    OFF (Door Lock set to LOCK) - No continuity
    ON (Door Lock set to UNLOCK) 3 - 4 (Left side)
    1 - 2 (right side)
    Continuity

    If continuity is not as specified, replace the switch.

  13. Rear door: INSPECT DOOR UNLOCK DETECTION SWITCH CIRCUIT 

    Rear LH side (See  DOOR UNLOCK DETECTION SWITCH  ) 

    Rear RH side (See  DOOR UNLOCK DETECTION SWITCH  ) 

    Fig 7: Inspecting Door Unlock Detection Switch Continuity (Rear Door)
    G03471222Courtesy of © TOYOTA, LICENSE AGREEMENT TMS1002
  14. Front left side door: INSPECT DOOR LOCK MOTOR OPERATION 
    1. Connect the positive (+) lead from the battery to terminal 1 and the negative (-) lead to terminal 2, and check that the door lock link moves to UNLOCK position.
    2. Reverse the polarity and check that the door lock link moves to LOCK position.

    If operation is not as specified, replace the door lock assembly.

  15. Front left side door: INSPECT DOOR LOCK MOTOR CIRCUIT (See  DOOR LOCK MOTOR CIRCUIT  ) 
    Fig 8: Inspecting Door Lock Motor Operation (Front Left Side Door)
    G03471223Courtesy of © TOYOTA, LICENSE AGREEMENT TMS1002
  16. Front right side door: INSPECT DOOR LOCK MOTOR OPERATION 
    1. Connect the positive (+) lead from the battery to terminal 5 and the negative (-) lead to terminal 6, and check that the door lock link moves to UNLOCK position.
    2. Reverse the polarity and check that the door lock link moves to LOCK position.

    If operation is not as specified, replace the door lock assembly.

  17. Front right side door: INSPECT DOOR LOCK MOTOR CIRCUIT (See  DOOR LOCK MOTOR CIRCUIT  ) 
    Fig 9: Inspecting Door Lock Motor Operation (Front Right Side Door)
    G03471224Courtesy of © TOYOTA, LICENSE AGREEMENT TMS1002
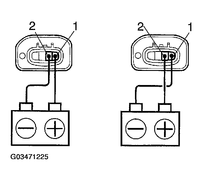
  18. Rear left side door: INSPECT DOOR LOCK MOTOR OPERATION 
    1. Connect the positive (+) lead from the battery to terminal 1 and the negative (-) lead to terminal 2, and check that the door lock link moves to UNLOCK position.
    2. Reverse the polarity and check that the door lock link moves to LOCK position.

    If operation is not as specified, replace the door lock assembly.

  19. Rear left side door: INSPECT DOOR LOCK MOTOR CIRCUIT (See  DOOR LOCK MOTOR CIRCUIT  ) 
    Fig 10: Inspecting Door Lock Motor Operation (Rear Left Side Door)
    G03471225Courtesy of © TOYOTA, LICENSE AGREEMENT TMS1002
  20. Rear right side door: INSPECT DOOR LOCK MOTOR OPERATION 
    1. Connect the positive (+) lead from the battery to terminal 3 and the negative (-) lead to terminal 4, and check that the door lock link moves to UNLOCK position.
    2. Reverse the polarity and check that the door lock link moves to LOCK position.

    If operation is not as specified, replace the door lock assembly.

    Fig 11: Inspecting Door Lock Motor Operation (Rear Right Side Door)
    G03471226Courtesy of © TOYOTA, LICENSE AGREEMENT TMS1002
  21. Rear right side door: INSPECT DOOR LOCK MOTOR CIRCUIT (See  DOOR LOCK MOTOR CIRCUIT  ) 
  22. Front left side door: INSPECT PTC THERMISTOR OPERATION (Using an ammeter) 
    1. Connect the negative (-) lead from the battery to terminal 2.
    2. Connect the positive (+) lead from the ammeter to terminal 1 and the negative (-) lead to battery negative (-) terminal, and check that the current changes from approximately 3.2 A to less than 0.5 A within 20 to 70 seconds.
      Fig 12: Connecting Negative Lead From Battery To Terminal 2
      G03471227Courtesy of © TOYOTA, LICENSE AGREEMENT TMS1002
    3. Disconnect the leads from terminals.
    4. Approximately 60 seconds later, connect the positive (+) lead from the battery to terminal 2 and the negative (-) lead to terminal 1, and check that the door lock moves to the LOCK position.

    If operation is not as specified, replace the door lock assembly.

    Fig 13: Checking Door Lock Moves To Lock Position
    G03471228Courtesy of © TOYOTA, LICENSE AGREEMENT TMS1002
  23. Front right side door: INSPECT PTC THERMISTOR OPERATION (Using an ammeter) 
    1. Connect the negative (-) lead from the battery to terminal 6.
    2. Connect the positive (+) lead from the ammeter to terminal 5 and the negative (-) lead to battery negative (-) terminal, and check that the current changes from approximately 3.2 A to less than 0.5 A within 20 to 70 seconds.
      Fig 14: Connecting Negative Lead From Battery To Terminal 6
      G03471229Courtesy of © TOYOTA, LICENSE AGREEMENT TMS1002
    3. Disconnect the leads from terminals.
    4. Approximately 60 seconds later, connect the positive (+) lead from the battery to terminal 6 and the negative (-) lead to terminal 5, and check that the door lock moves to the LOCK position.

    If operation is not as specified, replace the door lock assembly.

    Fig 15: Checking Door Lock Moves To Lock Position
    G03471230Courtesy of © TOYOTA, LICENSE AGREEMENT TMS1002
  24. Rear left side door: INSPECT PTC THERMISTOR OPERATION (Using an ammeter) 
    1. Connect the negative (-) lead from the battery to terminal 2.
    2. Connect the positive (+) lead from the ammeter to terminal 1 and the negative (-) lead to battery negative (-) terminal, and check that the current changes from approximately 3.2 A to less than 0.5 A within 20 to 70 seconds.
      Fig 16: Connecting Negative Lead From Battery To Terminal 2
      G03471231Courtesy of © TOYOTA, LICENSE AGREEMENT TMS1002
    3. Disconnect the leads from terminals.
    4. Approximately 60 seconds later, connect the positive (+) lead from the battery to terminal 2 and the negative (-) lead to terminal 1, and check that the door lock moves to the LOCK position.

    If operation is not as specified, replace the door lock assembly.

    Fig 17: Checking Door Lock Moves To Lock Position
    G03471232Courtesy of © TOYOTA, LICENSE AGREEMENT TMS1002
  25. Rear right side door: INSPECT PTC THERMISTOR OPERATION (Using an ammeter) 
    1. Connect the negative (-) lead from the battery to terminal 4.
    2. Connect the positive (+) lead from the ammeter to terminal 3 and the negative (-) lead to battery negative (-) terminal, and check that the current changes from approximately 3.2 A to less than 0.5 A within 20 to 70 seconds.
      Fig 18: Connecting Negative Lead From Battery To Terminal 4
      G03471233Courtesy of © TOYOTA, LICENSE AGREEMENT TMS1002
    3. Disconnect the leads from terminals.
    4. Approximately 60 seconds later, connect the positive (+) lead from the battery to terminal 4 and the negative (-) lead to terminal 3, and check that the door lock moves to the LOCK position.

    If operation is not as specified, replace the door lock assembly.

    Fig 19: Disconnecting Leads From Terminals
    G03471234Courtesy of © TOYOTA, LICENSE AGREEMENT TMS1002
  26. Front left side door: INSPECT PTC THERMISTOR OPERATION (Using an ammeter with a current-measuring probe) 
    1. Connect the positive (+) lead from the battery to terminal 1 and the negative (-) lead to terminal 2.
    2. Attach a current-measuring probe to either the positive (+) lead or the negative (-) lead, and check that the current changes from approximately 3.2 A to less than 0.5 A within 20 to 70 seconds.
      Fig 20: Connecting Positive Lead From Battery To Terminal 1 And Negative Lead To Terminal 2
      G03471235Courtesy of © TOYOTA, LICENSE AGREEMENT TMS1002
    3. Disconnect the leads from terminals.
    4. Approximately 60 seconds later, reverse the polarity, and check that the door lock moves to the LOCK position.

    If operation is not as specified, replace the door lock assembly.

    Fig 21: Checking Door Lock Moves To Lock Position
    G03471236Courtesy of © TOYOTA, LICENSE AGREEMENT TMS1002
  27. Front right side door: INSPECT PTC THERMISTOR OPERATION (Using an ammeter with a current-measuring probe) 
    1. Connect the positive (+) lead from the battery to terminal 5 and the negative (-) lead to terminal 6.
    2. Attach a current-measuring probe to either the positive (+) lead or the negative (-) lead, and check that the current changes from approximately 3.2 A to less than 0.5 A within 20 to 70 seconds.
      Fig 22: Connecting Positive Lead From Battery To Terminal 5 And Negative Lead To Terminal 6
      G03471237Courtesy of © TOYOTA, LICENSE AGREEMENT TMS1002
    3. Disconnect the leads from terminals.
    4. Approximately 60 seconds later, reverse the polarity, and check that the door lock moves to the LOCK position.

    If operation is not as specified, replace the door lock assembly.

    Fig 23: Disconnecting Leads From Terminals
    G03471238Courtesy of © TOYOTA, LICENSE AGREEMENT TMS1002
  28. Rear left side door: INSPECT PTC THERMISTOR OPERATION (Using an ammeter with a current-measuring probe) 
    1. Connect the positive (+) lead from the battery to terminal 1 and the negative (-) lead to terminal 2.
    2. Attach a current-measuring probe to either the positive (+) lead or the negative (-) lead, and check that the current changes from approximately 3.2 A to less than 0.5 A within 20 to 70 seconds.
      Fig 24: Connecting Positive Lead From Battery To Terminal 1 And Negative Lead To Terminal 2
      G03471239Courtesy of © TOYOTA, LICENSE AGREEMENT TMS1002
    3. Disconnect the leads from terminals.
    4. Approximately 60 seconds later, reverse the polarity, and check that the door lock moves to the LOCK position.

    If operation is not as specified, replace the door lock assembly.

    Fig 25: Checking Door Lock Moves To Lock Position
    G03471240Courtesy of © TOYOTA, LICENSE AGREEMENT TMS1002
  29. Rear right side door: INSPECT PTC THERMISTOR OPERATION (Using an ammeter with a current-measuring probe) 
    1. Connect the positive (+) lead from the battery to terminal 3 and the negative (-) lead to terminal 4.
    2. Attach a current-measuring probe to either the positive (+) lead or the negative (-) lead, and check that the current changes from approximately 3.2 A to less than 0.5 A within 20 to 70 seconds.
      Fig 26: Connecting Positive Lead From Battery To Terminal 3 And Negative Lead To Terminal 4
      G03471241Courtesy of © TOYOTA, LICENSE AGREEMENT TMS1002
    3. Disconnect the leads from terminals.
    4. Approximately 60 seconds later, reverse the polarity, and check that the door lock moves to the LOCK position.

    If operation is not as specified, replace the door lock assembly.

    Fig 27: Checking Door Lock Moves To Lock Position
    G03471242Courtesy of © TOYOTA, LICENSE AGREEMENT TMS1002
  30. INSPECT LUGGAGE COMPARTMENT DOOR OPENER MOTOR OPERATION 

    Connect positive (+) lead to the terminal 1 and negative (-) lead to the opener motor body, and check that the motor operates.

  31. INSPECT LUGGAGE COMPARTMENT DOOR OPENER MOTOR CIRCUIT (See  LUGGAGE COURTESY SWITCH CIRCUIT  ) 
    Fig 28: Connecting Positive Lead To Terminal 1 And Negative Lead To Opener Motor Body
    G03471243Courtesy of © TOYOTA, LICENSE AGREEMENT TMS1002
  32. INSPECT LUGGAGE COMPARTMENT DOOR OPENER MAIN SWITCH CONTINUITY 
    TESTER CONNECTION SPECIFICATION

    Switch operation Tester connection Specified condition
    OFF (Push) - No continuity
    ON (Push and turn) 1 - 2 Continuity

    If continuity is not as specified, replace the switch.

  33. INSPECT LUGGAGE COMPARTMENT DOOR OPENER SWITCH CONTINUITY 
    TESTER CONNECTION SPECIFICATION

    Switch operation Tester connection Specified condition
    OFF 2 - B Continuity
    ON (Pull) 1 - L: 2 - B Continuity

    If continuity is not as specified, replace the switch.

  34. INSPECT LUGGAGE COMPARTMENT DOOR OPENER SWITCH AND MAIN SWITCH CIRCUIT (See  LUGGAGE COMPARTMENT DOOR LOCK AND UNLOCK SWITCH  ) 
    Fig 29: Inspecting Luggage Compartment Door Opener Switch Continuity
    G03471244Courtesy of © TOYOTA, LICENSE AGREEMENT TMS1002