lemon-mirror:
Home >> Lexus >> 2004 >> LS 430 >> Repair and Diagnosis >> Engine Performance >> System >> SFI System - Diagnosis >> Fuel Pump Control Circuit >> Inspection Procedure

Inspection Procedure

  1. PERFORM ACTIVE TEST (OPERATE F/PMP RELAY) 
    1. Connect the hand-held tester to the Controller Area Network Vehicle Interface Module (CAN VIM). Then connect the CAN VIM to the DLC3.
    2. Turn the ignition switch ON and push the hand-held tester main switch ON.
    3. Enter the following menus: DIAGNOSIS/ ENHANCED OBD II/ ACTIVE TEST / FUEL PUMP / SPD.
    4. Check the relay operation while operating it with the hand-held tester.

      OK: Operating noise can be heard from the relay. 

    1. OK: Go to step   5 
    2. NG: Go to next step. 
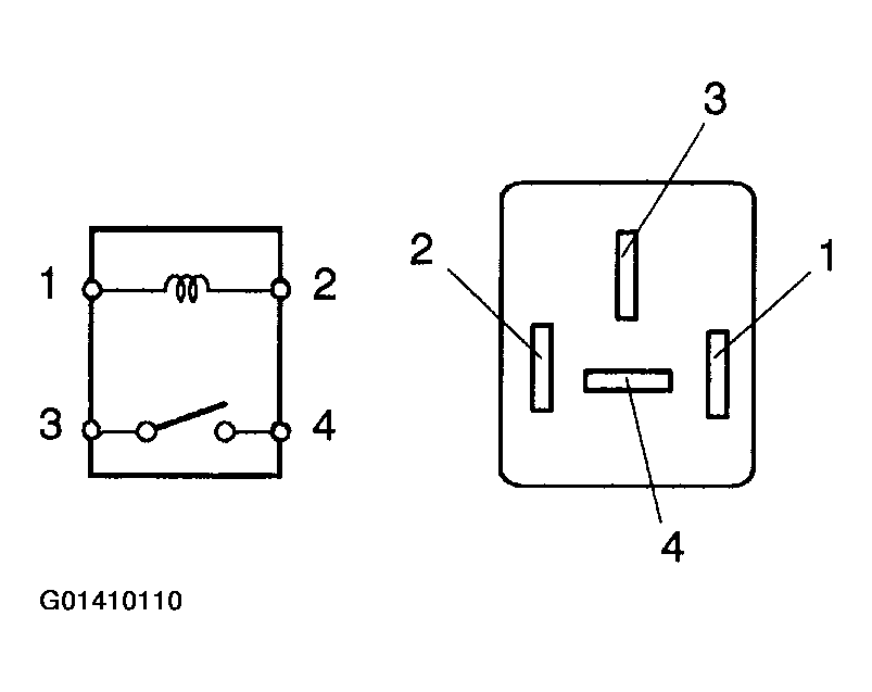
  2. INSPECT F/PMP RELAY 
    1. Remove the F/PMP relay from the engine room Relay Block (R/B).
    2. Measure the resistance.
      Fig 1: Identifying Connector Terminals F/PMP Relay
      G01410110Courtesy of © TOYOTA, LICENSE AGREEMENT TMS1002

      Standard: 

      Fig 2: Resistance Specification Chart
      G01410109Courtesy of © TOYOTA, LICENSE AGREEMENT TMS1002
    1. NG: REPLACE F/PMP RELAY 
    2. OK: Go to next step. 
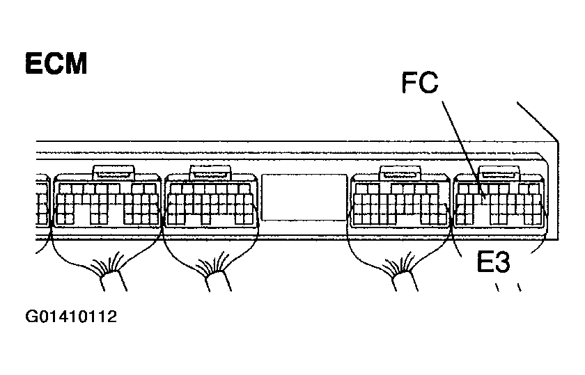
  3. INSPECT ECM (FC VOLTAGE) 
    1. Turn the ignition switch ON.
    2. Measure the voltage between the of the ECM connector.
      Fig 3: Measuring Voltage Between Of ECM Connector
      G01410112Courtesy of © TOYOTA, LICENSE AGREEMENT TMS1002

      Standard: 

      Fig 4: Terminal Voltage Chart
      G01410111Courtesy of © TOYOTA, LICENSE AGREEMENT TMS1002
    1. OK: REPLACE ECM (SEE  REPLACEMENT  ) 
    2. NG: Go to next step. 
  4. CHECK WIRE HARNESS (ECM - C/OPN RELAY, C/OPN RELAY - IGNITION) 
    1. Check the wire harness between the ECM and the C/OPN relay.
      1. Disconnect the E3 ECM connector.
        Fig 5: Disconnecting E3 ECM Connector
        G01410115Courtesy of © TOYOTA, LICENSE AGREEMENT TMS1002
      2. Remove the C/OPN relay from the engine room R/B.
        Fig 6: Removing C/Opn Relay
        G01410116Courtesy of © TOYOTA, LICENSE AGREEMENT TMS1002
      3. Measure the resistance of the wire harness side connectors.

        Standard: 

        Fig 7: Resistance Condition Chart
        G01410113Courtesy of © TOYOTA, LICENSE AGREEMENT TMS1002
    2. Check the IG2 fuse.
      1. Remove the IG2 fuse from the engine room R/B.
        Fig 8: Identifying Connector Terminals Ignition Fuse
        G01410117Courtesy of © TOYOTA, LICENSE AGREEMENT TMS1002
      2. Check the resistance of the IG2 fuse.
    3. Check the wire harness between the C/OPN relay and the ignition switch.

      Standard: Below 1 Ω 

      1. Remove the C/OPN relay from the engine room R/B.
      2. Disconnect the 117 ignition switch connector.
      3. Measure the resistance of the wire harness side connectors.

        Standard: 

        Fig 9: Resistance Specification Chart
        G01410114Courtesy of © TOYOTA, LICENSE AGREEMENT TMS1002
    1. NG: REPAIR OR REPLACE HARNESS AND CONNECTOR 
    2. OK: Go to next step. 

      REPLACE ECM (SEE  REPLACEMENT  ) 

  5. INSPECT FUEL PUMP 
    1. Check the fuel pump resistance.

      Measure the resistance between terminals 4 and 5.

      Standard: 0.2 to 3.0 Ω at 20°C (68°F) 

    2. Check the fuel pump operation

      Apply battery voltage to both the terminals. Check that the pump operates.

      NOTE:
      • These tests must be done quickly (within 10 seconds) to prevent the coil from burning out.
      • Keep fuel pump as far away from the battery as possible.
      CAUTION: Always turn on and off the voltage on the battery side, not the fuel pump side.
      Fig 10: Identifying Connector Terminals Fuel Pump
      G01410118Courtesy of © TOYOTA, LICENSE AGREEMENT TMS1002
    1. NG: REPLACE FUEL PUMP (See  REPLACEMENT  ) 
    2. OK: Go to next step. 
  6. CHECK WIRE HARNESS (C/OPN RELAY - FUEL PUMP, FUEL PUMP - BODY GROUND) 
    1. Check the wire harness between the C/OPN relay and the fuel pump.
      1. Remove the C/OPN relay from the engine room R/B.
        Fig 11: Removing C/OPN Relay
        G01410121Courtesy of © TOYOTA, LICENSE AGREEMENT TMS1002
      2. Disconnect the F19 fuel pump connector.
        Fig 12: Identifying F19 Fuel Pump Connector
        G01410122Courtesy of © TOYOTA, LICENSE AGREEMENT TMS1002
      3. Measure the resistance of the wire harness side connectors.

        Standard: 

        Fig 13: Resistance Specification Chart
        G01410119Courtesy of © TOYOTA, LICENSE AGREEMENT TMS1002
      4. Measure the resistance of the wire harness side connector.

        Standard: 

        Fig 14: Resistance Condition Chart
        G01410120Courtesy of © TOYOTA, LICENSE AGREEMENT TMS1002
    1. NG: REPLACE ECM (SEE  REPLACEMENT  ) 
    2. OK: Go to next step. 

      REPAIR OR REPLACE HARNESS AND CONNECTOR