lemon-mirror:
Home >> Lexus >> 2004 >> LS 430 >> Repair and Diagnosis >> External Pages >> Different car >> Section 331 (Defogger System) >> Inspection

Section 331 (Defogger System): Inspection

WARNING: This page is about a different car, the 2003 Lexus LX 470. However, it is still accessible from the selected car via links, so may be relevant.
  1. INSPECT DEFOGGER SWITCH CIRCUIT 

    Disconnect the connector from the panel switch and inspect the connector on the wire harness side, as shown in the chart.

    Fig 1: Inspecting Defogger Switch Circuit
    G03375536Courtesy of © TOYOTA, LICENSE AGREEMENT TMS1002

    w/Navigation: 

    SPECIFIED CONDITION

    Tester connection Condition Specified condition
    B12 (GND)-Ground Constant Continuity
    B11 (+B)-Ground Constant Battery positive voltage
    B22 (IG) - Ground Ignition switch LOCK or ACC No voltage
    B22 (IG) - Ground Ignition switch ON Battery positive voltage
    A10 (RDFGR) - Ground Constant Battery positive voltage

    w/o Navigation: 

    SPECIFIED CONDITION

    Tester connection Condition Specified condition
    16 (GND)-Ground Constant Continuity
    8 (IG) - Ground Ignition switch LOCK or ACC No voltage
    8 (IG) - Ground Ignition switch ON Battery positive voltage
    2 (DEFC) - Ground Constant Battery positive voltage

    If the circuit is not as specified, replace the switch.

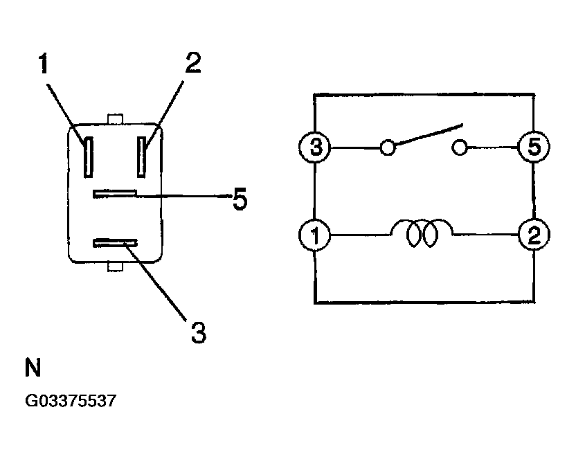
  2. INSPECT DEFOGGER RELAY CONTINUITY 
    SPECIFIED CONDITION

    Condition Tester connection Specified condition
    Constant 1 - 2 Continuity
    Apply B+ between terminals 1 and 2. 3-5 Continuity

    If continuity is not as specified, replace the relay.

    Fig 2: Inspecting Defogger Relay Continuity
    G03375537Courtesy of © TOYOTA, LICENSE AGREEMENT TMS1002
  3. MIRROR HEATER RELAY: INSPECT ENGINE ROOM R/B RELAY CIRCUIT (See  INSPECTION  ) 

    HINT:

    The mirror heater relay is built in the engine room junction block. Also, the relay is constructed with a relay block that is in the junction block as a unit. To disconnect the wire harness connecting with relay block is impossible. If the relay has a malfunction, replace it with the junction block assembly wire harness together.

    Fig 3: Identifying Engine Built In Relay
    G03375538Courtesy of © TOYOTA, LICENSE AGREEMENT TMS1002
  4. INSPECT DEFOGGER WIRE 
    NOTE:
    • When cleaning the glass, use a soft, dry cloth, and wipe the glass in the direction of the wire. Take care not to damage the wires. 
    • Do not use detergents or glass cleaners with abrasive ingredients. 
    • When measuring voltage, wrap a piece of tin foil around the tip of the negative probe and press the foil against the wire with fingers, as shown. 
    Fig 4: Identifying Tester Probe
    G03375539Courtesy of © TOYOTA, LICENSE AGREEMENT TMS1002
    1. Turn the ignition switch ON.
    2. Turn the defogger switch ON.
    3. Inspect the voltage at the center of each heat wire, as shown.
      VOLTAGE SPECIFICATION

      Voltage Criteria
      Approx. 5V Okay (No break in wire)
      Approx. 10V or 0V Broken wire
      Fig 5: Identifying At Center
      G03375540Courtesy of © TOYOTA, LICENSE AGREEMENT TMS1002

      HINT:

      If there is approximately 10 V, the wire is broken somewhere between the center of the wire and the positive (+) end. If there is no voltage, the wire is broken somewhere between the center of the wire and ground.

    4. Place the voltmeter positive (+) lead against the defogger wire on the battery side.
    5. Place the voltmeter negative (-) lead with the foil strip against the wire on the ground side.
    6. Slide the positive (+) lead from battery to the ground side.
    7. The point where the voltmeter deflects from several V to zero V is the place where the defogger wire is broken.
    Fig 6: Identifying Foil Strip
    G03375541Courtesy of © TOYOTA, LICENSE AGREEMENT TMS1002

    HINT:

    If the heat wire is not broken, the voltmeter indicates 0 V at the positive (+) end of the heat wire but the voltage gradually increases to about 12 V as the meter probe moves to the other end.

  5. IF NECESSARY, REPAIR DEFOGGER WIRE 
    1. Clean the broken wire tips with grease, wax or silicone remover.
    2. Place the masking tape along both sides of the wire for repair.
    3. Thoroughly mix the repair agent (Dupont paste No. 4817).
      Fig 7: Placing Masking Tape Along Both Sides Of Wire
      G03375542Courtesy of © TOYOTA, LICENSE AGREEMENT TMS1002
    4. Using a fine tip brush, apply a small amount of the agent to the wire.
    5. After a few minutes, remove the masking tape.
    6. Do not repair the defogger wire for at least 24 hours.
    Fig 8: Identifying Fine Tip Brush
    G03375543Courtesy of © TOYOTA, LICENSE AGREEMENT TMS1002
  6. w/ Mirror heater: INSPECT MIRROR HEATER OPERATION 
    1. Connect the battery positive (+) lead to terminal 5 and the battery negative (-) lead to terminal 12.
    2. Check that the mirror becomes warm.

    HINT:

    It will take a short time for the mirror to become warm.

    Fig 9: Connecting Battery Positive (+) Lead To Terminal 5 & Battery Negative (-) Lead To Terminal 12
    G03375544Courtesy of © TOYOTA, LICENSE AGREEMENT TMS1002