lemon-mirror:
Home >> Lexus >> 2004 >> LX 470 >> Repair and Diagnosis >> Body & Frame >> Mirrors >> Power Mirror Control System >> Inspection

Power Mirror Control System: Inspection

  1. INSPECT LEFT SIDE MIRROR SWITCH CONTINUITY 
    LEFT SIDE MIRROR SWITCH CONTINUITY

    Switch position Tester connection Specified condition
    OFF - No continuity
    UP 3 - 4
    1 - 7 - 8
    Continuity
    DOWN 1 - 3 - 8
    4 - 7
    Continuity
    LEFT 4 - 9
    1 - 7 - 8
    Continuity
    RIGHT 4 - 7
    1 - 8 - 9
    Continuity

    If the continuity is not as specified, replace the switch.

    If the continuity is as specified, inspect the switch circuit.

  2. INSPECT RIGHT SIDE MIRROR SWITCH CONTINUITY 
    RIGHT SIDE MIRROR SWITCH CONTINUITY

    Switch position Tester connection Specified condition
    OFF - No continuity
    UP 2 - 4
    1 - 7 - 8
    Continuity
    DOWN 4 - 7
    1 - 2 - 8
    Continuity
    LEFT 4 - 10
    1 - 7 - 8
    Continuity
    RIGHT 4 - 7
    1 - 8 - 10
    Continuity
    Fig 1: Identifying Adjustment, Retract & Mirror Switch
    G03485973Courtesy of © TOYOTA, LICENSE AGREEMENT TMS1002

    If the continuity is not as specified, replace the switch.

    If the continuity is as specified, inspect the switch circuit.

  3. INSPECT RETRACT SWITCH CONTINUITY 
    RETRACT SWITCH CONTINUITY

    Switch position Tester connection Specified condition
    RETURN 1 - 5
    2 - 4
    Continuity
    RETRACT 1 - 2
    4 - 5
    Continuity

    If the continuity is not as specified, replace the switch.

    If the continuity is as specified, inspect the switch circuit.

    Fig 2: Identifying Retract Switch Terminals
    G03485974Courtesy of © TOYOTA, LICENSE AGREEMENT TMS1002
  4. INSPECT MIRROR SWITCH CIRCUIT 

    Disconnect the connector from the switch and inspect the connector on the wire harness side.

    Fig 3: Inspecting Mirror Switch Circuit
    G03485975Courtesy of © TOYOTA, LICENSE AGREEMENT TMS1002
    MIRROR SWITCH CIRCUIT SPECIFIED CONDITION

    Tester connection Condition Specified condition
    8 - Ground Always Continuity
    4 - Ground Ignition switch position LOCK No voltage
    4 - Ground Ignition switch position ACC or ON Battery positive voltage

    If the circuit is not as specified, inspect the circuits connected to other parts.

  5. INSPECT INDICATOR LIGHT OPERATION 

    Connect the battery positive (+) lead to terminal 5 and the battery negative (-) lead to terminal 6. If the indicator light does not come on, replace the switch.

    Fig 4: Inspecting Indicator Light Operation
    G03485976Courtesy of © TOYOTA, LICENSE AGREEMENT TMS1002
  6. INSPECT MIRROR MOTOR OPERATION 
    1. Connect the battery positive (+) lead to terminal 8 and the battery negative (-) lead to terminal 7, and check that the mirror turns to the left side.
      Fig 5: Identifying Mirror Motor Terminal 7 & 8 Connection To Battery (Left Side)
      G03485977Courtesy of © TOYOTA, LICENSE AGREEMENT TMS1002
    2. Reverse the polarity, and check that the mirror turns to the right side.
      Fig 6: Identifying Mirror Motor Terminal 7 & 8 Connection To Battery (Right Side)
      G03485978Courtesy of © TOYOTA, LICENSE AGREEMENT TMS1002
    3. Connect the battery positive (+) lead to terminal 6 and the battery negative (-) lead to terminal 7, and check that the mirror turns upward.
      Fig 7: Identifying Mirror Motor Terminal 6 & 7 Connection To Battery (Upward)
      G03485979Courtesy of © TOYOTA, LICENSE AGREEMENT TMS1002
    4. Reverse the polarity, and check that the mirror turns downward.
      Fig 8: Identifying Mirror Motor Terminal 6 & 7 Connection To Battery (Downward)
      G03485980Courtesy of © TOYOTA, LICENSE AGREEMENT TMS1002

      If operation is not as specified, replace the mirror assembly.

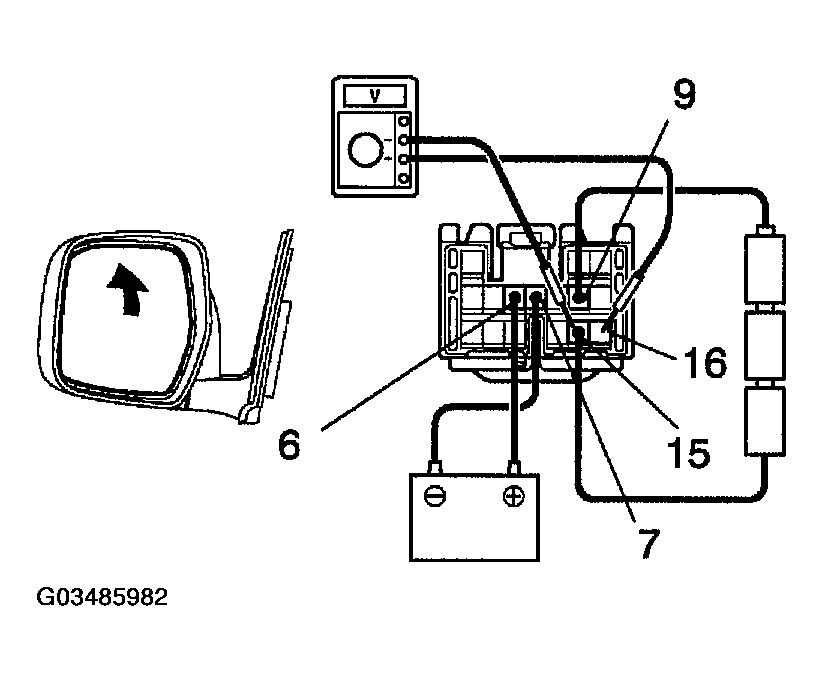
  7. w/ Driving Position Memory only: INSPECT MIRROR POSITION SENSORS OPERATION 

    HINT:

    Strip off the vinyl tape on the connector and remove terminal 7, 9, 10, 15 and 16 from the connector housing.

    1. Connect a series of three 1.5 V dry cell batteries.
    2. Connect the positive (+) lead from the dry cell batteries to terminal 9 and its negative (-) lead to terminal 15.
    3. Connect the voltmeter positive (+) lead to terminal 16 and the voltmeter negative (-) lead to terminal 15.
    4. Apply battery positive voltage to terminal 7 and 6, then check that the voltage gradually changes as shown in MIRROR POSITION SPECIFICATION  while the mirror moves between the upper most position and the lower most position.
      Fig 9: Inspecting Mirror Position Sensors Operation (Lower Move)
      G03485981Courtesy of © TOYOTA, LICENSE AGREEMENT TMS1002
      Fig 10: Inspecting Mirror Position Sensors Operation (Upper Move)
      G03485982Courtesy of © TOYOTA, LICENSE AGREEMENT TMS1002
      MIRROR POSITION SPECIFICATION

      Mirror position Lowermost Mirror position Uppermost
      Voltage 2.8 - 5.0 Changes gradually 0 - 1.8

      If the voltage value is not as specified, replace the motor assembly.

    5. Disconnect the 4 leads of the battery and voltmeter.
    6. Connect the voltmeter positive (+) lead to terminal 10 and the voltmeter negative (-) lead to terminal 15.
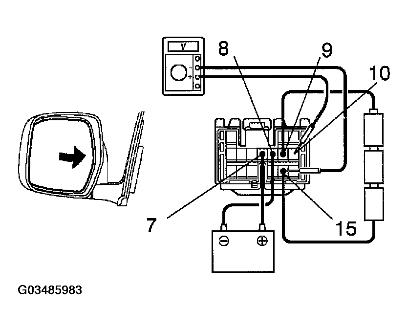
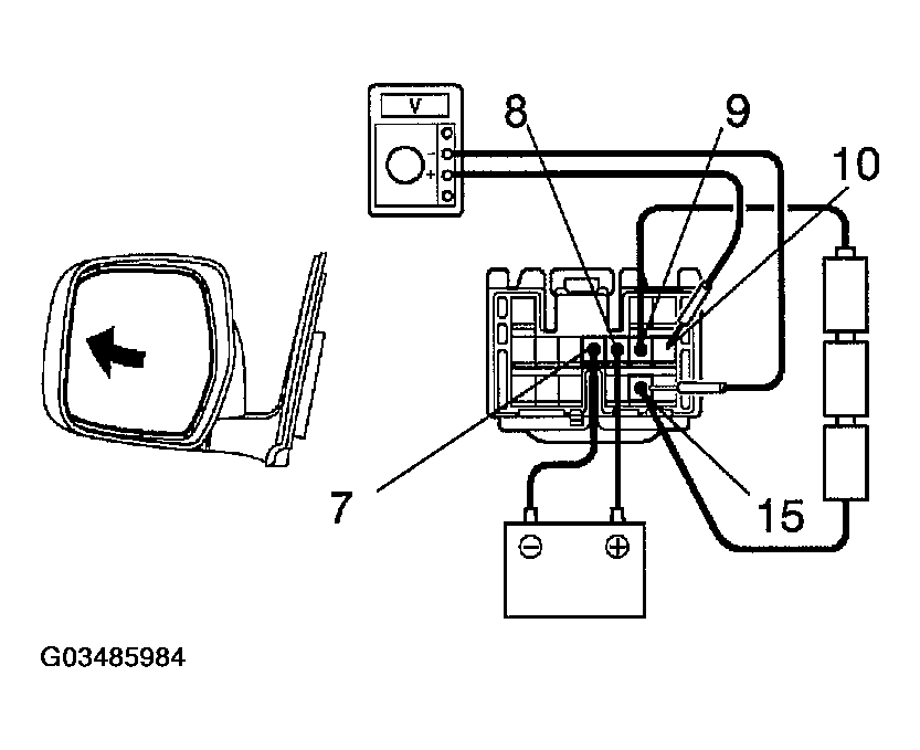
    7. Apply battery positive voltage to terminal 7 and 8, then inspect that the voltage gradually changes as shown in MIRROR POSITION SPECIFICATION  while the mirror moves between the left-most position and right-most position.
      Fig 11: Inspecting Mirror Position Sensors Operation (Right Move)
      G03485983Courtesy of © TOYOTA, LICENSE AGREEMENT TMS1002
      Fig 12: Inspecting Mirror Position Sensors Operation (Left Move)
      G03485984Courtesy of © TOYOTA, LICENSE AGREEMENT TMS1002
      MIRROR POSITION SPECIFICATION

      Mirror position Left-most Mirror position Right-most
      Voltage LEFT 2.8 - 5.0 Changes gradually 0 - 1.8
      Voltage RIGHT 0 - 1.8 Changes gradually 2.8 - 5.0

      If the voltage value is not as specified, replace the motor assembly.

  8. INSPECT DRIVING POSITION MEMORY AND RETURN SWITCH CONTINUITY 
    DRIVING POSITION MEMORY & RETURN SWITCH CONTINUITY

    Switch position Tester connection Specified condition
    SET switch ON 3 - 4 Continuity
    Return SW1 ON 2 - 3 Continuity
    Return SW2 ON 1 - 3 Continuity

    If the continuity is not as specified, replace the switch.

    Fig 13: Identifying Driving Position Memory & Return Switches
    G03485985Courtesy of © TOYOTA, LICENSE AGREEMENT TMS1002
  9. INSPECT DRIVING POSITION MEMORY AND RETURN SWITCH CIRCUIT (See  MEMORY SWITCH CIRCUIT (W/ MEMORY)  ) 
  10. INSPECT MIRROR CONTROL ECU CIRCUIT 

    Disconnect the connector from ECU and inspect the connector on the wire harness side.

    Fig 14: Identifying Mirror Control ECU Terminals
    G03485986Courtesy of © TOYOTA, LICENSE AGREEMENT TMS1002
    MIRROR CONTROL ECU SPECIFIED CONDITION

    Tester connection Condition Specified condition
    3 - 16 Right side mirror switch to RIGHT Continuity
    4 - 16 Left side mirror switch to RIGHT Continuity
    5 - 16 Right side mirror switch to DOWN Continuity
    6 - 16 Left side mirror switch to DOWN Continuity
    3 - 17 Right side mirror switch to LEFT Continuity
    4 - 17 Left side mirror switch to LEFT Continuity
    5 - 17 Right side mirror switch to UP Continuity
    6 - 17 Left side mirror switch to UP Continuity
    7 - 19 Constant Continuity
    14 - Ground Constant Continuity
    1 - Ground Constant Battery positive voltage
    2 - Ground Ignition switch OFF No voltage
    2 - Ground Ignition switch ACC or ON Battery positive voltage

    If the circuit is not as specified, inspect the circuits connected to other parts.

  11. INSPECT MIRROR CONTROL ECU OPERATION 

    Connect the connectors, and using a voltmeter with high impedance (10 kΩ/V minimum), measure the voltage at each terminal and body ground.

    Fig 15: Measuring Voltage At Each Terminal & Body Ground Of Mirror Control ECU
    G03485987Courtesy of © TOYOTA, LICENSE AGREEMENT TMS1002
    MIRROR CONTROL ECU OPERATION SPECIFIED CONDITION

    Tester connection Condition Specified condition
    3 - Ground Always About 5 V
    4 - Ground Always About 5 V
    5 - Ground Always About 5 V
    6 - Ground Always About 5 V
    7 - Ground Right or left side mirror switch to any position except OFF About 5 V
    (1) 8 - Ground Left side mirror to lowermost position 2.8 - 5.0 V
    (1) 8 - Ground Left side mirror to upper most position 0 - 0.9 V
    (1) 9 - Ground Left side mirror to left most position 2.8 - 5.0 V
    (1) 9 - Ground Left side mirror to right most position 0 - 0.9 V
    10 - Ground Left side mirror switch to LEFT or DOWN Battery positive voltage
    11 - Ground Left side mirror switch to RIGHT Battery positive voltage
    12 - Ground Left side mirror switch to UP Battery positive voltage
    (1) 20 - Ground Right side mirror to lowermost position 2.8 - 5.0 V
    (1) 20 - Ground Right side mirror to upper most position 0 - 0.9 V
    (1) 21 - Ground Right side mirror to left most position 2.8 - 5.0 V
    (1) 21 - Ground Right side mirror to right most position 0 - 0.9 V
    22 - Ground Right side mirror switch to RIGHT or DOWN Battery positive voltage
    23 - Ground Right side mirror switch to LEFT Battery positive voltage
    24 - Ground Right side mirror switch to UP Battery positive voltage
    (1) Confirm that the voltage changes gradually while the mirror moves.

    If the operation is not as specified, inspect the wire harness, the mirror switch or the motor assembly. Then if these are correct, replace the ECU.