lemon-mirror:
Home >> Lexus >> 2004 >> LX 470 >> Repair and Diagnosis >> Body & Frame >> Windows >> Power Window Control System >> Inspection

Power Window Control System: Inspection

  1. INSPECT POWER WINDOW MASTER SWITCH CIRCUIT 

    Check the voltage and continuity of each terminal of the wire harness side connector.

    Fig 1: Inspecting Power Window Master Switch Connector
    G03485891Courtesy of © TOYOTA, LICENSE AGREEMENT TMS1002
    POWER WINDOW MASTER SWITCH CONNECTOR TERMINAL SPECIFICATION

    Tester connection Condition Specified condition
    2 (GND) - Body ground Constant Continuity
    10 (BDR) - 2 (GND) Constant 10 - 14 V
    9 (CPUB) - 2 (GND) Constant 10 - 14 V
    20 (SIG) - 2 (GND) Ignition switch OFF --> ON 0 V - 10 - 14 V
    1 (UP) - 11 (DN) Constant Continuity
    5 (LMT) - 13 (SGND) Driver door glass fully closed No continuity
    Driver door glass opened by 4 mm (1.06 in.) Continuity

    If the circuit is not as specified, inspect the circuits connected to other parts.

  2. INSPECT POWER WINDOW SWITCH CIRCUIT 

    Check the voltage and continuity of each terminal of the wire harness side connector.

    Fig 2: Inspecting Power Window Switch Connector
    G03485892Courtesy of © TOYOTA, LICENSE AGREEMENT TMS1002
    POWER WINDOW SWITCH CONNECTOR TERMINAL SPECIFICATION

    Tester connection Condition Specified condition
    7 (GND) - Body ground Constant Continuity
    12 (BDR) - 7 (GND) Constant 10 - 14V
    6 (UP) - 1 (DN) Constant Continuity
    3 (LMT) - 5 (SGND) Driver door glass fully closed No continuity
    Driver door glass opened by 4 mm (1.06 in.) Continuity
    9 - Body ground Always (Front RH side only) Continuity
    10 - Body around Always (Rear LH side only) Continuity

    If the circuit is not as specified, inspect the circuits connected to other parts.

  3. Driver's door and rear right door: INSPECT POWER WINDOW MOTOR OPERATION 
    1. Connect the battery positive (+) lead to terminal 1 and the battery negative (-) lead to terminal 4, and check that the motor turns counterclockwise.
      Fig 3: Connecting Battery Positive Lead To Terminal & Battery Negative
      G03485893Courtesy of © TOYOTA, LICENSE AGREEMENT TMS1002
    2. Reverse the polarity, and check that the motor turns clockwise.

      If operation is not as specified, replace the motor.

      Fig 4: Checking Motor Turns Clockwise
      G03485894Courtesy of © TOYOTA, LICENSE AGREEMENT TMS1002
  4. Passenger's door and rear left door: INSPECT POWER WINDOW MOTOR OPERATION 
    1. Connect the battery positive (+) lead to terminal 4 and the battery negative (-) lead to terminal 1, and check that the motor turns clockwise.
      Fig 5: Inspecting Power Window Motor Operation
      G03485895Courtesy of © TOYOTA, LICENSE AGREEMENT TMS1002
    2. Reverse the polarity, and check that the motor turns counterclockwise.

      If operation is not as specified, replace the motor.

      Fig 6: Checking Motor Turns Counterclockwise
      G03485896Courtesy of © TOYOTA, LICENSE AGREEMENT TMS1002
  5. INSPECT POWER WINDOW MOTOR PTC THERMISTOR OPERATION 
    1. Disconnect the connector from the power window motor.
    2. Connect the ammeter positive (+) lead to terminal 1 on the wire harness side connector and the ammeter negative (-) lead to negative terminal of the battery.
    3. Connect the battery positive (+) lead to terminal 4 on the wire harness side connector, and raise the window to the fully position.
      Fig 7: Disconnecting Connector From Power Window Motor
      G03485897Courtesy of © TOYOTA, LICENSE AGREEMENT TMS1002
    4. Continue to apply voltage and check that the current changes to less than 1 A within 4 to 90 seconds.
    5. Disconnect the leads from the terminals.
    6. Approximately 60 seconds later, connect the battery positive (+) lead to terminal 1 and the battery negative (-) lead to terminal 4, and check that the window begins to descend.

      If operation is not as specified, replace the motor.

      Fig 8: Disconnecting Leads From Terminals
      G03485898Courtesy of © TOYOTA, LICENSE AGREEMENT TMS1002
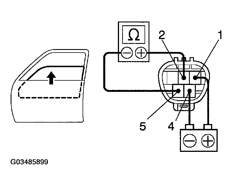
  6. INSPECT JAM PROTECTION LIMIT SWITCH OPERATION 
    1. Connect the ohmmeter positive (+) lead to terminal 2 and the ohmmeter negative (-) lead to terminal 5.
    2. Connect the battery positive (+) lead to terminal 1 and the battery negative (-) lead to terminal 4.
    3. Check that the continuity exists when the window goes up.
      Fig 9: Inspecting Jam Protection Limit Switch
      G03485899Courtesy of © TOYOTA, LICENSE AGREEMENT TMS1002
    4. Check that no continuity exists when the window is in the fully closed position.

      If operation is not as specified, replace the motor.

      NOTE: If connecting the wire harness wrongly, the sensor might be damaged, so caution is necessary. 
      Fig 10: Replacing Motor
      G03485900Courtesy of © TOYOTA, LICENSE AGREEMENT TMS1002
  7. INSPECT JAM PROTECTION PULSE SWITCH OPERATION 
    1. Connect the TOYOTA electrical tester positive (+) lead to terminal 3 and the TOYOTA electrical tester negative (-) lead to terminal 5.
    2. Connect the battery positive (+) lead to terminal 1 and the battery negative (-) lead to terminal 4.
    3. Check that pulse is generated during the motor running.
      Fig 11: Inspecting Jam Protection Pulse Switch
      G03485901Courtesy of © TOYOTA, LICENSE AGREEMENT TMS1002
    4. Reverse the polarity and check that pulse is generated.

      If operation is not as specified, replace the motor.

      NOTE: If connecting the wire harness wrongly, the sensor might be damaged, so caution is necessary. 
      Fig 12: Replacing Motor
      G03485902Courtesy of © TOYOTA, LICENSE AGREEMENT TMS1002
  8. INSPECT JAM PROTECTION FUNCTION 
    NOTE: Be careful that any part of your body is not to be caught when checking. 

    HINT:

    In the case of resetting the limit switch, perform checking after repeating up and down of the glass with automatic operation.

    1. Confirmation of AUTO up operation:

      Confirm that the window to be fully closed with AUTO up operation.

    2. Checking of the operation of the jam protection function:
      1. Move up the window with AUTO up operation and check that the window goes down when it touches the handle of the hammer handle.
      2. Confirm that the window stops going down at about 200 mm.

        HINT:

        In the case of removing the glass, glass guide, regulator and etc., be sure to perform checking on the jam protection function. If the jam protection does not function properly, adjust the power window motor reset switch and the pulse switch.