lemon-mirror:
Home >> Lexus >> 2004 >> LX 470 >> Repair and Diagnosis >> Suspension >> Electronic Suspension >> Control Valve Assembly >> Components

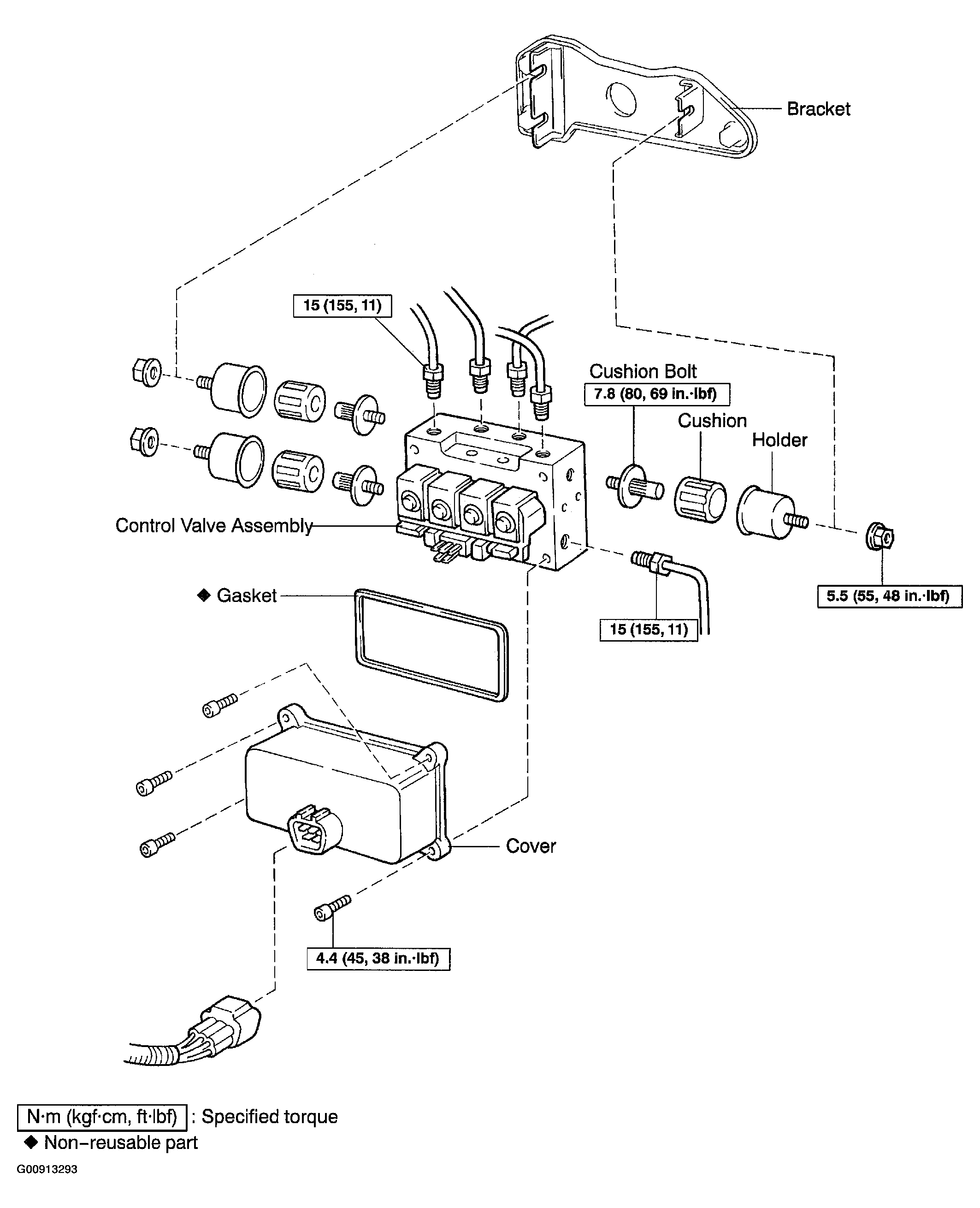
Control Valve Assembly: Components

Fig 1: Identifying Control Valve Assembly
G00913293Courtesy of © TOYOTA, LICENSE AGREEMENT TMS1002