lemon-mirror:
Home >> Lexus >> 2004 >> SC 430 >> Repair and Diagnosis >> Body & Frame >> Windows >> Back Window Glass >> Replacement

Back Window Glass: Replacement

HINT:

  1. REMOVE ROOF SIDE GARNISH INNER RH (See  REPLACEMENT  ) 
  2. REMOVE ROOF SIDE GARNISH INNER LH (See  REPLACEMENT  ) 
  3. REMOVE ROOF HEADLINING ASSY REAR (See  REPLACEMENT  ) 
  4. REMOVE BACK WINDOW OUTSIDE MOULDING 
    1. Using a knife, cut through the moulding as shown in Fig 1 .
      Fig 1: Cutting Through Moulding Using Knife
      G02954428Courtesy of © TOYOTA, LICENSE AGREEMENT TMS1002
      NOTE: Be careful not to damage the vehicle body with the knife.
    2. Remove the remaining moulding.

    HINT:

    Make a partial cut in the moulding. Then pull and remove it by hand.

  5. REMOVE BACK WINDOW GLASS 
    1. Remove the 2 nuts.
      Fig 2: Removing Back Window Glass Nuts
      G02954429Courtesy of © TOYOTA, LICENSE AGREEMENT TMS1002
    2. From the interior, insert a piano wire between the vehicle body and glass as shown in Fig 3 .
      Fig 3: Inserting Piano Wire Between Vehicle Body & Glass
      G02954430Courtesy of © TOYOTA, LICENSE AGREEMENT TMS1002
    3. Tie objects that can serve as handles (for example, wooden blocks) to both wire ends.

      HINT:

      Apply protective tape to the outer surface of the vehicle body to prevent its surface from being scratched.

      NOTE:
      • When separating the glass from the vehicle, be careful not to damage the vehicle's paint or interior/exterior ornaments.
    4. Cut through the adhesive by pulling the piano wire around the glass.
    5. Using a suction cup, remove the glass.
      NOTE: Leave as much adhesive on the vehicle body as possible when removing the glass.
  6. REMOVE BACK WINDOW PACKING 
    1. Remove the back window packing.
      Fig 4: Removing Back Window Packing
      G02954431Courtesy of © TOYOTA, LICENSE AGREEMENT TMS1002
  7. CLEAN BACK WINDOW GLASS 
    1. Using a scraper, remove the damaged dams and adhesive sticking to the glass.
    2. Clean the outer edges of the glass with white gasoline.
      NOTE:
      • Do not touch the glass surface after cleaning it.
      • Even if using new glass, clean it with white gasoline.
        Fig 5: Cleaning Back Window Glass
        G02954432Courtesy of © TOYOTA, LICENSE AGREEMENT TMS1002
  8. INSTALL BACK WINDOW GLASS ADHESIVE DAM 
    1. Apply Primer G to the installation part of the glass adhesive dam.
      NOTE:
      • Allow the Primer G to dry for 3 minutes or more.
      • Throw away any leftover Primer G.
      • Do not apply too much Primer G.
    2. Remove the peeling paper from the adhesive part of the dam. Install the dam (adhesive side) to the glass (Primer G area) as shown in Fig 6 .
      Fig 6: Installing Dam (Adhesive Side) To Glass (Primer G Area)
      G02954433Courtesy of © TOYOTA, LICENSE AGREEMENT TMS1002

      Specification: 

      MEASUREMENT CHART

      Area Measurement
      a 0.7 mm (0.028 in.)
  9. INSTALL BACK WINDOW OUTSIDE MOULDING 
    1. Using a brush or sponge, apply Primer G to the glass where the moulding will be installed.
      NOTE:
      • Allow the Primer G to dry for 3 minutes or more.
      • Throw away any leftover Primer G.
      • Do not apply too much Primer G.
    2. Install the back window outside moulding.
  10. INSTALL BACK WINDOW PACKING 
    1. Using a brush, apply Primer M to the exposed part of the vehicle body.
      Fig 7: Applying Primer To Exposed Part Of Vehicle Body
      G02954434Courtesy of © TOYOTA, LICENSE AGREEMENT TMS1002
      NOTE:
      • Allow the Primer M to dry for 3 minutes or more.
      • Throw away any leftover Primer M.
    2. Install the back window packing.
  11. INSTALL BACK WINDOW GLASS 
    1. Clean and shape the contact surface of the vehicle body.
      1. On the contact surface of the vehicle body, use a knife to cut away excess adhesive as shown in Fig 8 .
        Fig 8: Cutting Away Excess Adhesive
        G02954435Courtesy of © TOYOTA, LICENSE AGREEMENT TMS1002

        HINT:

        Leave as much adhesive on the vehicle body as possible.

        NOTE: Be careful not to damage the vehicle body.
      2. Clean the contact surface of the vehicle body with cleaner.

        HINT:

        Even if all the adhesive has been removed, clean the vehicle body.

    2. Position the glass.
      1. Using a suction cup, place the glass in the correct position.
      2. Check that the entire contact surface of the glass rim is perfectly even.
      3. Place matchmarks over the glass and vehicle body on the locations indicated in Fig 9 .
        Fig 9: Placing Matchmarks Over Glass & Vehicle Body
        G02954436Courtesy of © TOYOTA, LICENSE AGREEMENT TMS1002

        HINT:

        • Placing matchmarks is only necessary if the glass being installed is new. If it is reused glass, matchmarks should already be present.
        • When reusing the glass, check and correct the match-mark positions.
      4. Using a suction cup, remove the glass.
    3. Using a brush, apply Primer M to the exposed part of the vehicle body.
      Fig 10: Applying Primer M To Exposed Part Of Vehicle Body
      G02954437Courtesy of © TOYOTA, LICENSE AGREEMENT TMS1002
      NOTE:
      • Allow the Primer M to dry for 3 minutes or more.
      • Do not apply Primer M to the adhesive.
      • Throw away any leftover Primer M.
      • Do not apply too much Primer M.
    4. Using a brush or sponge, apply Primer G to the contact surface of the glass.
      Fig 11: Applying Primer G To Contact Surface Of Glass
      G02954438Courtesy of © TOYOTA, LICENSE AGREEMENT TMS1002

      HINT:

      If Primer G is applied to an area that is not specified, apply white gasoline to a clean cloth and wipe off the excess primer.

      NOTE:
      • Allow the Primer G to dry for 3 minutes or more.
      • Throw away any leftover Primer G.
      • Do not apply too much Primer G.
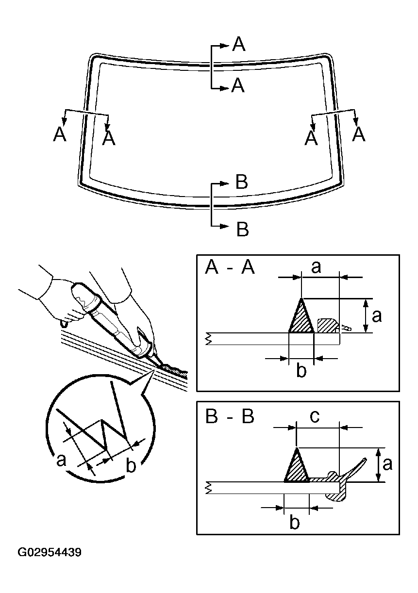
    5. Apply adhesive to the glass.

      Adhesive: Part No. 08850-00801 or equivalent 

      1. Cut off the tip of the cartridge nozzle as shown in Fig 12 .
        Fig 12: Cutting Off Tip of Cartridge Nozzle
        G02954439Courtesy of © TOYOTA, LICENSE AGREEMENT TMS1002

      HINT:

      After cutting off the tip, use all adhesive within the time written in TEMPERATURE CHART  .

      Usage time frame: 

      TEMPERATURE CHART

      Temperature Usage Timeframe
      35°C (95°F) 15 minutes
      20°C (68°F) 1 hour 40 minutes
      5°C (41°F) 8 hours
    6. Load the sealer gun with the cartridge.
    7. Apply adhesive to the glass as shown in the illustration.

      Specification: 

      MEASUREMENT CHART

      Area Measurement
      a 12.0 mm (0.472 in.)
      b 8.0 mm (0.315 in.)
      c 14.5 mm (0.571 in.)
    8. Install the glass to the vehicle body.
      1. Using a suction cup, position the glass so that the matchmarks are aligned. Press it in gently along the rim.
        Fig 13: Installing Glass Using Suction Cup
        G02954440Courtesy of © TOYOTA, LICENSE AGREEMENT TMS1002
      2. Lightly press the front surface of the glass to ensure that it is securely fit to the vehicle body.
        NOTE: Check that the vehicle body and glass have a small gap between them.
      3. Hold the glass in place securely with protective tape or equivalent until the adhesive hardens.
      4. Using a scraper, remove any excess or protruding adhesive.
        Fig 14: Removing Excess Or Protruding Adhesive
        G02954441Courtesy of © TOYOTA, LICENSE AGREEMENT TMS1002

      HINT:

      Apply adhesive on the glass rim.

      Fig 15: Applying Adhesive On Glass Rim
      G02954442Courtesy of © TOYOTA, LICENSE AGREEMENT TMS1002
      NOTE: Do not drive the vehicle for the amount of time written in the table below.

      Minimum time: 

      TEMPERATURE CHART

      Temperature Minimum time prior to driving vehicle
      35°C (95°F) 1 hour 30 minutes
      20°C (68°F) 5 hours
      5°C (41°F) 24 hours
  12. CHECK FOR LEAKS AND REPAIR 
    1. Conduct a leak test after the adhesive has completely hardened.
    2. Seal any leaks with auto glass sealer.