lemon-mirror:
Home >> Lexus >> 2004 >> SC 430 >> Repair and Diagnosis >> Engine Mechanical >> Exhaust >> Engine Exhaust Assembly >> Exhaust Pipe >> Components

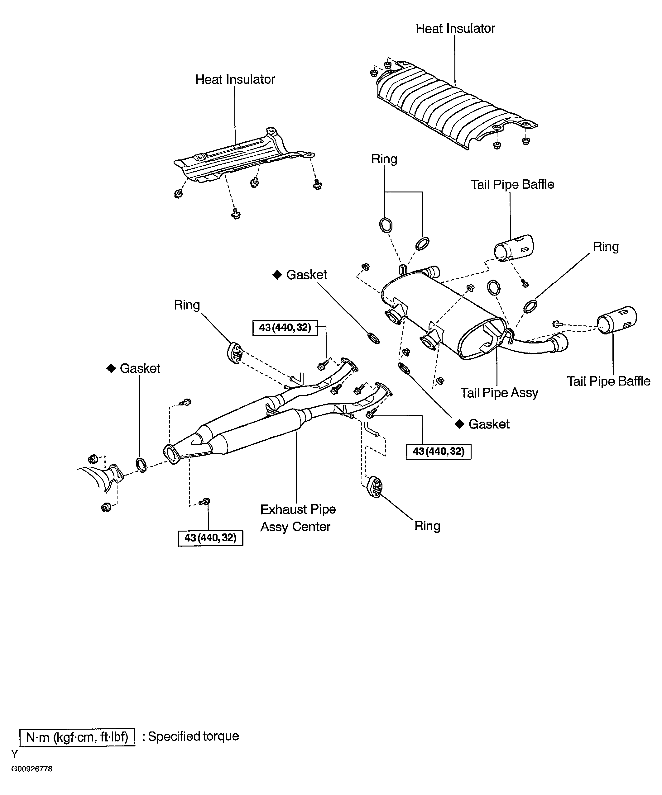
Exhaust Pipe: Components

Fig 1: Locating Exhaust Pipe Components (1 Of 2)
G00926777Courtesy of © TOYOTA, LICENSE AGREEMENT TMS1002
Fig 2: Locating Exhaust Pipe Components (2 Of 2)
G00926778Courtesy of © TOYOTA, LICENSE AGREEMENT TMS1002