lemon-mirror:
Home >> Lexus >> 2005 >> GS 430 >> Repair and Diagnosis >> Electrical >> Gauges >> Combination Meter >> Inspection

Combination Meter: Inspection

  1. Connector disconnected: INSPECT COMBINATION METER CIRCUIT 

    Disconnect connector "A" and "B" from the combination meter and inspect the connectors on the wire harness side as shown in TESTER CONNECTION SPECIFIED CONDITION  .

    Fig 1: Identifying Combination Meter Connector (A And B)
    G02940407Courtesy of © TOYOTA, LICENSE AGREEMENT TMS1002
    TESTER CONNECTION SPECIFIED CONDITION

    Tester connection Condition Specified condition
    A1 - Ground Ignition switch ON Battery positive voltage
    A3 - A4 Constant Continuity
    A7 - Ground Light control switch HEAD and headlight dimmer switch HI Continuity
    A8 - Ground Constant Continuity
    B22 - Ground Constant Continuity
    A10 - Ground Window washer level warning switch Float down Continuity
    B1 - Ground Ignition switch ON Battery positive voltage
    B4 - B6 Constant Approx. 10 kΩ
    B5 - B6 Turn light control rheostat to bright position Approx. 0 kΩ
    B5 - B6 Turn light control rheostat to dark position Approx. 10 kΩ
    B13 - Ground Constant Battery positive voltage
    B14 - Ground Constant Battery positive voltage
    B15 - Ground Light control switch in HEAD Battery positive voltage

    If circuit is not as specified, wiring diagram and inspect the circuits connected to other parts.

  2. Warning light circuit plate: INSPECT COMBINATION METER CIRCUIT PLATE 
    1. Remove meter cover.
    2. Disconnect connectors "C", "D", "E", "F" and "G" from the meter circuit plate and inspect the connectors on the wire harness side as shown in INDICATOR LIGHT CHECK  .
      Fig 2: Identifying Combination Meter Circuit Plate Connectors (C, D, E, F & G)
      G02940408Courtesy of © TOYOTA, LICENSE AGREEMENT TMS1002
      INDICATOR LIGHT CHECK

      Tester connection Check indicator light Specified condition
      D10(+) - D12 (-) Fuel level warning light Continuity
      D6 (+) - D8 (-) Headlight indicator light (USA) Taillight indicator light (CANADA) Continuity
      D2 (+) - D4 (-) Hi-beam indicator light Continuity
      C3 (+) - C7 (-) Engine oil level warning light Continuity
      C3 (+) - C5 (-) Malfunction indicator light Continuity
      E19(-) -E20(+) Slip warning light Continuity
      E18 (-) - E20 (+) TRAC OFF indicator light Continuity
      E17(-)- E20 (+) Window washer level warning light Continuity
      E16 (-) - E20 (+) ABS warning light Continuity
      E15 (-) - E20 (+) VSC OFF indicator light Continuity
      E14 (-) - E20 (+) Brake warning light Continuity
      E13 (-) - E20 (+) ECT SNOW indicator light Continuity
      E12 (-) - E20 (+) Low oil pressure warning light Continuity
      E11 (-) - E20 (+) ECT PWR indicator light Continuity
      E10 (-) - E20 (+) Discharge warning light Continuity
      E9 (-) - E20 (+) CRUISE MAIN indicator light Continuity
      E8 (-) - E20 (+) Seat belt warning light Continuity
      E7 (-) - E20 (+) Rear Lights warning light Continuity
      E6 (-) - E20 (+) Headlight leveling indicator Continuity
      E4 (+) - E5 (-) SRS warning light Continuity
      E3 (-) - E4 (+) Open door warning light Continuity
      F4 (-) - F12 (+) A/T shift indicator light (L) Continuity
      F11 (-) - F12 (+) A/T shift indicator light (2) Continuity
      F10 (-) - F12 (+) A/T shift indicator light (3) Continuity
      F8 (-) - F12 (+) A/T shift indicator light (P) Continuity
      F5 (-) - F12 (+) A/T shift indicator light (R) Continuity
      F2 (-) - F12 (+) A/T shift indicator light (N) Continuity
      F1 (-) - F12 (+) A/T shift indicator light (D) Continuity
      G1 (+) - G5 (-) Left turn signal indicator light Continuity
      G6 (+) - G5 (-) Right turn signal indicator light Continuity

      If circuit is not as specified, replace the bulb or circuit plate.

  3. From combination meter ECU to gauges: INSPECT COMBINATION METER CIRCUIT PLATE 
    Fig 3: Identifying Combination Meter Circuit Plate Connectors (O, P, Q & R)
    G02940409Courtesy of © TOYOTA, LICENSE AGREEMENT TMS1002
    TERMINALS RESISTANCE CHECK

    Terminal Resistance (Ω)
    O1 - O3 (Engine coolant temperature receiver gauge) Approx. 164.2
    O2 - O4 (Engine coolant temperature receiver gauge) Approx. 151.8
    P1 - P4 (Tachometer) Approx. 164.2
    P2 - P3 (Tachometer) Approx. 151.8
    Q1 - Q4 (Speedometer) Approx. 164.2
    Q2 - Q3 (Speedometer) Approx. 151.8
    R1 - R4 (Fuel receiver gauge) Approx. 164.2
    R2 - R3 (Fuel receiver gauge) Approx. 151.8

    If circuit is not as specified, inspect the gauge or meter.

    Then recheck system.

    If circuit is not as specified, replace the circuit plate.

  4. From combination meter ECU to telltale light assembly: INSPECT COMBINATION METER CIRCUIT PLATE 

    Disconnect connector "G" and "U" from the meter circuit plate and inspect the connectors on the wire harness side as follows.

    Fig 4: Identifying Combination Meter Circuit Plate Connectors (G & U)
    G02940410Courtesy of © TOYOTA, LICENSE AGREEMENT TMS1002
    TESTER CONNECTION SPECIFIED CONDITION

    Tester connection Specified condition
    G1 - U9 Continuity
    G3 - U1 Continuity
    G5 - U10 Continuity
    G6 - U4 Continuity
    G7 - U3 Continuity
    G8 - U8 Continuity

    If circuit is not as specified, replace the circuit plate.

  5. INSPECT TELLTALE LIGHT ASSEMBLY CONTINUITY 
    Fig 5: Identifying Telltale Light Assembly Connector Terminals
    G02940411Courtesy of © TOYOTA, LICENSE AGREEMENT TMS1002
    TELLTALE LIGHT ASSEMBLY CONTINUITY CHECK

    Switch position Tester connection Condition
    ODO/TRIP switch Free 3 - 10 No continuity
    ODO/TRIP switch Pushed in 3 - 10 Continuity
    RESET switch Free 8 - 10 No continuity
    RESET switch Pushed in 8 - 10 Continuity
    Turn signal switch RIGHT 4 - 10 Continuity
    Turn signal switch LEFT 9 - 10 Continuity

    If continuity is not as specified, replace the telltale light assembly.

  6. INSPECT SPEEDOMETER ON-VEHICLE 

    Using a speedometer tester, inspect the speedometer for allowable indication error and check the operation of the odometer.

    HINT:

    Tire wear and tire over or under inflation will increase the indication error.

    Fig 6: Standard Indication And Allowable Range Table (USA (mph) And Canada (km/h))
    G02940412Courtesy of © TOYOTA, LICENSE AGREEMENT TMS1002

    If error is excessive, replace the speedometer.

  7. INSPECT SPEEDOMETER RESISTANCE 

    Measure the resistance between terminals with fixing pointer to the stopper.

    Fig 7: Identifying Speedo Meter Terminals
    G02940413Courtesy of © TOYOTA, LICENSE AGREEMENT TMS1002
    SPEEDOMETER RESISTANCE CHECK

    Tester connection Resistance (Ω)
    A - B 140 - 185
    C - D 130 - 175

    If resistance value is not as the specified, replace the meter.

  8. INSPECT TACHOMETER ON-VEHICLE 
    1. Connect a tune-up test tachometer, and start the engine.
      NOTE:
      • Reversing the connection of the tachometer will damage the transistors and diodes inside.
      • When removing or installing the tachometer, be careful not to drop or subject it to heavy shocks.
    2. Compare the tester and tachometer indications.

      DC 13.5 V 25 °C at (77°F) 

      STANDARD INDICATION AND ALLOWABLE

      Standard indication Allowable range
      700 630 - 770
      1,000 900 - 1,100
      2,000 1,850 - 2,150
      3,000 2,800 - 3,200
      4,000 3,800 - 4,200
      5,000 4,800 - 5,200
      6,000 5,750 - 6,250
      7,000 6,700 - 7,300
  9. INSPECT TACHOMETER RESISTANCE 

    Measure the resistance between terminals with fixing pointer to the stopper.

    Fig 8: Identifying Tachometer Terminal
    G02940414Courtesy of © TOYOTA, LICENSE AGREEMENT TMS1002
    TACHOMETER RESISTANCE CHECK

    Tester connection Resistance (Ω)
    A - B 140 - 185
    C - D 130 - 175

    If resistance value is not as specified, replace the meter.

  10. INSPECT FUEL RECEIVER GAUGE OPERATION (See  FUEL GAUGE  ) 
    1. Disconnect the connector from the main sender gauge.
    2. Turn the ignition switch ON, check that the receiver gauge needle indicates EMPTY.
      Fig 9: Disconnecting Connector From Main Sender Gauge
      G02940415Courtesy of © TOYOTA, LICENSE AGREEMENT TMS1002
    3. Connect the main sender gauge.
    4. Disconnect the connector from the sub sender gauge.
    5. Turn the ignition switch ON, check that the receiver gauge needle indicates EMPTY.

      HINT:

      Because of the silicon oil in the gauge, it will take a short time for needle to stabilize.

      If operation is not as specified, inspect the receiver gauge resistance.

      Fig 10: Connecting Main Sender Gauge
      G02940416Courtesy of © TOYOTA, LICENSE AGREEMENT TMS1002
  11. INSPECT FUEL RECEIVER GAUGE RESISTANCE 

    Measure the resistance between terminals with fixing pointer to the stopper.

    Fig 11: Identifying Fuel Receiver Gauge Terminals
    G02940417Courtesy of © TOYOTA, LICENSE AGREEMENT TMS1002
    FUEL RECEIVER GAUGE RESISTANCE CHECK

    Tester connection Resistance (Ω)
    A - B 140 - 185
    C - D 130 - 175

    If resistance value is not as specified, replace the receiver gauge.

  12. INSPECT FUEL MAIN SENDER GAUGE RESISTANCE 

    Measure the resistance between terminals 1 and 2 for each float position.

    Fig 12: Measuring Resistance Between Terminal 1 & 2 For Each Float Position
    G02940418Courtesy of © TOYOTA, LICENSE AGREEMENT TMS1002
    FUEL MAIN SENDER GAUGE RESISTANCE CHECK

    Float position mm (in.) Resistance (Ω)
    F: Approx. 34.6 (1.36) +/- 3 (0.12) Approx. 2.0 +/- 1.0
    1/2: Approx. 52.4 (2.06) +/- 3 (0.12) Approx. 26.1 +/- 3.0
    E: Approx. 134.9 (5.31) +/- 3 (0.12) Approx. 48.7 +/- 1.0

    If resistance value is not as specified, replace the main sender gauge.

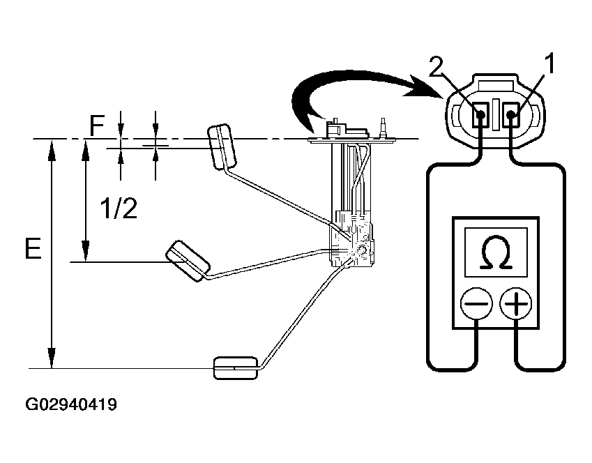
  13. INSPECT FUEL SUB SENDER GAUGE RESISTANCE 

    Measure the resistance between terminals 1 and 2 for each float position.

    Fig 13: Measuring Resistance Between Terminal 1 & 2 For Each Float Position
    G02940419Courtesy of © TOYOTA, LICENSE AGREEMENT TMS1002
    FUEL SUB SENSOR GAUGE RESISTANCE CHECK

    Float position mm (in.) Resistance (Ω)
    F: Approx. 9.5 (0.37) +/- 3 (0.12) Approx. 2.0 +/- 1.0
    1/2: Approx. 110.5 (4.35) +/- 3 (0.12) Approx. 33.0 +/- 3.0
    E: Approx. 206.5 (8.13) +/- 3 (0.12) Approx. 61.3 +/- 1.0

    If resistance value is not as specified, replace the sub sender gauge.

  14. INSPECT ENGINE COOLANT TEMPERATURE RECEIVER GAUGE OPERATION (See  ENGINE COOLANT TEMPERATURE GAUGE  ) 
  15. INSPECT ENGINE COOLANT TEMPERATURE RECEIVER GAUGE RESISTANCE 

    Measure the resistance between terminals with fixing pointer to the stopper.

    Fig 14: Identifying Engine Coolant Temperature Receiver Gauge Terminal
    G02940420Courtesy of © TOYOTA, LICENSE AGREEMENT TMS1002
    ENGINE COOLANT TEMPERATURE RECEIVER GAUGE RESISTANCE CHECK

    Tester connection Resistance (Ω)
    A - B 140 - 185
    C - D 130 - 175

    If resistance value is not as specified, replace the receiver gauge.

    HINT:

    This circuit includes the diode.

    If resistance value is not as specified, replace the receiver gauge.

  16. INSPECT LOW OIL PRESSURE WARNING LIGHT 
    1. Disconnect the connector from the warning switch and ground terminal on the wire harness side connector.
    2. Turn the ignition switch ON and check that the warning light lights up.

      If the warning light does not light up, test the bulb.

      Fig 15: Checking Warning Lights Up While Ignition Switch On
      G02940421Courtesy of © TOYOTA, LICENSE AGREEMENT TMS1002
  17. INSPECT LOW OIL PRESSURE SWITCH CONTINUITY 
    1. Disconnect the connector from the switch.
    2. Check that continuity exists between terminal and ground with the engine stopped.
    3. Check that no continuity exists between terminal and ground with the engine running.

      HINT:

      Oil pressure should be over 24.5 kPa (0.25 kgf/cm2 , 3.55 psi).

      If operation is not as specified, replace the switch.

      Fig 16: Inspecting Low Oil Pressure Switch Continuity
      G02940422Courtesy of © TOYOTA, LICENSE AGREEMENT TMS1002
  18. INSPECT BRAKE WARNING LIGHT 
    1. Disconnect the connector from the brake fluid warning switch.
    2. Release the parking brake pedal.
    3. Connect the terminals on the wire harness side of the level warning switch connector.
    4. Start the engine, check that the warning light lights up.

      If the warning light does not light up, test the bulb or wire harness.

      Fig 17: Inspecting Brake Warning Light
      G02940423Courtesy of © TOYOTA, LICENSE AGREEMENT TMS1002
  19. INSPECT BRAKE FLUID LEVEL WARNING SWITCH CONTINUITY 
    1. Remove the reservoir tank cap and strainer.
    2. Disconnect the connector.
    3. Check that no continuity exists between the terminals with the switch OFF (float up).
    4. Use siphon, etc. to take fluid out of the reservoir tank.
    5. Check that continuity exists between the terminals with the switch ON (float down)
    6. Pour the fluid back in the reservoir tank.

      If operation is not as specified, replace the switch.

      Fig 18: Checking Continuity Between Terminals With Ignition Switch Off (Float Up) And On (Float Down)
      G02940424Courtesy of © TOYOTA, LICENSE AGREEMENT TMS1002
  20. INSPECT BRAKE FLUID LEVEL WARNING SWITCH CIRCUIT (See  BRAKE FLUID LEVEL WARNING SWITCH CIRCUIT  ) 
  21. INSPECT PARKING BRAKE SWITCH CONTINUITY 
    1. Check that continuity exists between the terminal and switch body with the switch ON (switch pin released).
    2. Check that no continuity exists between the terminal and switch body with the switch OFF (switch pin pushed in).

      If operation is not as specified, replace the switch or inspect ground point.

      Fig 19: Inspecting Parking Brake Switch Operation
      G02940425Courtesy of © TOYOTA, LICENSE AGREEMENT TMS1002
  22. INSPECT PARKING BRAKE SWITCH CIRCUIT (See  PARKING BRAKE SWITCH CIRCUIT  ) 
  23. INSPECT REAR LIGHTS WARNING LIGHT (See  LAMP FAILURE SENSOR CIRCUIT  ) 
    1. Disconnect the connector from the light failure sensor and ground terminal 3 on the wire harness side connector.
    2. Start the engine, check that the warning light lights up.

      If the warning light does not light up, inspect the bulb or wire harness.

      Fig 20: Inspecting Rear Lights Warning Light
      G02940426Courtesy of © TOYOTA, LICENSE AGREEMENT TMS1002
  24. INSPECT LIGHT FAILURE SENSOR CIRCUIT 

    Disconnect connector from the light failure sensor and inspect the connectors on the wire harness side as follows.

    Fig 21: Identifying Light Failure Sensor Connector Terminals
    G02940427Courtesy of © TOYOTA, LICENSE AGREEMENT TMS1002
    TESTER CONNECTION SPECIFIED CONDITION

    Tester connection Condition Specified condition
    1 - Ground Constant Continuity(1)
    2 - Ground Constant Continuity(1)
    6 - Ground Constant Continuity(1)
    7 - Ground Constant Continuity(1)
    11 - Ground Constant Continuity(1)
    12 - Ground Constant Continuity(1)
    5 - Ground Light control switch OFF No voltage
    5 - Ground Light control switch in TAIL or HEAD Battery positive voltage
    8 - Ground Ignition switch in LOCK or ACC No voltage
    8 - Ground Ignition switch ON Battery positive voltage
    9, 10 - Ground Stop light switch OFF No voltage
    9, 10 - Ground Stop light switch ON Battery positive voltage
    (1) There is resistance because this circuit is grounded through the bulb.

    If circuit is as specified, replace the relay.

    If circuit is not as specified, wiring diagram and inspect the circuits connected to other parts.

  25. INSPECT ENGINE OIL LEVEL WARNING LIGHT 
    1. Disconnect the connector from the switch.
    2. Run the engine.
    3. Turn the ignition switch ON, check that the warning light lights up approximately 40 seconds later.

      If the warning light does not light up, inspect bulb or wire harness.

      Fig 22: Inspecting Engine Oil Level Warning Light
      G02940428Courtesy of © TOYOTA, LICENSE AGREEMENT TMS1002
  26. INSPECT ENGINE OIL LEVEL WARNING SENSOR 
    1. Check that continuity exists between terminals with the switch to below 40 °C (104 °F). (Warning switch ON)
    2. Heat the switch to above 60°C (140 °F) in an oil bath.
      Fig 23: Checking Continuity Between Engine Oil Level Warning Sensor Terminal
      G02940429Courtesy of © TOYOTA, LICENSE AGREEMENT TMS1002
    3. Check that there is continuity between terminals with the switch ON (float up).
    4. Check that there is no continuity between terminals with the switch OFF (float down).

      If operation is not as specified, replace the switch.

      Fig 24: Heating Switch To Above 60°C In Oil Bath
      G02940430Courtesy of © TOYOTA, LICENSE AGREEMENT TMS1002
  27. INSPECT ENGINE OIL LEVEL WARNING SENSOR CIRCUIT 

    Disconnect the switch connector and inspect the connector on wire harness side, as shown in ENGINE OIL LEVEL WARNING SENSOR CONTINUITY CHECK .

    Fig 25: Identifying Engine Oil Level Warning Sensor Connector Terminal
    G02940431Courtesy of © TOYOTA, LICENSE AGREEMENT TMS1002
    ENGINE OIL LEVEL WARNING SENSOR CONTINUITY CHECK

    Tester connection Condition Specified condition
    2 - Ground Constant Continuity

    If continuity is not as specified, inspect the wire harness or ground point.

  28. INSPECT OPEN DOOR WARNING LIGHT 

    Disconnect the connector from the door courtesy switch and ground terminal 1 on the wire harness side, and check that the warning light lights up.

    If the warning light does not light up, inspect the bulb or wire harness.

    Fig 26: Inspecting Open Door Warning Light
    G02940432Courtesy of © TOYOTA, LICENSE AGREEMENT TMS1002
  29. INSPECT DOOR COURTESY SWITCH CONTINUITY AND CIRCUIT (See  INSPECTION  ) 
  30. INSPECT LIGHT CONTROL RHEOSTAT OPERATION 

    Gradually, turn the rheostat knob from the bright side to dark side and check that the resistance decreases from 10 kΩ to 0 Ω between terminal 4 and 5. (Rheostat knob turned to clockwise)

    If operation is not as specified, replace the rheostat light control.

    Fig 27: Inspecting Light Control Rheostat Operation
    G02940433Courtesy of © TOYOTA, LICENSE AGREEMENT TMS1002
  31. INSPECT WINDOW WASHER LEVEL WARNING LIGHT 
    1. Disconnect the connector from the warning switch and ground terminal on the wire harness side connector.
    2. Engine running and check that the warning light lights up.

      If the warning light does not light up, inspect the bulb or wire harness.

      Fig 28: Inspecting Window Washer Level Warning Light
      G02940434Courtesy of © TOYOTA, LICENSE AGREEMENT TMS1002
  32. INSPECT WINDOW WASHER LEVEL WARNING SWITCH CONTINUITY 
    1. Check that no continuity exists between the terminals with the switch OFF (float up).
    2. Check that continuity exists between the terminals with the switch ON (float down).

      If operation is not as specified, replace the switch or inspect ground point.

      Fig 29: Checking Continuity Between Terminals With Ignition Switch Off (Float Up) And Switch On (Float Down)
      G02940435Courtesy of © TOYOTA, LICENSE AGREEMENT TMS1002
  33. INSPECT SEAT BELT WARNING LIGHT 
    1. Disconnect the connector from the retractor switch and ground terminal on the wire harness side connector.
    2. Turn the ignition switch ON and check that the warning light lights up.

      If the warning light does not light up, inspect the bulb or wire harness.

      Fig 30: Inspecting Seat Belt Warning Light
      G02940436Courtesy of © TOYOTA, LICENSE AGREEMENT TMS1002
  34. INSPECT SEAT BELT BUCKLE SWITCH CONTINUITY 
    1. Check that continuity exists between the terminals 1 and 4 on the switch side connector with the switch ON (belt fastened).
    2. Check that continuity exists between the terminals 2 and 4 on the switch side connector with the switch OFF (belt unfastened).

      If operation is not as specified, replace the switch.

      Fig 31: Inspecting Seat Belt Buckle Switch Continuity While Switch On (Belt Fastened) And Switch Off (Belt Unfastened)
      G02940437Courtesy of © TOYOTA, LICENSE AGREEMENT TMS1002
  35. INSPECT SEAT BELT BUCKLE SWITCH CIRCUIT 

    Disconnect the switch connector and inspect the connector on wire harness side, as shown in TESTER CONNECTION SPECIFIED CONDITION .

    Fig 32: Identifying Seat Belt Buckle Switch Connector Terminals
    G02940438Courtesy of © TOYOTA, LICENSE AGREEMENT TMS1002
    TESTER CONNECTION SPECIFIED CONDITION

    Tester connection Condition Specified condition
    4 - Ground Constant Continuity

    If continuity is not as specified, inspect the circuits connected to other parts.