lemon-mirror:
Home >> Lexus >> 2005 >> IS 300 Base, Automatic >> Repair and Diagnosis >> Body & Frame >> Windows >> Back Window Glass >> Installation

Back Window Glass: Installation

  1. CLEAN AND SHAPE CONTACT SURFACE OF BODY 
    1. Using a knife, cut away any rough areas on the body.

      HINT:

      Leave as much of the adhesive on the body as possible.

    2. Clean the cutting surface of the adhesive with a piece of shop rag saturated in cleaner.

    HINT:

    Even if all the adhesive has been removed with a knife, clean the body with the shop rag.

    Fig 1: Cleaning And Shaping Contact Surface Of Body
    G02946373Courtesy of © TOYOTA, LICENSE AGREEMENT TMS1002
  2. CLEAN REMOVED GLASS 
    1. Remove the damaged No. 2 stoppers.
    2. Using a scraper, remove the adhesive sticking to the glass.
    3. Clean the glass with cleaner.
    NOTE:
    • Be careful not to damage the glass. 
    • Do not touch the glass face after cleaning it. 
    Fig 2: Cleaning Removed Glass
    G02946374Courtesy of © TOYOTA, LICENSE AGREEMENT TMS1002
  3. REPLACE NO. 1 STOPPERS 
    1. Remove the damaged stoppers.
    2. Cut off the old adhesive around the stoppers installation area.
      NOTE: Be careful not to damage the body. 
    3. Clean the installation area.
    4. Attach new stoppers to the body with the notches on the body aligned with the stoppers as shown in Fig 3 .
      Fig 3: Replacing No. 1 Stoppers
      G02946375Courtesy of © TOYOTA, LICENSE AGREEMENT TMS1002
  4. INSTALL NEW NO. 2 STOPPERS 

    Attach new stoppers to the glass with the ceramic notches on the glass aligned with the stoppers as shown in Fig 4 .

    Fig 4: Installing New No. 2 Stoppers
    G02946376Courtesy of © TOYOTA, LICENSE AGREEMENT TMS1002
  5. INSTALL NEW BACK WINDOW OUTSIDE MOLDING 

    Install new back window outside molding to the back window glass as shown in Fig 5 .

    HINT:

    • Install the back window outside molding from the center of the glass on the lower side of the vehicle.
    • When installing the back window outside molding, do not stretch it.
      Fig 5: Installing New Back Window Outside Molding
      G02946377Courtesy of © TOYOTA, LICENSE AGREEMENT TMS1002
  6. POSITION GLASS 
    1. Place the glass in the correct position.
    2. Check that all contacting parts of the glass rim are perfectly even.
    3. Place reference marks between the glass and body.
    4. Remove the glass.
      Fig 6: Positioning Glass
      G02946378Courtesy of © TOYOTA, LICENSE AGREEMENT TMS1002
  7. CLEAN CONTACT SURFACE OF GLASS 

    Using a cleaner, clean the contact surface which is black-colored area around the entire glass rim.

    NOTE: Do not touch the glass face after cleaning it. 
    Fig 7: Cleaning Contact Surface Of Glass
    G02946379Courtesy of © TOYOTA, LICENSE AGREEMENT TMS1002
  8. COAT CONTACT SURFACE OF BODY WITH PRIMER "M" 

    Using a brush, coat Primer M to the exposed part of body on the vehicle side.

    NOTE:
    • Let the primer coating dry for 3 minutes or more. 
    • Do not coat Primer M to the adhesive. 
    • Do not keep any of the opened Primer M for later use. 
    Fig 8: Coating Primer "M" To Exposed Part Of Body On Vehicle Side
    G02946380Courtesy of © TOYOTA, LICENSE AGREEMENT TMS1002
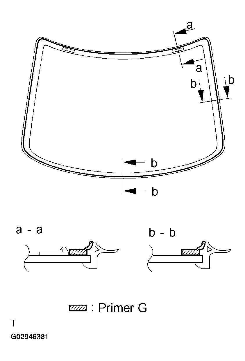
  9. COAT CONTACT SURFACE OF GLASS WITH PRIMER "G" 
    1. Using a brush or sponge, coat the edge of the glass and the contact surface with Primer G as shown in Fig 9 .
    2. When the primer is coated wrongly to the area other than the specified by accident, wipe it off with a clean shop rag before the primer dries.
    NOTE:
    • Let the primer coating dry for 3 minutes or more. 
    • Do not keep any of the opened Primer G for later use. 
    Fig 9: Coating Edge Glass & Contact Surface With Primer "G"
    G02946381Courtesy of © TOYOTA, LICENSE AGREEMENT TMS1002
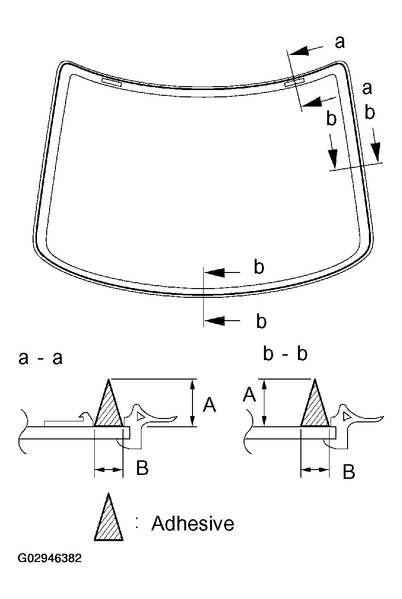
  10. APPLY ADHESIVE 
    1. Cut off the tip of the cartridge nozzle.
      1. Part No. 08850-00801 or equivalent 

      HINT:

      After cutting off the tip, finish off the adhesive within the time described in APPLY ADHESIVE TEMPERATURE SPECIFICATION  .

      APPLY ADHESIVE TEMPERATURE SPECIFICATION

      Temperature Tackfree time
      35 °C (95 °F) 15 minutes
      20 °C (68 °F) 100 minutes
      5 °C (41 °F) 8 hours
    2. Load the cartridge into the sealer gun.
    3. Coat the glass with adhesive as shown in Fig 10 .
      1. A: 12.5 mm (0.492 in.) 
      2. B: 8.0 mm (0.315 in.) 
      Fig 10: Coating Glass With Adhesive
      G02946382Courtesy of © TOYOTA, LICENSE AGREEMENT TMS1002
  11. INSTALL GLASS 
    1. Position the glass so that the reference marks are lined up, and press in gently along the rim.
      Fig 11: Positioning Glass & Pressing In Gently Along Rim
      G02946383Courtesy of © TOYOTA, LICENSE AGREEMENT TMS1002

      HINT:

      Confirm that the molding is attached to the body panel as shown in Fig 12 .

      Fig 12: Confirming Molding Is Attached To Body Panel
      G02946384Courtesy of © TOYOTA, LICENSE AGREEMENT TMS1002
    2. Hold the back window glass in place securely with a protective tape or equivalent until the adhesive hardens.
    NOTE: Take care not to drive the vehicle during the time described in  TEMPERATURE SPECIFICATION   . 
    TEMPERATURE SPECIFICATION

    Temperature Minimum time prior to driving the vehicle
    35 °C (95 °F) 1.5 hours
    20 °C (68 °F) 5 hours
    5 °C (41 °F) 24 hours
  12. INSPECT FOR LEAK AND REPAIR 
    1. Conduct a leak test after the hardening time has elapsed.
    2. Seal any leak with sealant.
      1. Part No. 08833-00030 or equivalent 
  13. INSTALL REAR PART OF ROOF HEADLINING 

    Install the 2 clips.

  14. INSTALL REAR ASSIST GRIPS
  15. INSTALL PACKAGE TRAY TRIM PANEL 
    1. Install the seat belt through the cutout of the package tray trim.
    2. Install the package tray trim as shown in Fig 13 .
      Fig 13: Installing Package Tray Trim Panel
      G02946385Courtesy of © TOYOTA, LICENSE AGREEMENT TMS1002
  16. INSTALL HIGH-MOUNTED STOP LIGHT 
    1. Connect the connector.
    2. Install the high-mounted stop light as shown in Fig 14 .
      Fig 14: Installing High-Mounted Stop Light
      G02946386Courtesy of © TOYOTA, LICENSE AGREEMENT TMS1002
  17. INSTALL ROOF SIDE INNER GARNISH 
    1. Install the roof side inner garnish as shown in the illustration.
    2. Employ the same manner described above to the other side.
    3. Fig 15: Installing Roof Side Inner Garnish
      G02946387Courtesy of © TOYOTA, LICENSE AGREEMENT TMS1002
  18. INSTALL UPPER PART OF REAR DOOR OPENING TRIMS 
  19. INSTALL REAR SEATBACK (See  INSTALLATION  ) 
  20. INSTALL REAR SEAT CUSHION (See  INSTALLATION  )