lemon-mirror:
Home >> Lexus >> 2005 >> IS 300 Base, Automatic >> Repair and Diagnosis >> Body & Frame >> Windows >> Back Window Glass >> Removal

Back Window Glass: Removal

HINT:

A bolt without a torque specification is shown in the standard bolt chart, (see SPECIFIED TORQUE FOR STANDARD BOLTS )

  1. REMOVE REAR SEAT CUSHION (See  REMOVAL  ) 
  2. REMOVE REAR SEATBACK (See  REMOVAL  ) 
  3. REMOVE UPPER PART OF REAR DOOR OPENING TRIMS 
  4. REMOVE ROOF SIDE INNER GARNISH 
    1. Using a screwdriver, disengage the clips.

      HINT:

      Tape the screwdriver tip before use.

    2. Pull the garnish upward to remove it.
    3. Employ the same manner described above to the other side.
      Fig 1: Removing Roof Side Inner Garnish
      G02946365Courtesy of © TOYOTA, LICENSE AGREEMENT TMS1002
  5. REMOVE HIGH-MOUNTED STOP LIGHT 
    1. Remove the high-mounted stop light as shown in Fig 2 .
    2. Disconnect the connector.
      Fig 2: Removing High-Mounted Stop Light
      G02946366Courtesy of © TOYOTA, LICENSE AGREEMENT TMS1002
  6. REMOVE PACKAGE TRAY TRIM PANEL 
    1. Pull the package tray trim panel upward to disengage the clips.
    2. Remove the rear seat outer belts through the cutout on the package tray trim.
    3. Pull the package tray trim panel forward to remove it.
    4. Fig 3: Removing Package Tray Trim Panel
      G02946367Courtesy of © TOYOTA, LICENSE AGREEMENT TMS1002
  7. REMOVE REAR ASSIST GRIPS 
  8. REMOVE REAR PART OF ROOF HEADLINING 

    Remove the 2 clips.

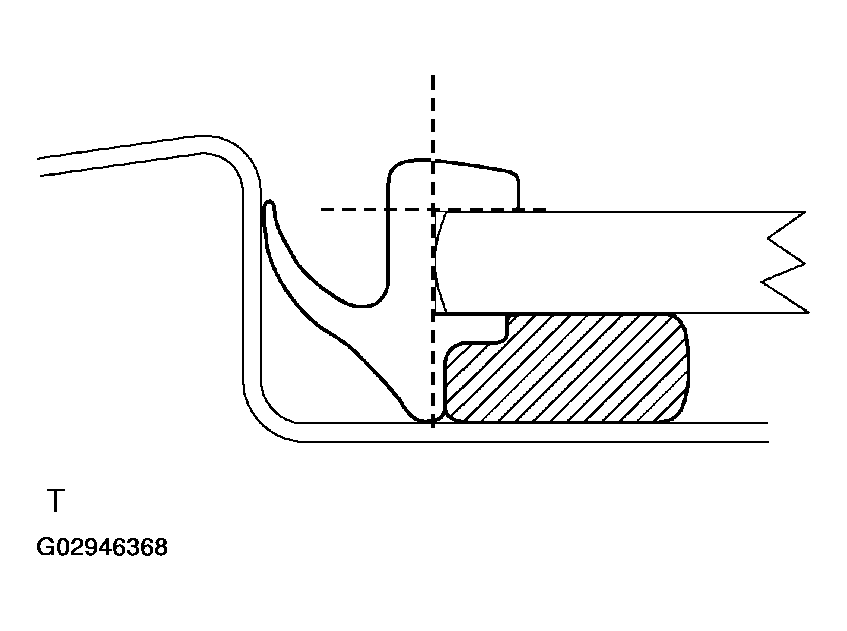
  9. REMOVE BACK WINDOW OUTSIDE MOLDING 
    1. Using a knife, cut off the molding as shown in Fig 4 .
      NOTE: Do not damage the body with the knife. 
    2. Remove the remaining molding.
      Fig 4: Removing Back Window Outside Molding
      G02946368Courtesy of © TOYOTA, LICENSE AGREEMENT TMS1002
  10. REMOVE BACK WINDOW GLASS 
    1. Disconnect the connector.
    2. Push piano wire through from the interior.
      Fig 5: Pushing Piano Wire Through From Interior
      G02946369Courtesy of © TOYOTA, LICENSE AGREEMENT TMS1002
    3. Tie both wire ends to wooden blocks or similar objects.

      HINT:

      Apply protective tape to the outer surface to keep the surface from being scratched.

      NOTE: When separating the glass, take care not to damage the paint and exterior. 
    4. Cut the adhesive by pulling the piano wire around it.

      HINT:

      Cut the adhesive areas as shown in Fig 6 , leaving the adhesive where the stoppers are.

      Fig 6: Pulling Piano Wire To Cut Adhesive
      G02946370Courtesy of © TOYOTA, LICENSE AGREEMENT TMS1002
    5. Let the piano wire pass as shown in Fig 7 , cut off the adhesive sticking to the stoppers.
      NOTE: Do not damage the glass stoppers. 
      Fig 7: Passing Piano Wire
      G02946371Courtesy of © TOYOTA, LICENSE AGREEMENT TMS1002
    6. Disengage the stoppers, then remove the glass.
    NOTE: Leave as much of the adhesive on the body as possible when cutting off the glass. 
    Fig 8: Removing Glass & Disengaging Clips
    G02946372Courtesy of © TOYOTA, LICENSE AGREEMENT TMS1002