lemon-mirror:
Home >> Lexus >> 2005 >> IS 300 Base, Automatic >> Repair and Diagnosis >> Electrical >> Gauges >> Combination Meter >> Inspection

Combination Meter: Inspection

  1. INSPECT COMBINATION METER CIRCUIT 

    Connector connected: 

    Connect connector "A" and "B" from the combination meter and inspect the connectors on the wire harness side as shown in COMBINATION METER CIRCUIT  .

    Fig 1: Inspecting Combination Meter Circuit (Connector Connected)
    G02946812Courtesy of © TOYOTA, LICENSE AGREEMENT TMS1002
    COMBINATION METER CIRCUIT

    Tester connection Condition Specified condition
    A2 - Ground (Turn L) Ignition switch ON and turn signal switch Left Battery voltage
    A3 - Ground (Turn R) Ignition switch ON and turn signal switch Right Battery voltage
    A4 - Ground (Beam +) Always Battery voltage
    A5 - Ground (Beam -) Headlight dimmer switch HI Battery voltage
    A6 - Ground (BRK level) Ignition switch ON and Brake fluid level warning switch LO Battery voltage
    A7 - Ground (Check engine) Ignition switch ON and engine running Battery voltage
    A8 - Ground (SRS) SRS warning light does not light up Battery voltage
    A9 - Ground (ABS) Ignition switch ON and ABS warning does not lights up Battery voltage
    A10 - Ground (ILL-) Light control switch TAIL or HEAD Continuity
    A11 - Ground (Headlight beam level) Headlight beam level control system is operation Battery voltage
    A12 - Ground (Speed signal input) Ignition switch ON and turn propeller shaft slowly Battery voltage
    A13 - Ground (Speed signal output) Ignition switch ON and turn propeller shaft slowly 1V to 4.5-5.5V
    A14 - Ground (Tachometer signal) Engine running Pulse generation *1
    A15 - Ground (MPX +B) Always Battery voltage
    A16 - Ground (DOME+B) Always Battery voltage
    A17 - Ground (IGN) Ignition switch ON Battery voltage
    A18 - Ground (Power ground) Always Continuity
    A19 - Ground (Signal ground) Always Continuity
    A20 - Ground (MPX+) Ignition switch ON Pulse generation
    A21 - Ground (MPX-) Ignition switch ON Pulse generation
    A22 - Ground (ILL+) Light control switch TAIL or HEAD Battery voltage
    B1 - Ground (SP ground) Always Continuity
    B3 - Ground (TRC OFF) Ignition switch ON and TRC OFF indicator does not light up Battery voltage
    B4 - Ground (SLIP) Ignition switch ON and SLIP indicator does not light up Battery voltage
    B5 - Ground (VSC) Ignition switch ON and VSC indicator does not light up Battery voltage
    B6 - Ground (Rear Lights) Ignition Switch ON and rear lights bulb is blown Battery voltage
    B8 - Ground (Security) Theft deterrent system is operating Battery voltage
    B9 - Ground (Alternator L terminal) Engine running Battery voltage

    If circuit is not as specified, wiring diagram and inspect the circuits connected to other parts.

  2. INSPECT SPEEDOMETER/ON-VEHICLE 

    Using a speedometer tester, inspect the speedometer for allowable indication error and check the operation of the odometer.

    HINT:

    Tire wear and tire over or under inflation will increase the indication error.

    Fig 2: Speedometer/On-Vehicle Specification
    G02946813Courtesy of © TOYOTA, LICENSE AGREEMENT TMS1002

    If error is excessive, replace the speedometer.

  3. INSPECT SPEEDOMETER RESISTANCE (See  SPEEDOMETER  ) 

    Measure the resistance between terminals with fixing pointer to the stopper.

    SPEEDOMETER RESISTANCE

    Tester connection Resistance (Ω)
    A - D 160
    B - C 160
    Fig 3: Inspecting Speedometer Resistance
    G02946814Courtesy of © TOYOTA, LICENSE AGREEMENT TMS1002

    If resistance value is not as the specified, replace the meter.

  4. INSPECT VEHICLE SPEED SENSOR OPERATION 

    (See  SPEED SENSOR CIRCUIT  ) 

    1. Connect the positive (+) lead from battery to terminal 1 and negative (-) lead to terminal 2.
    2. Connect the positive (+) lead from tester to terminal 3 and negative (-) lead to terminal 2.
    3. Rotate shaft.
    4. Check that there is a voltage change from approx. 0V to 11V or more between terminals 2 and 3.
    5. Fig 4: Identifying Vehicle Speed Sensor Operation
      G02946815Courtesy of © TOYOTA, LICENSE AGREEMENT TMS1002

    HINT:

    The voltage change should be 4 times for every revolution of the speed sensor shaft.

    If operation is not as specified, replace the sensor.

  5. INSPECT TACHOMETER/ON-VEHICLE 
    1. Connect a tune-up test tachometer, and start the engine.
      NOTE:
      • Reversing the connection of the tachometer will damage the transistors and diodes inside.
      • When removing or installing the tachometer, be careful not to drop or subject it to heavy shocks.
    2. Compare the tester and tachometer indications.

      DC13.5V 25°C at (77°F) 

      TACHOMETER/ON-VEHICLE

      Standard indication Allowable range
      700 630-770
      1,000 (900-1,100)
      2,000 (1,850-2,150)
      3,000 2,850-3,150
      4,000 (3,800-4,200)
      5,000 4,800-5,200
      6,000 (5,750-6,250)
      7,000 6,700-7,300
      8,000 7,700-8,300
  6. INSPECT TACHOMETER RESISTANCE (See  TACHOMETER  ) 

    Measure the resistance between terminals with fixing pointer to the stopper.

    TACHOMETER RESISTANCE

    Tester connection Resistance (Ω)
    A- D 160
    B - C 160

    If resistance value is not as specified, replace the meter.

    Fig 5: Measuring Resistance Between Terminals With Fixing Pointer To Stopper
    G02946816Courtesy of © TOYOTA, LICENSE AGREEMENT TMS1002
  7. INSPECT FUEL RECEIVER GAUGE OPERATION (See  FUEL GAUGE  ) 
    1. Disconnect the connector from the main sender gauge.
    2. Turn the ignition switch ON, check that the receiver gauge needle indicates EMPTY.
      Fig 6: Checking Receiver Gauge Needle Indicates Empty
      G02946817Courtesy of © TOYOTA, LICENSE AGREEMENT TMS1002
    3. Connect the main sender gauge.
      Fig 7: Connecting Main Sender Gauge
      G02946818Courtesy of © TOYOTA, LICENSE AGREEMENT TMS1002
    4. Disconnect the connector from the sub sender gauge.
    5. Turn the ignition switch ON, check that the receiver gauge needle indicates EMPTY.

      HINT:

      Because of the silicon oil in the gauge, it will take a short time for needle to stabilize.

      If operation is not as specified, inspect the receiver gauge resistance.

  8. INSPECT FUEL RECEIVER GAUGE RESISTANCE (See  FUEL SENDER GAUGE CIRCUIT  ) 

    Measure the resistance between terminals with fixing pointer to the stopper.

    FUEL RECEIVER GAUGE RESISTANCE

    Tester connection Resistance (Ω)
    A- D 160
    B - C 160
    Fig 8: Inspecting Fuel Receiver Gauge Resistance
    G02946819Courtesy of © TOYOTA, LICENSE AGREEMENT TMS1002

    If resistance value is not as specified, replace the receiver gauge.

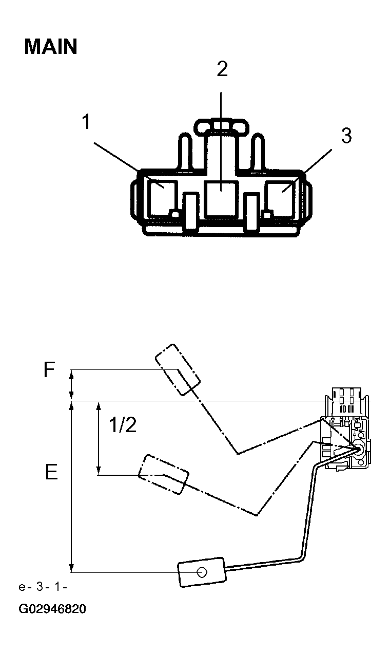
  9. INSPECT FUEL MAIN SENDER GAUGE RESISTANCE 

    Measure the resistance between terminals 1 and 2 for each float position.

    FUEL MAIN SENDER GAUGE RESISTANCE

    Float position mm (in.) Resistance (Ω)
    F: Approx. 22.9 (0.90) +/- 3 (0.12) Approx. 2.0 +/- 1.0
    1/2: Approx. 58.3 (2.30) +/- 3 (0.12) Approx. 30.3 +/- 3.0
    E: Approx. 133.6 (5.26) +/- 3 (0.12) Approx. 55.0 +/- 1.0
    Fig 9: Inspecting Fuel Main Sender Gauge Resistance
    G02946820Courtesy of © TOYOTA, LICENSE AGREEMENT TMS1002

    If resistance value is not as specified, replace the main sender gauge.

  10. INSPECT FUEL SUB SENDER GAUGE RESISTANCE 

    Measure the resistance between terminals 1 and 2 for each float position.

    FUEL SUB SENDER GAUGE RESISTANCE

    Float position mm (in.) Resistance (Ω)
    F: Approx. 29.1 (1.15) +/-3(0.12) Approx. 2.0 +/- 1.0
    1/2: Approx. 65.8 (2.59) +/- 3 (0.12) Approx. 29.7 +/- 3.0
    E: Approx. 169.5 (6.67) +/- 3 (0.12) Approx. 55 +/- 1.0
    Fig 10: Inspecting Fuel Sub Sender Gauge Resistance
    G02946821Courtesy of © TOYOTA, LICENSE AGREEMENT TMS1002

    If resistance value is not as specified, replace the sub sender gauge.

  11. INSPECT WATER TEMPERATURE RECEIVER GAUGE OPERATION (See  ENGINE COOLANT TEMPERATURE GAUGE  ) 
  12. INSPECT WATER TEMPERATURE RECEIVER GAUGE RESISTANCE 

    Measure the resistance between terminals with fixing pointer to the stopper.

    TESTER CONNECTION RESISTANCE

    Tester connection Resistance (Ω)
    A- D 160
    B - C 160
    Fig 11: Inspecting Water Temperature Receiver Gauge Resistance
    G02946822Courtesy of © TOYOTA, LICENSE AGREEMENT TMS1002

    If resistance value is not as specified, replace the receiver gauge.

    HINT:

    This circuit includes the diode.

    If resistance value is not as specified, replace the receiver gauge.

  13. INSPECT LOW OIL PRESSURE WARNING LIGHT 
    1. Disconnect the connector from the warning switch and ground terminal on the wire harness side connector.
    2. Turn the ignition switch ON and check that the warning light lights up.

    If the warning light does not light up, test the bulb.

    Fig 12: Inspecting Low Oil Pressure Warning Light
    G02946823Courtesy of © TOYOTA, LICENSE AGREEMENT TMS1002
  14. INSPECT VOLTAGE GAUGE RESISTANCE (See  VOLTMETER  ) 

    Measure the resistance between terminals with fixing pointer to the stopper.

    VOLTAGE GAUGE RESISTANCE

    Tester connection Resistance (Ω)
    A - D 160
    B - C 160
    Fig 13: Inspecting Voltage Gauge Resistance
    G02946824Courtesy of © TOYOTA, LICENSE AGREEMENT TMS1002

    If resistance value is not as specified, replace the receiver gauge.

  15. INSPECT SPECIFIC FUEL CONSUMPTION GAUGE RESISTANCE (See  SPECIFIC FUEL CONSUMPTION GAUGE  ) 

    Measure the resistance between terminals with fixing pointer to the stopper.

    TESTER CONNECTION RESISTANCE

    Tester connection Resistance (Ω)
    A - D 160
    B - C 160
    Fig 14: Inspecting Specific Fuel Consumption Gauge Resistance
    G02946825Courtesy of © TOYOTA, LICENSE AGREEMENT TMS1002

    If resistance value is not as specified, replace the meter.

  16. INSPECT OIL PRESSURE SENDER CONTINUITY 
    1. Disconnect the connector from the oil presser sender.
    2. Check that no continuity exists between terminal and ground with the engine stopped.
    3. Check that continuity exists between terminal and ground with the engine running.

    HINT:

    Oil pressure should be over 24.5 kPa (0.25 kgf/cm2, 3.55 psi).

    If operation is not as specified, replace the oil pressure sender.

    Fig 15: Inspecting Oil Pressure Sender Continuity
    G02946826Courtesy of © TOYOTA, LICENSE AGREEMENT TMS1002
  17. INSPECT BRAKE WARNING LIGHT 
    1. Disconnect the connector from the brake fluid warning switch.
    2. Release the parking brake pedal.
    3. Connect the terminals on the wire harness side of the level warning switch connector.
    4. Start the engine, check that the warning light lights up.

    If the warning light does not light up, test the bulb or wire harness.

    Fig 16: Inspecting Brake Warning Light
    G02946827Courtesy of © TOYOTA, LICENSE AGREEMENT TMS1002
  18. INSPECT BRAKE FLUID LEVEL WARNING SWITCH CONTINUITY 
    1. Remove the reservoir tank cap and strainer.
    2. Disconnect the connector.
    3. Check that no continuity exists between the terminals with the switch OFF (float up).
    4. Use siphon, etc. to take fluid out of the reservoir tank.
    5. Check that continuity exists between the terminals with the switch ON (float down).
    6. Pour the fluid back in the reservoir tank.

    If operation is not as specified, replace the switch.

    Fig 17: Inspecting Brake Fluid Level Warning Switch Continuity
    G02946828Courtesy of © TOYOTA, LICENSE AGREEMENT TMS1002
  19. INSPECT PARKING BRAKE SWITCH CONTINUITY 
    1. Check that continuity exists between the terminal and switch body with the switch ON (switch pin released).
    2. Check that no continuity exists between the terminal and switch body with the switch OFF (switch pin pushed in).

    If operation is not as specified, replace the switch or inspect ground point.

    Fig 18: Inspecting Parking Brake Switch Continuity
    G02946829Courtesy of © TOYOTA, LICENSE AGREEMENT TMS1002
  20. INSPECT ENGINE OIL LEVEL WARNING LIGHT 
    1. Disconnect the connector from the switch.
    2. Run the engine.
    3. Turn the ignition switch ON, check that the warning light lights up approximately 40 seconds later.

    If the warning light does not light up, inspect bulb or wire harness.

    Fig 19: Inspecting Engine Oil Level Warning Light
    G02946830Courtesy of © TOYOTA, LICENSE AGREEMENT TMS1002
  21. INSPECT ENGINE OIL LEVEL WARNING SENSOR 
    1. Check that continuity exists between terminals when the sensor-sensed temperature drops to 40°C or less with the float down.
      Fig 20: Checking Continuity Exists Between Terminals When Sensor-Sensed Temperature Drops
      G02946831Courtesy of © TOYOTA, LICENSE AGREEMENT TMS1002
    2. Heat the switch to above 60°C (140°F) in an oil bath.
      Fig 21: Heating Switch In Oil Bath
      G02946832Courtesy of © TOYOTA, LICENSE AGREEMENT TMS1002
    3. Check that there is continuity between terminals with the switch ON (float down).
    4. Check that there is no continuity between terminals with the switch OFF (float up).

    If operation is not as specified, replace the sensor.

  22. INSPECT ENGINE OIL LEVEL WARNING SENSOR CIRCUIT 

    Disconnect the switch connector and inspect the connector on wire harness side, as shown.

    Fig 22: Inspecting Engine Oil Level Warning Sensor Circuit
    G02946833Courtesy of © TOYOTA, LICENSE AGREEMENT TMS1002
    ENGINE OIL LEVEL WARNING SENSOR CIRCUIT

    Tester connection Condition Specified condition
    2 - Ground Always Continuity

    If continuity is not as specified, inspect the wire harness or ground point.

  23. INSPECT OPEN DOOR WARNING LIGHT 

    Disconnect the connector from the door courtesy switch and ground terminal 1 on the wire harness side, and check that the warning light lights up.

    If the warning light does not light up, inspect the bulb or wire harness.

    Fig 23: Inspecting Open Door Warning Light
    G02946834Courtesy of © TOYOTA, LICENSE AGREEMENT TMS1002
  24. INSPECT DOOR COURTESY SWITCH CONTINUITY AND CIRCUIT (See  DOOR COURTESY SWITCH CIRCUIT  ) 
  25. INSPECT SEAT BELT WARNING LIGHT 
    1. Disconnect the connector from the buckle switch.
    2. Connect terminal on the wire harness side of the buckle switch connector.
    3. Turn the ignition switch ON and check that the warning light lights up.

    If the warning light does not light up, inspect the bulb or wire harness.

    Fig 24: Inspecting Seat Belt Warning Light
    G02946835Courtesy of © TOYOTA, LICENSE AGREEMENT TMS1002
  26. INSPECT SEAT BELT BUCKLE SWITCH CONTINUITY 
    1. Check that continuity exists between the terminals 1 and 2 on the switch side connector with the switch ON (belt fastened).
    2. Check that continuity exists between the terminals 1 and 2 on the switch side connector with the switch OFF (belt unfastened).

    If operation is not as specified, replace the switch.

    Fig 25: Inspecting Seat Belt Buckle Switch Continuity
    G02946836Courtesy of © TOYOTA, LICENSE AGREEMENT TMS1002
  27. INSPECT SEAT BELT BUCKLE SWITCH CIRCUIT (See  DRIVER BUCKLE SWITCH CIRCUIT  ) 

    Disconnect the switch connector and inspect the connector on wire harness side, as shown.

    SEAT BELT BUCKLE SWITCH CIRCUIT

    Tester connection Condition Specified condition
    2 - Ground Always Continuity

    If continuity is not as specified, inspect the circuits connected to other parts.

  28. Passenger seat only: 

    INSPECT SEAT BELT WARNING OCCUPANT DETECTION SENSOR CONTINUITY 

    Check that continuity exists between the terminals 1 and 2 when pressing the sensing part.

    If operation is not as specified, replace the sensor.

    Fig 26: Inspecting Seat Belt Warning Occupant Detection Sensor Continuity (Passenger Seat Only)
    G02946837Courtesy of © TOYOTA, LICENSE AGREEMENT TMS1002
  29. INSPECT LIGHT CONTROL RHEOSTAT OPERATION 
    1. Turn the rheostat knob max. dark side and check that the resistance 5.1Ω. (Rheostat knob turned to fully counterclockwise)
    2. Gradually, turn the rheostat knob from the dark side to bright side and check that the resistance decreases from 5.1 to 0Ω. (Rheostat knob turned to clockwise)

    If operation is not as specified, replace the rheostat light control.

    Fig 27: Inspecting Light Control Rheostat Operation
    G02946838Courtesy of © TOYOTA, LICENSE AGREEMENT TMS1002
  30. INSPECT REAR LIGHTS WARNING LIGHT 
    1. Disconnect the connector from the light failure sensor and ground terminal 4, 5 or 9 on the wire harness side connector.
    2. Start the engine, check that the warning light lights up. If the warning light does not light up, inspect the bulb or wire harness.
      Fig 28: Inspecting Rear Lights Warning Light
      G02946839Courtesy of © TOYOTA, LICENSE AGREEMENT TMS1002
  31. INSPECT LIGHT FAILURE SENSOR CIRCUIT 

    Disconnect the connector from the sensor and inspect the connector on the wire harness side, as shown.

    Fig 29: Inspecting Light Failure Sensor Circuit
    G02946840Courtesy of © TOYOTA, LICENSE AGREEMENT TMS1002
    LIGHT FAILURE SENSOR CIRCUIT

    Tester connection Condition Specified condition
    1 - Ground Always (1) Continuity
    2 - Ground Always (1) Continuity
    3 - Ground Taillight ON Battery Positive Voltage
    9 - Ground Always (1) Continuity
    11 - Ground Always Continuity
    3 - Ground Taillight or Headlight OFF No voltage
    3 - Ground Taillight or Headlight ON Battery Positive Voltage
    4 - Ground Ignition switch LOCK or ACC No voltage
    4 - Ground Ignition switch ON Battery Positive Voltage
    7 - Ground Stop light switch OFF No voltage
    7 - Ground Stop light switch ON Battery Positive Voltage
    8 - Ground Ignition switch LOCK or ACC No voltage
    8 - Ground Ignition switch ON Battery Positive Voltage
    (1) There is resistance because this circuit is grounded through the bulb.

    If the circuit is not as specified, inspect the circuits connected to other parts.

  32. MAINTENANCE LIQUID RESETTING PROCEDURE 

    Indicator Condition: 

    MAINTENANCE LIQUID RESETTING PROCEDURE

    State Condition Specified Condition
    Blinking The vehicle runs 4,500 miles after the previous setting. The indicator blinks for 15 seconds after the ignition switch is turned on (Including 3 seconds for a valve check)
    Continuously illuminated The vehicle runs 5,000 miles after the previous settings The indicator is continuously illuminated after the ignition switch is turned on.
    1. Set the display window to ODO.
    2. Turn the ignition switch off.
    3. Pressing the reset switch, turn the ignition switch (Keep pressing for at least 5 seconds).
    4. The reset procedure is completed.

    HINT:

    • If the ignition switch is turned off during the reset procedure, reset mode is canceled.
    • If the reset switch is turned off during the reset procedure, reset mode is canceled.