lemon-mirror:
Home >> Lexus >> 2005 >> IS 300 Base, Standard >> Repair and Diagnosis >> Body & Frame >> Windows >> Power Window Control System >> Inspection

Power Window Control System: Inspection

  1. INSPECT DIAGNOSIS CODE IS OUTPUT 

    Check that the master switch assembly automatic light flash under the condition of KEY off operation (for 45 sees, after the starter switch has been turned from ON to OFF with the driver's door open.)

    HINT:

    • Limit switch malfunction:

      Even though the glass goes down from the fully closed position, the power window regulator switch assembly does not detect a change in limit switch signal within 2.0 sees, after the operation has started.

    • Pulse sensor malfunction:

      Even though the glass goes down from the fully closed position, the power window regulator switch assembly does not detect a change in pulse switch signal within 2.0 sees, after the operation has started.

      Fig 1: Identifying Blinking Pattern - Pulse Sensor Malfunction
      G02946860Courtesy of © TOYOTA, LICENSE AGREEMENT TMS1002
  2. Connector disconnected: 
    1. INSPECT POWER WINDOW MASTER SWITCH CIRCUIT 

    Disconnect the connectors from the switch and inspect connector on the wire harness side.

    Fig 2: Identifying Power Window Master Switch Connector Terminals
    G02946861Courtesy of © TOYOTA, LICENSE AGREEMENT TMS1002
    TESTER CONNECTION SPECIFIED CONDITION

    Tester connection Condition Specified condition
    9 - Ground Always Continuity
    1,5- Ground Always Battery Positive Voltage
    2, 4 - Ground Ignition switch LOCK No voltage
    2, 4 - Ground Ignition switch ACC or ON Battery Positive Voltage

    If circuit is not as specified, replace the switch.

  3. INSPECT POWER WINDOW MASTER SWITCH CIRCUIT (See  POWER WINDOW MASTER SWITCH CIRCUIT  ) 
  4. INSPECT POWER WINDOW SWITCH CONTINUITY 

    Connect the positive (+) lead from the battery to terminal 3 and the negative (-) lead to terminal 6.

    TESTER CONNECTION SPECIFIED CONDITION

    Switch position Tester connection Specified condition
    UP 2-3; 4-5 Continuity
    OFF - No continuity
    DOWN 2-4; 3-5 Continuity

    If continuity is not as specified, replace the switch.

    Fig 3: Identifying Power Window Switch Connector Terminals
    G02946862Courtesy of © TOYOTA, LICENSE AGREEMENT TMS1002
  5. INSPECT POWER WINDOW SWITCH CIRCUIT (See  POWER WINDOW SWITCH CIRCUIT  ) 
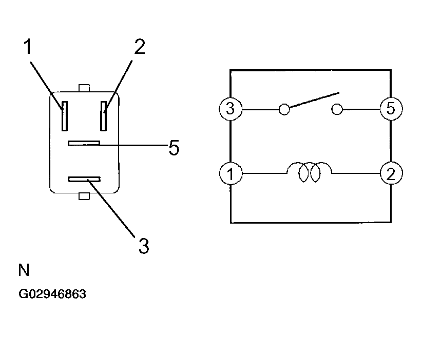
  6. INSPECT POWER MAIN RELAY CONTINUITY 
    TESTER CONNECTION SPECIFIED CONDITION

    Condition Tester connection Specified condition
    Always 1-2 Continuity
    Apply B+ between terminals 1 and 2. 3-5 Continuity

    If continuity is not as specified, replace the relay.

    Fig 4: Identifying Power Main Relay Connector Terminals
    G02946863Courtesy of © TOYOTA, LICENSE AGREEMENT TMS1002
  7. Driver's door: 
    1. INSPECT POWER WINDOW MOTOR OPERATION 
    1. Connect the positive (+) lead from the battery to terminal 1 and the negative (-) lead to terminal 2, and check that the motor turns clockwise.
    2. Reverse the polarity, check that the motor turns counterclockwise.

    If operation is not as specified, replace the motor.

    Fig 5: Connecting Positive (+) Lead From Battery To Terminal 1 & Negative (-) Lead To Terminal 2
    G02946864Courtesy of © TOYOTA, LICENSE AGREEMENT TMS1002
  8. Front passenger's door and rear door: 
    1. INSPECT POWER WINDOW MOTOR OPERATION 
    1. Connect the positive (+) lead from the battery to terminal 1 and the negative (-) lead to terminal 2, and check that the motor turns clockwise.
    2. Reverse the polarity, check that the motor turns counterclockwise.

    If operation is not as specified, replace the motor.

    Fig 6: Inspecting Power Window Motor Operation
    G02946865Courtesy of © TOYOTA, LICENSE AGREEMENT TMS1002
  9. INSPECT POWER WINDOW MOTOR CIRCUIT (See  POWER WINDOW MASTER SWITCH CIRCUIT  ) 
  10. INSPECT POWER WINDOW MOTOR PTC OPERATION 
    1. Disconnect the connector from the master switch.
    2. Connect the positive (+) lead from the battery to terminal 1 and the negative (-) lead to terminal 2 on the wire harness side connector and raise the window to full closed position.
    3. Continue to apply voltage, check that there is a PTC operation noise within approximately 4 to 90 seconds.
    4. Reverse the polarity, check that the window begins to descend within approximately 60 seconds.

    If operation is not as specified, replace the motor.

    Fig 7: Inspecting Power Window Motor PTC Operation
    G02946866Courtesy of © TOYOTA, LICENSE AGREEMENT TMS1002
  11. INSPECT JAM PROTECTION FUNCTION 
    NOTE: Never, ever be caught any part of your body when checking. 

    HINT:

    In case of performing resetting of the limit switch, do checking after repeating up and down of the glass with automatic operation.

    1. Confirmation of AUTO up operation:

      Confirm that the window will be fully close with AUTO up operation.

    2. Checking of the operation of the jam protection function:
      1. Move up the window with AUTO up operation and check that the window will go down when it touches the handle of the hammer stetted.
      2. Confirm that the window will then stop going down about 200 mm.

    HINT:

    In case of removing the glass, glass guide, regulator and etc. be sure to perform checking of the jam protection function. If the jam protection is not functioned properly, adjust power window motor reset switch and pulse switch.