lemon-mirror:
Home >> Lexus >> 2005 >> LS 430 >> Repair and Diagnosis >> Body & Frame >> Windows >> Windshield/WINDOWGLASS/Mirror >> Window Defogger System >> Inspection

Window Defogger System: Inspection

  1. INSPECT OUTER REAR VIEW MIRROR ASSY LH 
    1. Apply battery voltage and check operation of the mirror heater.

    OK: 

    OUTER REAR VIEW MIRROR ASSY LH - REFERENCE TABLE

    Measurement Condition Specified Condition
    Battery positive (+) -> Terminal R39-4 (HTR+) Mirror becomes warm
    Battery negative (-) -> Terminal R39-12 (HTR-)
    Fig 1: Inspecting Outer Rear View Mirror Assy LH
    G03000282Courtesy of © TOYOTA, LICENSE AGREEMENT TMS1002

    If the result is not as specified, replace the mirror assy.

  2. INSPECT OUTER REAR VIEW MIRROR ASSY RH 
    1. Apply battery voltage and check operation of the mirror heater.

    OK: 

    OUTER REAR VIEW MIRROR ASSY RH - REFERENCE TABLE

    Measurement Condition Specified Condition
    Battery positive (+) -> Terminal R40-4 (HTR+) Mirror becomes warm
    Battery negative (-) -> Terminal R40-12 (HTR-)
    Fig 2: Inspecting Outer Rear View Mirror Assy RH
    G03000283Courtesy of © TOYOTA, LICENSE AGREEMENT TMS1002

    If the result is not as specified, replace the mirror assy.

  3. INSPECT BACK WINDOW (DEFOGGER WIRE) 
    NOTE:
    • When cleaning the glass, wipe the glass along the wire using a soft and dry cloth. Take care not to damage the wires.
    • Do not use detergents or glass cleaners that have abrasive ingredients.
    • When measuring voltage, wrap a piece of tin foil around the tip of the negative tester probe and press the foil against the wire with your finger, as shown in Fig 3 .
    Fig 3: Wrapping Tin Foil Around Tester Probe
    G03000284Courtesy of © TOYOTA, LICENSE AGREEMENT TMS1002
    1. Turn the ignition switch ON.
    2. Turn the defogger switch ON.
    3. Check the voltage at the center of each defogger wire, as shown in Fig 4 .
      Fig 4: Checking Voltage At Center Of Each Defogger Wire
      G03000285Courtesy of © TOYOTA, LICENSE AGREEMENT TMS1002

      Standard: 

      DEFOGGER WIRE VOLTAGE TABLE

      Voltage Criteria
      Approx. 5 V Wire is not broken
      Approx. 10 or 0 V Wire is broken

      HINT:

      If there is approximately 10 V, the wire may be faulty between the center of the wire and the wire end on the battery side. If there is no voltage, the wire may be faulty between the center of the wire and the wire end on the ground side.

    4. Place the voltmeter's positive (+) lead against the defogger wire on the battery side.
    5. Place the voltmeter's negative (-) lead with the foil strip against the wire on the ground side.
      Fig 5: Placing Voltmeter With Foil Strip
      G03000286Courtesy of © TOYOTA, LICENSE AGREEMENT TMS1002
    6. Slide the positive (+) lead from the battery side to the ground side.
    7. The point where the voltage jumps from approximately 10 V to 0 V is where the defogger wire is broken.

      HINT:

      If the defogger wire is not broken, the voltmeter should indicate 0 V at the positive (+) end of the defogger wire but gradually increases to approximately 12 V as the meter probe moves to the other end.

    8. If necessary, repair the defogger wire.
      1. Clean the broken wire tips with grease, wax and silicone remover.
      2. Place the masking tape along both sides of the wire.
        Fig 6: Placing Masking Tape Along Sides Of Wire
        G03000287Courtesy of © TOYOTA, LICENSE AGREEMENT TMS1002
      3. Thoroughly mix the repair agent (Dupont paste No. 4817 or equivalent).
      4. Using a fine tip brush, apply a small amount of the agent to the wire.
        Fig 7: Applying Agent To Wire
        G03000288Courtesy of © TOYOTA, LICENSE AGREEMENT TMS1002
      5. After a few minutes, remove the masking tape.
    NOTE: Do not repair the defogger wire again for at least 24 hours.
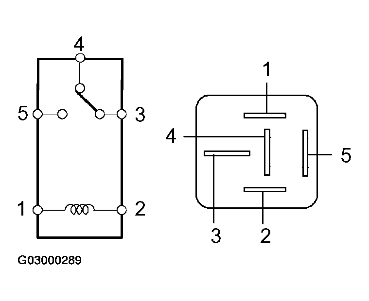
  4. INSPECT RELAY (DEFOG) 
    1. Remove the DEFOG relay from the engine room R/B No. 2.
    2. Measure the resistance.
    3. Fig 8: Inspecting Relay (DEFOG)
      G03000289Courtesy of © TOYOTA, LICENSE AGREEMENT TMS1002

    Standard: 

    DEFOG RELAY - RESISTANCE TABLE

    Tester Condition Specified Condition
    3 - 4 Below 1 Ω
    3 - 5 10 kΩ or higher
    3 - 5 Below 1 Ω (when battery voltage is applied to terminals 1 and 2)

    If the result is not as specified, replace the relay.