lemon-mirror:
Home >> Lexus >> 2005 >> LS 430 >> Repair and Diagnosis >> Electrical >> Gauges >> Combination Meter - Diagnostics >> System Description

System Description

  1. METER GAUGE AND WARNING/INDICATOR 

    GAUGE: 

    GAUGE DETAIL

    Item Detail
    Speedometer Based on a signal received from the wheel speed sensor, the skid control ECU calculates vehicle speed and transmits the data to the meter (Direct line).
    Tachometer ECM transmits engine speed to the meter display (Direct line).
    Water Temperature Gauge Displays water temperature receiving a signal from the ECM (BEAN).
    Fuel Gauge Receives the fuel sender gauge signal from the luggage room J/B ECU (BEAN).

    WARNING/INDICATOR: 

    WARNING/INDICATOR DETAILS

    Item Detail
    TURN SIGNAL Receives the turn signal from the driver side J/B ECU (Direct line).
    BEAM Receives the beam signal from the driver side J/B ECU (BEAN).
    CHARGE Receives the malfunction charge signal from the ECM (BEAN).
    CHECK E/G Receives the malfunction charge signal from the ECM (Direct line).
    DOOR Open door indicator comes on receiving from a signal each door ECU (BEAN).
    D BELT Receives the driver seat belt signal (Unfastened) from the driver side J/B ECU (BEAN).
    BELT Receives the passenger seat belt signal (Unfastened) from the airbag sensor ECU (BEAN).
    BRAKE Receives the parking brake switch/brake fluid level warning signal from the skid control ECU (BEAN).
    CRUISE Receives the malfunction signal from the ECM (BEAN).
    AIR BAG Receives the malfunction signal from the airbag sensor ECU (BEAN).
    A/TP Receives the P signal from the ECM (BEAN).
    A/T R Receives the R signal from the ECM (BEAN).
    A/T N Receives the N signal from the ECM (BEAN).
    A/T D Receives the D signal from the ECM (BEAN).
    A/T S Receives the S signal from the ECM (BEAN).
    SLIP Receives the malfunction signal from the skid control ECU (BEAN).
    VSC OFF Receives the malfunction signal from the skid control ECU (BEAN).
    WASHER Receives the washer level warning switch from the front light control ECU (BEAN).
    ABS Receives the malfunction skid control ECU (BEAN).
    TEMS SPORT Receives the sports mode signal from the air suspension ECU (Direct line).
    ECT POWER Receives the power mode signal from the ECM (BEAN).
    ECT SNOW Receives the snow mode signal from the ECM (BEAN).
    AFS OFF Receives the AFS OFF signal from the AFS ECU (BEAN).
    TAIL or HEAD Receives the malfunction tail or head signal from driver side J/B ECU (BEAN).
  2. MULTI-INFORMATION DISPLAY 
    Fig 1: Identifying Multi-Information Display Areas
    G03000648Courtesy of © TOYOTA, LICENSE AGREEMENT TMS1002
    • The multi-information display consists of three display areas (computer area, graphic area, and warning area) and the master warning indicator. These areas display the contents given in the table below.
    • A steering pad switch (for multi-information display) that switches the contents of the multi-information display has been provided on the steering wheel.
    ITEM DETAILS

    Item Details
    Computer area Displays cruise information. In addition, the contents of the display can be switched by operating the DISP1 of the steering pad switch.
    Graphic area Displays the following information (radar cruise, clearance sonar, open door, compass, and outside temperature). The items from "Compass" to "Blank" (via outside temperature) can be switched by operating the DISP2 of the steering pad switch.
    Warning area Displays warning messages. These messages appear only if an abnormal signal has been input by a system.
    Master warning indicator Comes on/blinks with buzzer sounding in accordance to direction from the displayed item in the warning area.
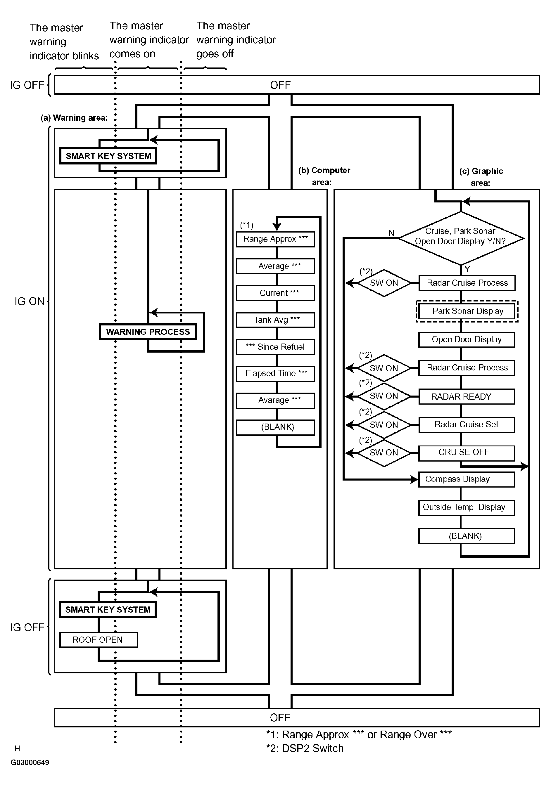
  3. MULTI-INFORMATION DISPLAY FLOW CHART 
    Fig 2: Multi-Information Display Flow Chart
    G03000649Courtesy of © TOYOTA, LICENSE AGREEMENT TMS1002
    1. Warning area
      Fig 3: Warning Area Flow Chart (1 Of 2)
      G03000650Courtesy of © TOYOTA, LICENSE AGREEMENT TMS1002
      Fig 4: Warning Area Flow Chart (2 Of 2)
      G03000651Courtesy of © TOYOTA, LICENSE AGREEMENT TMS1002
      • Warning process:
      • The warning items can be scrolled automatically. (Unable to switch manually)
      • When any malfunction in the framed items is detected, a warning buzzer (a single sound) sounds. It sounds only when the malfunction occurs for the first time. The item is displayed along with the buzzer sounding.
      • The most current warning item is displayed first.
      • When two or more warning occur, they are displayed in turn at an interval of 2 seconds. When a warnings occurs, the item is displayed for 6 seconds only the first time.
      • Smart Key System:
      • The buzzer in the smart key system is controlled by a signal from the security ECU.

        HINT:

        The buzzer sounds continuously if the item "Shift to P range" is displayed.

      • Oil Maintenance Display:
      • The items are displayed in accordance with the distance after reset (see ON-VEHICLE INSPECTION  ).
    2. Computer area
      • The items from "Range Over ***/Range Approx ***" to "BLANK" can be changed with the DISP1 (switch) of the steering pad switch.
    3. Graphic area
    • Open Door Display:
    • The display is shown when any of the doors are opens.

      HINT:

      If the warning item other than the door warning is detected at the same time, the master warning comes on/blinks in accordance to direction from the displayed item in the warning area.

    • Park Sonar Display:
    • See HOW TO PROCEED WITH TROUBLESHOOTING for details on the park sonar display.
    • The display blinks when the clearance is the closest.
    • Others:
    • The items "COMPASS", "OUTSIDE TEMPERATURE" and "BLANK" can be changed with the DISP2 (switch) of the steering pad switch.
    • While +B is connected, the mode that was on when the ignition switch was turned off the last time is displayed.
    • When the display is changed from radar cruise, it is displayed for only 6 seconds and then returns to the radar cruise display.
    • While the radar cruise is on, "RADAR CRUISE READY" is displayed in the warning area if the park sonar and door open displays are in the graphic area.
    • Radar Cruise Display:
    • See HOW TO PROCEED WITH TROUBLESHOOTING for details on the radar cruise display.
    • The radar cruise set display is interrupted for only 6 seconds while the park sonar and/or open door (displays) are on.
    • The display brinks when warning the driver that the distance with other vehicles is getting to be too close. This warning has priority over all.