lemon-mirror:
Home >> Lexus >> 2005 >> LX 470 >> Repair and Diagnosis >> Body & Frame >> Mirrors >> Power Mirror Control System >> Inspection

Power Mirror Control System: Inspection

  1. INSPECT LEFT SIDE MIRROR SWITCH CONTINUITY 
    SWITCH POSITION SPECIFIED CONDITION

    Switch position Tester connection Specified condition
    OFF - No continuity
    UP 3 - 4 1 - 7 - 8 Continuity
    DOWN 1 - 3 - 8 4 - 7 Continuity
    LEFT 4 - 9 1 - 7 - 8 Continuity
    RIGHT 4 - 7 1 - 8 - 9 Continuity
    Fig 1: Identifying Left Side Mirror Switch & Connector Terminals
    G02994014Courtesy of © TOYOTA, LICENSE AGREEMENT TMS1002

    If the continuity is not as specified, replace the switch.

    If the continuity is not as specified, inspect the switch circuit.

  2. INSPECT RIGHT SIDE MIRROR SWITCH CONTINUITY MIRROR SWITCH CONTINUITY 
    SWITCH POSITION SPECIFIED CONDITION

    Switch position Tester connection Specified condition
    OFF - No continuity
    UP 2 - 4 1 - 7 - 8 Continuity
    DOWN 4 - 7 1 - 2 - 8 Continuity
    LEFT 4 - 10 1 - 7 - 8 Continuity
    RIGHT 4 - 7 1 - 8 - 10 Continuity

    If the continuity is not as specified, replace the switch.

    If the continuity is as specified. inspect the switch circuit.

  3. INSPECT RETRACT SWITCH CONTINUITY 
    SWITCH POSITION SPECIFIED CONDITION

    Switch position Tester connection Specified condition
    RETURN 1 - 5 2 - 4 Continuity
    RETRACT 1 - 2 4 - 5 Continuity

    If the continuity is not as specified, replace the switch.

    If the continuity is as specified, inspect the switch circuit.

    Fig 2: Identifying Retract Switch Connector Terminals
    G02994015Courtesy of © TOYOTA, LICENSE AGREEMENT TMS1002
  4. INSPECT MIRROR SWITCH CIRCUIT 

    Disconnect the connector from the switch and inspect the connector on the wire harness side.

    Fig 3: Identifying Mirror Switch Harness Connector Terminals
    G02994016Courtesy of © TOYOTA, LICENSE AGREEMENT TMS1002
    TESTER CONNECTION SPECIFIED CONDITION

    Tester connection Condition Specified condition
    8 - Ground Always Continuity
    4 - Ground Ignition switch position LOCK No voltage
    4 - Ground Ignition switch position ACC or ON Battery positive voltage

    If the circuit is not as specified, inspect the circuits connected to other parts.

  5. INSPECT INDICATOR LIGHT OPERATION 

    Connect the battery positive (+) lead to terminal 5 and the battery negative (-) lead to terminal 6. If the indicator light does not come on, replace the switch.

    Fig 4: Inspecting Indicator Light Operation
    G02994017Courtesy of © TOYOTA, LICENSE AGREEMENT TMS1002
  6. INSPECT MIRROR MOTOR OPERATION 
    1. Connect the battery positive (+) lead to terminal 8 and the battery negative (-) lead to terminal 7, and check that the mirror turns to the left side.
      Fig 5: Checking That Mirror Turns To Left Side
      G02994018Courtesy of © TOYOTA, LICENSE AGREEMENT TMS1002
    2. Reverse the polarity, and check that the mirror turns to the right side.
      Fig 6: Checking That Mirror Turns To Right Side
      G02994019Courtesy of © TOYOTA, LICENSE AGREEMENT TMS1002
    3. Connect the battery positive (+) lead to terminal 6 and the battery negative (-) lead to terminal 7, and check that the mirror turns upward.
      Fig 7: Checking That Mirror Turns Upward
      G02994020Courtesy of © TOYOTA, LICENSE AGREEMENT TMS1002
    4. Reverse the polarity, and check that the mirror turns downward.

    If operation is not as specified, replace the mirror assembly.

    Fig 8: Checking That Mirror Turns Downward
    G02994021Courtesy of © TOYOTA, LICENSE AGREEMENT TMS1002
  7. w/ Driving Position Memory only: 

    INSPECT MIRROR POSITION SENSORS OPERATION 

    HINT:

    Strip off the vinyl tape on the connector and remove terminal 6, 7, 9, 10, 15 and 16 from the connector housing.

    1. Connect a series of three 1.5 V dry cell batteries.
    2. Connect the positive (+) lead from the dry cell batteries to terminal 9 and its negative (-) lead to terminal 15.
    3. Connect the voltmeter positive (+) lead to terminal 16 and the voltmeter negative (-) lead to terminal 15.
    4. Apply battery positive voltage to terminal 7 and 6, then check that the voltage gradually changes as shown in the table below while the mirror moves between the uppermost position and the lowermost position.
      Fig 9: Checking Voltage At Lowermost Position
      G02994022Courtesy of © TOYOTA, LICENSE AGREEMENT TMS1002
      Fig 10: Checking Voltage At Uppermost Position
      G02994023Courtesy of © TOYOTA, LICENSE AGREEMENT TMS1002
      VOLTAGE SPECIFICATION

      Mirror position Lowermost Mirror position Uppermost
      Voltage 2.8 - 5.0 Changes gradually 0-1.8

      If the voltage value is not as specified, replace the motor assembly.

    5. Disconnect the 4 leads of the battery and voltmeter.
    6. Connect the voltmeter positive (+) lead to terminal 10 and the voltmeter negative (-) lead to terminal 15.
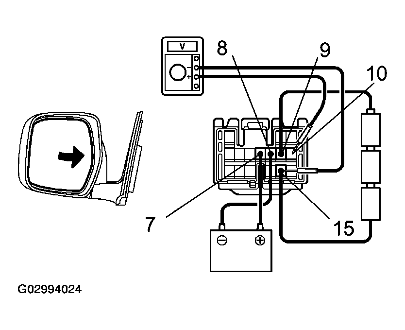
    7. Apply battery positive voltage to terminal 7 and 8, then inspect that the voltage gradually changes as shown in the table below while the mirror moves between the left-most position and right-most position.
      Fig 11: Checking Voltage At Right-most Position
      G02994024Courtesy of © TOYOTA, LICENSE AGREEMENT TMS1002
      Fig 12: Checking Voltage At Left-most Position
      G02994025Courtesy of © TOYOTA, LICENSE AGREEMENT TMS1002
      VOLTAGE SPECIFICATION

      Mirror position Left-most Mirror position Right-most
      Voltage LEFT 2.8 - 5.0 Changes gradually 0-1.8
      Voltage RIGHT 0 - 1.8 Changes gradually 2.8 -5.0

      If the voltage value is not as specified, replace the motor assembly.

  8. INSPECT DRIVING POSITION MEMORY AND RETURN SWITCH CONTINUITY 
    SWITCH POSITION SPECIFIED CONDITION

    Switch position Tester connection Specified condition
    SET switch ON 3 - 4 Continuity
    Return SW1 ON 2 - 3 Continuity
    Return SW2 ON 1 - 3 Continuity

    If the continuity is not as specified, replace the switch.

    Fig 13: Identifying Driving Position Memory And Return Switch & Connector Terminals
    G02994026Courtesy of © TOYOTA, LICENSE AGREEMENT TMS1002
  9. INSPECT DRIVING POSITION MEMORY AND RETURN SWITCH CIRCUIT (See  MEMORY SWITCH CIRCUIT (W/MEMORY)  ) 
  10. INSPECT MIRROR CONTROL ECU CIRCUIT 

    Disconnect the connector from ECU and inspect the connector on the wire harness side.

    Fig 14: Inspecting Mirror Control ECU Circuit
    G02994027Courtesy of © TOYOTA, LICENSE AGREEMENT TMS1002
    Fig 15: Tester Connection Specified Condition Chart
    G02994028Courtesy of © TOYOTA, LICENSE AGREEMENT TMS1002

    If the circuit is not as specified, inspect the circuits connected to other parts.

  11. INSPECT MIRROR CONTROL ECU OPERATION 

    Connect the connectors, and using a voltmeter with high impedance (10 kw minimum), measure the voltage at each terminal and body ground.

    Fig 16: Inspecting Mirror Control ECU Operation
    G02994029Courtesy of © TOYOTA, LICENSE AGREEMENT TMS1002
    TESTER CONNECTION SPECIFIED CONDITION

    Tester connection Condition Specified condition
    3 - Ground Always About 5 V
    4 - Ground Always About 5 V
    5 - Ground Always About 5 V
    6 - Ground Always About 5 V
    7 - Ground Right or left side mirror switch to any position except OFF About 5 V
    (1) 8 - Ground Left side mirror to lowermost position 2.8 -5.0 V
    (1) 8 - Ground Left side mirror to uppermost position 0 -0.9 V
    (1) 9 - Ground Left side mirror to leftmost position 2.8 -5.0 V
    (1) 9 - Ground Left side mirror to rightmost position 0 -0.9 V
    10 - Ground Left side mirror switch to LEFT or DOWN Battery positive voltage
    11 - Ground Left side mirror switch to RIGHT Battery positive voltage
    12 - Ground Left side mirror switch to UP Battery positive voltage
    (1) 20 - Ground Right side mirror to lowermost position 2.8 -5.0 V
    (1) 20 - Ground Right side mirror to uppermost position 0 -0.9 V
    (1) 21 - Ground Right side mirror to leftmost position 2.8 -5.0 V
    (1) 21 - Ground Right side mirror to rightmost position 0 -0.9 V
    22 - Ground Right side mirror switch to RIGHT or DOWN Battery positive voltage
    23 - Ground Right side mirror switch to LEFT Battery positive voltage
    24 - Ground Right side mirror switch to UP Battery positive voltage
    (1) * : Confirm that the voltage changes gradually while the mirror moves.

    If the operation is not as specified, inspect the wire harness, the mirror switch or the motor assembly. Then if these are correct, replace the ECU.