lemon-mirror:
Home >> Lexus >> 2005 >> LX 470 >> Repair and Diagnosis >> Electrical >> Gauges >> Combination Meter >> Inspection

Combination Meter: Inspection

  1. INSPECT COMBINATION METER CIRCUIT 

    Connect the connector "A", "B", "C" and "D" to the combination meter and inspect the wire harness side connectors from the back side as shown in the table.

    Fig 1: Identifying Connectors
    G02993876Courtesy of © TOYOTA, LICENSE AGREEMENT TMS1002
    Fig 2: Tester Connection Specified Condition (1 Of 2)
    G02993877Courtesy of © TOYOTA, LICENSE AGREEMENT TMS1002
    Fig 3: Tester Connection Specified Condition (2 Of 2)
    G02993878Courtesy of © TOYOTA, LICENSE AGREEMENT TMS1002

    If circuit is not as specified, and inspect the circuits connected to other parts.

  2. INSPECT SPEEDOMETER/ON-VEHICLE 

    Using a speedometer tester, inspect the speedometer for allowable indication error and check the operation of the odometer.

    HINT:

    Tire wear and tire over-or under-inflation will widen the indication error range.

    SPEEDOMETER SPECIFICATION

    USA (mph) CANADA and TAIWAN (km/h)
    Standard indication Allowable range Standard indication Allowable range
    20 18 - 24 20 17- 24
    40 38 - 44 40 38 - 46
    60 56 - 66 60 57.5 - 67
    80 78 - 88 80 77- 88
    100 98 - 110 100 96 - 109
    120 118 - 132 120 115 - 130
        140 134- 151.5
        160 153 - 173

    If the error exceeds the allowable range, replace the speedometer.

  3. INSPECT SPEEDOMETER VOLTAGE 

    While driving the vehicle at the speed of 10 km/h, check the voltage between the terminal 6 and 11 of the combination meter assy.

    STANDARD: Fluctuation between 10 V to 14 V or less is repeated 7 times within 1 sec. 

    Fig 4: Checking Voltage Between Terminal 6 And 11 Of Combination Meter Assy
    G02993879Courtesy of © TOYOTA, LICENSE AGREEMENT TMS1002
  4. INSPECT VEHICLE SPEED SENSOR OPERATION 
    1. Connect the battery positive (+) lead to terminal 1 and the battery negative (-) lead to terminal 2.
    2. Connect the tester positive (+) lead to terminal 3 and the tester negative (-) lead to terminal 2.
      Fig 5: Identifying Vehicle Speed Sensor Connector
      G02993880Courtesy of © TOYOTA, LICENSE AGREEMENT TMS1002
    3. Rotate the shaft.
    4. Check that there is voltage change from approx. 0V to 11 V or more between terminals 2 and 3.

    HINT:

    The voltage change should be performed 4 times for every revolution. If it doesn't, replace the sensor.

  5. INSPECT TACHOMETER/ON-VEHICLE 
    1. Connect a tune-up test tachometer, and start the engine.
      NOTE:
      • Reversing the connection of the tachometer will damage the transistors and the diodes inside.
      • When removing or installing the tachometer, be careful not to drop it or give it heavy shocks.
    2. Compare the tester and the tachometer indications.

    DC13.5V25°C at (77°F): 

    TACHOMETER SPECIFICATION

    Standard indication Allowable range
    700 617 - 757
    1,000 881) - (1,081)
    2,000 1,837) - (2,087)
    3,000 2,793 - 3,093
    4,000 3,775) - (4,075)
    5,000 4,756 - 5,058
  6. INSPECT FUEL SENDER GAUGE VOLTAGE 
    1. Apply voltage between terminal 2 and 3.
    2. Measure voltage between terminal 1 and 2 for each floating position.
    FUEL GAUGE SPECIFICATION

    Float position mm (in.) Voltage (V)
    F: Approx. 85.3 (3.36) Approx. 4.6 +/- 0.1
    1/2: Approx. 1.7(0.67) Approx. 2.45 +/- 0.1
    E: Approx. 91.9(3.62) Approx. 0.3 +/- 0.1

    If voltage value is not as specified, replace the sender gauge.

    Fig 6: Inspecting Fuel Sender Gauge Voltage
    G02993881Courtesy of © TOYOTA, LICENSE AGREEMENT TMS1002
  7. INSPECT ENGINE COOLANT TEMPERATURE RECEIVER GAUGE OPERATION 
    1. Disconnect the connector from the sender gauge.
    2. Turn the ignition switch ON and check that the receiver gauge needle indicates COOL.
      Fig 7: Identifying Engine Coolant Temperature Circuit & Sender Gauge Connector
      G02993882Courtesy of © TOYOTA, LICENSE AGREEMENT TMS1002
    3. Ground terminal on the wire harness side connector through a 3.4-W test bulb.
    4. Turn the ignition switch ON, and check that the bulb comes on and the receiver gauge needle moves to the hot side.

    If operation is as specified, replace the sender gauge.

    Then recheck the system.

    If operation is not as specified, measure the receiver gauge resistance.

    Fig 8: Testing Engine Coolant Temperature Gauge
    G02993883Courtesy of © TOYOTA, LICENSE AGREEMENT TMS1002
  8. INSPECT ENGINE COOLANT TEMPERATURE SENDER GAUGE RESISTANCE 

    Connect the wire harness as shown in the illustration, and enter the value using the formula on the left. Check the resistance is within the values in the table below.

    ENGINE COOLANT TEMPERATURE

    Temperature °C (°F) Resistance (Ω)
    50(122.0) 160 - 240
    120(248.0) 17.1 -21.2

    If resistance value is not as specified, replace the engine coolant temperature sender gauge.

    Fig 9: Checking Engine Coolant Temperature Sender Gauge Resistance
    G02993884Courtesy of © TOYOTA, LICENSE AGREEMENT TMS1002
  9. INSPECT OIL PRESSURE RECEIVER GAUGE OPERATION 
    1. Disconnect the connector from the sender gauge.
    2. Turn the ignition switch ON and check that the receiver gauge needle indicates LOW.
      Fig 10: Disconnecting Connector From Sender Gauge
      G02993885Courtesy of © TOYOTA, LICENSE AGREEMENT TMS1002
    3. Ground terminal on the wire harness side through a 3.4 W test bulb.
    4. Turn the ignition switch ON and check that the bulb lights up and the receiver gauge needle moves to the HIGH side.

    If operation is not as specified, measure the receiver gauge resistance.

    Fig 11: Inspecting Oil Pressure Receiver Gauge Operation
    G02993886Courtesy of © TOYOTA, LICENSE AGREEMENT TMS1002
  10. INSPECT OIL PRESSURE SENDER GAUGE OPERATION 
    1. Disconnect the connector from the sender gauge.
    2. Apply battery positive voltage to the sender gauge terminal through a test LED.
    3. Check that the bulb does not light when the engine is stopped.
    4. Check that the LED flashes when the engine is running. The number of flash should vary with engine speed.
    Fig 12: Inspecting Oil Pressure Sender Gauge Operation
    G02993887Courtesy of © TOYOTA, LICENSE AGREEMENT TMS1002
  11. INSPECT BRAKE WARNING LIGHT 
    1. Disconnect the connector from the brake fluid warning switch.
    2. Release the parking brake pedal.
    3. Connect the terminals on the wire harness side of the level warning switch connector.
    4. Start the engine, check that the warning light comes on.

    If the warning light does not come on, test the bulb or the wire harness.

    Fig 13: Connecting Terminals On Wire Harness Side Of Level Warning Switch Connector
    G02993888Courtesy of © TOYOTA, LICENSE AGREEMENT TMS1002
  12. INSPECT BRAKE FLUID LEVEL WARNING SWITCH CONTINUITY 
    1. Remove the reservoir tank cap and the strainer.
    2. Disconnect the connector.
    3. Check that no continuity exists between the terminals with the switch OFF (float up).
    4. Use a siphon, etc. to take fluid out of the reservoir tank.
    5. Check that continuity exists between the terminals with the switch ON (float down)
    6. Pour the fluid back in the reservoir tank.

    If operation is not as specified, replace the switch.

    Fig 14: Identifying Brake Fluid Level Warning Switch Connector
    G02993889Courtesy of © TOYOTA, LICENSE AGREEMENT TMS1002
  13. INSPECT PARKING BRAKE SWITCH CONTINUITY 
    1. Check that continuity exists between the terminal and the switch body with the switch ON (switch pin released).
    2. Check that no continuity exists between the terminal and the switch body with the switch OFF (switch pin pushed in).

    If operation is not as specified, replace the switch or inspect the grounding point.

    Fig 15: Checking Continuity Between Terminal And Switch Body
    G02993890Courtesy of © TOYOTA, LICENSE AGREEMENT TMS1002
  14. INSPECT OPEN DOOR WARNING LIGHT 
    1. Disconnect the connector from the driver door courtesy switch, and ground terminal on the wire harness side connector.
    2. Turn the ignition switch ON and check that the warning light lights up.
  15. INSPECT SEAT BELT WARNING BUZZER 
    1. Disconnect the connector from the combination meter.
    2. Connect the battery positive (+) lead to terminal 2 and the battery negative (-) lead terminal 11.
    3. Check that the buzzer stop after 4 to 8 seconds.
    4. Check that buzzer stops when connecting the terminal 20 to the GND.
    Fig 16: Identifying Terminals In Connectors D & C
    G02993891Courtesy of © TOYOTA, LICENSE AGREEMENT TMS1002
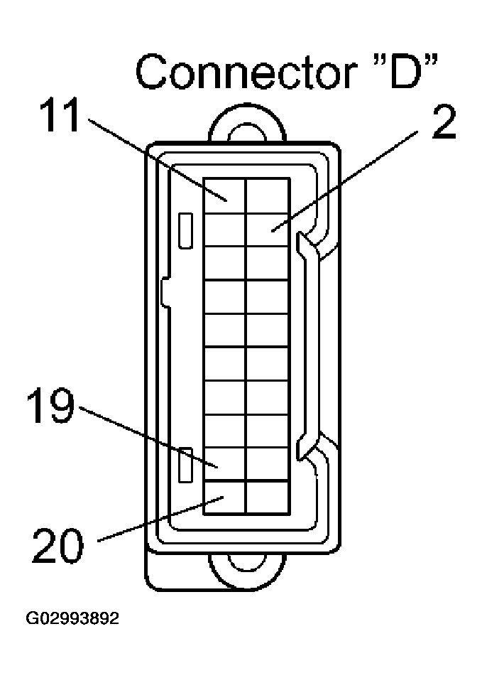
  16. INSPECT KEY UNLOCK WARNING BUZZER 
    1. Disconnect the connector from the combination meter.
    2. Connect the battery positive (+) lead to terminal 2 and the battery negative (-) lead to terminal 11.
    3. Connect the battery negative (-) lead to terminal 19 and 20, and check that the buzzer sound.
    Fig 17: Identifying Terminals In Connector D
    G02993892Courtesy of © TOYOTA, LICENSE AGREEMENT TMS1002
  17. INSPECT SEAT BELT WARNING LIGHT 
    1. Disconnect the connector from the seat belt buckle switch and ground terminal on the wire harness side connector.
    2. Turn the ignition switch ON and check that the warning light comes on.
  18. INSPECT SEAT BELT BUCKLE SWITCH CONTINUITY 
    SEAT BUCKLE SPECIFICATION

      Tester connection Belt fastened (Belt unfastened)
    Seat belt buckle SW (D) 1 - 4 ON (OFF)
    Seat belt buckle SW (P) 2-4 OFF (ON)

    If operation is not as specified, replace the switch.

    Fig 18: Inspecting Seat Belt Buckle Switch Continuity
    G02993893Courtesy of © TOYOTA, LICENSE AGREEMENT TMS1002
  19. INSPECT SEAT BELT BUCKLE SWITCH CIRCUIT 

    Disconnect the switch connector and inspect the connector on the wire harness side, as shown.

    Fig 19: Identifying Connector
    G02993894Courtesy of © TOYOTA, LICENSE AGREEMENT TMS1002
    TESTER CONNECTION SPECIFIED CONDITION

    Tester connection Condition Specified condition
    4 - Ground Always Continuity

    If continuity is not as specified, inspect the circuits connected to other parts.

  20. Passenger seat only: 

    INSPECT SEAT BELT WARNING OCCUPANT DETECTION SENSOR CONTINUITY 

    Check that continuity exists between the terminal 1 and 2 when pressing the sensing part.

    If operation is not as specified, replace the sensor.

    Fig 20: Checking Continuity Between Terminal 1 And 2
    G02993895Courtesy of © TOYOTA, LICENSE AGREEMENT TMS1002
  21. INSPECT LIGHT CONTROL RHEOSTAT 
    1. Turn the rheostat knob to OFF, and check that there is no continuity between terminal 5 and 4 (Rheostat knob turned fully counterclockwise).
    2. Gradually, turn the rheostat knob from the dark side to the bright side, and check that there is continuity between terminal 5 and 4 (Rheostat knob turned clockwise).

    If operation is not as specified, replace the rheostat.

    Fig 21: Identifying Rheostat & Connector
    G02993896Courtesy of © TOYOTA, LICENSE AGREEMENT TMS1002
  22. INSPECT INCLINATION SENSOR 
    1. With the combination meter in which the inclination sensor installed, connect the battery positive (+) lead to terminal 1 (IGN+) of the meter connector, and the battery negative (-) lead to terminal 11 (E/G EARTH).
    2. Check if the voltage is 5V between terminal Vcc and GND of the inclination sensor connector.
    3. Check the voltage between terminal OUT and GND when the inclination sensor is in level position and when it is inclined backward and forward.

      Standard Value: 

      Sensor in level position about 4.5V 

      Sensor inclined about 0.5V 

    Fig 22: Locating Indication Sensor
    G02993897Courtesy of © TOYOTA, LICENSE AGREEMENT TMS1002
  23. INSPECT WINDOW WASHER LEVEL WARNING LIGHT 
    1. Disconnect the connector from the warning switch and ground terminal on the wire harness side connector.
    2. Run the engine and check that the warning light comes on.

    If the warning light does not come on, inspect the bulb or the wire harness.

    Fig 23: Checking Window Washer Level Warning Light
    G02993898Courtesy of © TOYOTA, LICENSE AGREEMENT TMS1002
  24. INSPECT WINDOW WASHER LEVEL WARNING SWITCH CONTINUITY 
    1. Check that no continuity exists between the terminals with the switch OFF (float up).
    2. Check that continuity exists between the terminals with the switch ON (float down).

    If operation is not as specified, replace the switch or inspect grounding point.

    Fig 24: Checking Continuity Between Terminals
    G02993899Courtesy of © TOYOTA, LICENSE AGREEMENT TMS1002