lemon-mirror:
Home >> Lexus >> 2005 >> LX 470 >> Repair and Diagnosis >> Suspension >> Wheel Alignment >> Suspension And Axle >> Control Valve Assembly >> Components

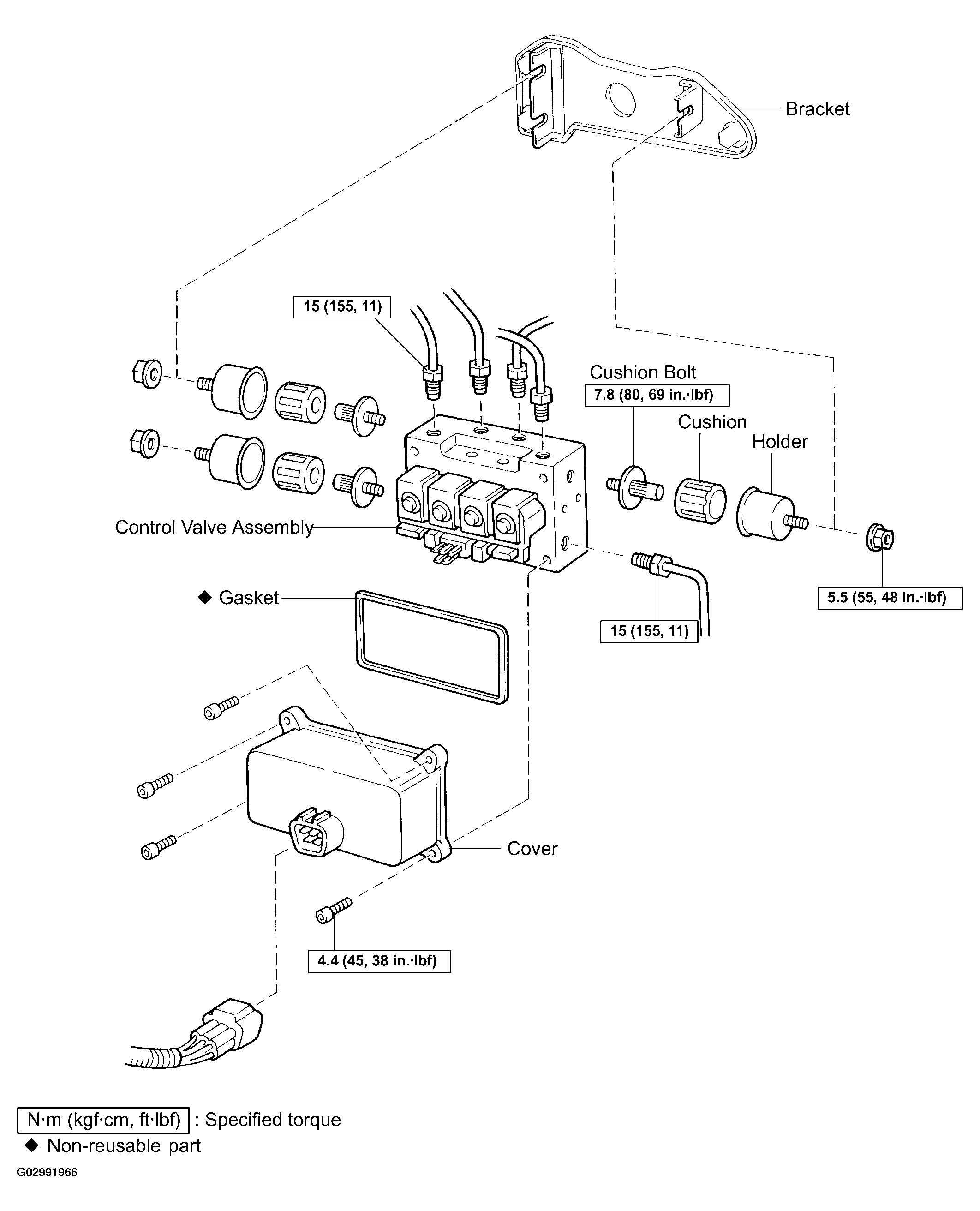
Control Valve Assembly: Components

Fig 1: Exploded View Of Control Valve Assembly With Torque Specifications
G02991966Courtesy of © TOYOTA, LICENSE AGREEMENT TMS1002