lemon-mirror:
Home >> Lexus >> 2005 >> LX 470 >> Repair and Diagnosis >> Transmission >> Transfer Case >> Transfer >> Transfer Assembly >> Reassembly

Transfer Assembly: Reassembly

  1. INSPECT SHIFT FORK NO. 2 AND CLUTCH SLEEVE CLEARANCE 

    Using a feeler gauge, measure the clearance between the shift fork No. 2 and clutch sleeve.

    Standard clearance: 

    0.10 - 0.40 mm (0.0039 - 0.0157 in.) 

    Maximum clearance: 

    0.40 mm (0.0157 in.) 

    Fig 1: Measuring Clearance Between Shift Fork And Clutch Sleeve
    G02992018Courtesy of © TOYOTA, LICENSE AGREEMENT TMS1002
  2. INSTALL THE BEARING RACE (FOR THE OUTPUT SHAFT) 

    Using SST and a press, install the bearing race.

    SST 09316-6001 1 (09316-00011, 09316-00031), 09950-60020 (09951-00890)

    Fig 2: Installing Bearing Race
    G02992019Courtesy of © TOYOTA, LICENSE AGREEMENT TMS1002
  3. INSTALL THE BEARING RACE (FOR THE IDLER GEAR) 

    Using SST and a press, install the bearing race.

    SST 09316-6001 1 (09316-00011, 09316-00031), 09950-60020 (09951-00790)

    Fig 3: Installing Bearing Race (For Idler Gear)
    G02992020Courtesy of © TOYOTA, LICENSE AGREEMENT TMS1002
  4. INSTALL OIL RECEIVER TO FRONT CASE 

    Install the oil receiver and bolt.

    Torque: 12 N.m (120 kgf.cm, 9 ft.lbf) 

    Fig 4: Installing Oil Receiver Bolt
    G02992021Courtesy of © TOYOTA, LICENSE AGREEMENT TMS1002
  5. INSTALL SHIFT OUTER LEVER AND INNER LEVER 
    1. Install the shift inner lever, washer and outer lever to the front case.
    2. Using a pin punch, hammer and socket wrench, tap in the lever lock pin.
    3. Install the washer and nut to the shift outer lever.

      Torque: 12 N.m (120 kgf.cm, 9 ft.lbf) 

    Fig 5: Installing Shift Outer Lever And Inner Lever
    G02992022Courtesy of © TOYOTA, LICENSE AGREEMENT TMS1002
  6. ASSEMBLE SHIFT FORK NO. 1 AND SHIFT FORK NO. 1 SHAFT 
    1. Assemble the shift fork No. 1 and shift fork No. 1 shaft.
    2. Using a pin punch and hammer, drive in the slotted spring pin.
    Fig 6: Driving Slotted Spring Pin
    G02992023Courtesy of © TOYOTA, LICENSE AGREEMENT TMS1002
  7. INSTALL IDLER GEAR ASSEMBLY WITH CENTER DIFFERENTIAL ASSEMBLY, SHIFT FORK NO. 1 AND SHIFT FORK NO. 1 SHAFT TO FRONT CASE 
    NOTE: Set the shift inner lever into the fork head part of the shift fork No. 1 securely.
  8. INSTALL INPUT SHAFT ASSEMBLY 
  9. INSTALL 2 BEARING RACES TO REAR CASE 
    Fig 7: Installing Idler Gear Assembly With Center Differential Assembly
    G02992024Courtesy of © TOYOTA, LICENSE AGREEMENT TMS1002
  10. ASSEMBLY FRONT CASE AND REAR CASE 
    1. Apply FIPG to the front case.

      FIPG: 

      Part No. 08826-00090, THREE BOND 1281 or equivalent 

    2. Assemble the front case and rear case.
      Fig 8: Applying FIPG
      G02992025Courtesy of © TOYOTA, LICENSE AGREEMENT TMS1002
    3. Apply liquid sealer to the "A" bolt threads.

      Sealant: 

      Part No. 08833-00080, THREE BOND 1344, LOCTITE 242 or equivalent 

    4. Install the 8 bolts.

      Torque: 37 N.m (380 kgf.cm, 27 ft.lbf) 

      Fig 9: Installing Bolts
      G02992026Courtesy of © TOYOTA, LICENSE AGREEMENT TMS1002
  11. ASSEMBLE FRONT CASE AND REAR CASE 

    Using a snap ring expander, install the snap ring to the rear case.

    Fig 10: Installing Snap Ring To Rear Case
    G02992027Courtesy of © TOYOTA, LICENSE AGREEMENT TMS1002
  12. INSTALL CASE COVER 
    1. Apply FIPG to the rear case.

      FIPG: 

      Part No. 08826-00090, THREE BOND 1281 or equivalent 

    2. Install the case cover.
      Fig 11: Apply FIPG To Rear Case
      G02992028Courtesy of © TOYOTA, LICENSE AGREEMENT TMS1002
    3. Apply liquid sealer to the bolt threads.

      Sealant: 

      Part No. 08833-00080, THREE BOND 1344, LOCTITE 242 or equivalent 

    4. Install the 5 bolts.

      Torque: 37 N.m (380 kgf.cm, 27 ft.lbf) 

    Fig 12: Installing Bolts
    G02992029Courtesy of © TOYOTA, LICENSE AGREEMENT TMS1002
  13. INSTALL OIL STRAINER TO REAR CASE 

    Install the oil strainer and 2 bolts.

    Torque: 4.9 N.m (50 kgf.cm, 43 in.lbf) 

    Fig 13: Installing Oil Strainer Bolts
    G02992030Courtesy of © TOYOTA, LICENSE AGREEMENT TMS1002
  14. SELECT ADJUSTING SHIM FOR IDLER GEAR REAR TAPER ROLLER BEARING 
    1. Using vernier calipers, measure dimension "A".
    2. Lightly hole down the bearing outer race in the thrust direction to eliminate any looseness before making the measurement.
      Fig 14: Measuring Dimension "A"
      G02992031Courtesy of © TOYOTA, LICENSE AGREEMENT TMS1002
    3. Using a steel straight edge and feeler gauge, measure the clearance of dimension "B".
    4. Calculate the required thickness of the adjusting shim.

      Thickness: Dimension "A" + Dimension "B" + [0.022 - 0.049 mm, (0.0009 - 0.0019 in.)] 

      Fig 15: Measuring Dimension "B"
      G02992032Courtesy of © TOYOTA, LICENSE AGREEMENT TMS1002
    5. From the following table, select a shim so that its thickness is within the range of the calculation.
      SHIM THICKNESS SPECIFICATION

      Mark Thickness mm (in.) Mark Thickness mm (in.)
      2 0.30(0.0118) 8 3.20(0.1260)
      3 0.45(0.0177) 9 3.40(0.1339)
      4 2.40(0.0945) 10 3.60(0.1417)
      5 2.60(0.1024) 11 3.80(0.1496)
      6 2.80(0.1102) 12 4.00(0.1575)
      7 3.00(0.1181) 13 0.55(0.0216)
  15. SELECT ADJUSTING SHIM FOR OUTPUT SHAFT TAPER ROLLER BEARING 
    1. Using a steel straight edge and feeler gauge, measure the clearance of dimension "C".
    2. Lightly hold down the bearing outer race in the thrust direction to eliminate any looseness before making the measurement.
      Fig 16: Measuring Dimension "C"
      G02992033Courtesy of © TOYOTA, LICENSE AGREEMENT TMS1002
    3. Using a steel straight edge and vernier calipers with depth gauge, measure dimension "D".
    4. Dimension "D" is the straight edge thickness (Dimension "F") subtracted from dimension "E" in the illustration to the left.

      Dimension "D": Dimension "E" - Dimension "F" 

      Fig 17: Measuring Dimension "D"
      G02992034Courtesy of © TOYOTA, LICENSE AGREEMENT TMS1002
    5. Using a steel straight edge and vernier calipers with depth gauge, measure dimension "G".
    6. Dimension "G" is the straight edge thickness (Dimension "F") subtracted from Dimension "H".

      Dimension "G": Dimension "H" - Dimension "F" 

    7. Calculate the required thickness of the adjusting shim.

      Thickness: Dimension "G" - (Dimension "D" - Dimension "C") (+) [0.014 ~ 0.039 mm, (0.0006 ~ 0.0015 in.)] 

    8. From the following table, select a shim so that its thickness is within the range of the calculation.
      Fig 18: Measuring Dimension "G"
      G02992035Courtesy of © TOYOTA, LICENSE AGREEMENT TMS1002
      SHIM THICKNESS SPECIFICATION

      Mark Thickness mm (in.) Mark Thickness mm (in.)
      B 0.30(0.0118) H 1.80 (0.0709)
      C 0.45(0.0177) J 2.00 (0.0787)
      D 1.00(0.0394) K 2.20 (0.0866)
      E 1.20(0.0472) L 2.40 (0.0945)
      F 1.40(0.0551) M 2.60(0.1024)
      G 1.60(0.0630) N 0.55(0.0216)
  16. INSTALL REAR EXTENSION HOUSING 
    1. Apply FIPG to the rear extension housing.

      FIPG: 

      Part No. 08826-00090, THREE BOND 1281 or equivalent 

      Fig 19: Applying FIPG To Rear Extension Housing
      G02992036Courtesy of © TOYOTA, LICENSE AGREEMENT TMS1002
    2. Install the rear extension housing and 9 bolts.

      Torque: 37 N.m (380 kgf.cm, 27 ft.lbf) 

    Fig 20: Installing Rear Extension Housing
    G02992037Courtesy of © TOYOTA, LICENSE AGREEMENT TMS1002
  17. ASSEMBLE SHIFT FORK NO. 2 SHAFT AND SHIFT FORK NO. 2 
    1. Install the shift fork No. 2 to the shift fork No. 2 shaft.
    2. Install the 3 snap rings to the shift fork No. 2 shaft.
  18. INSTALL CLUTCH SLEEVE WITH SHIFT FORK NO. 2 SHAFT AND SHIFT FORK NO. 2 

    HINT:

    Make sure to install the clutch sleeve in the correct direction.

    Fig 21: Installing Clutch Sleeve With Shift Fork
    G02992038Courtesy of © TOYOTA, LICENSE AGREEMENT TMS1002
  19. INSTALL FRONT EXTENSION HOUSING 
    1. Apply FIPG to the front extension housing.

      FIPG: 

      Part No. 08826-00090, THREE BOND 1281 or equivalent 

      Fig 22: Applying FIPG To Front Extension Housing
      G02992039Courtesy of © TOYOTA, LICENSE AGREEMENT TMS1002
    2. Install the front extension housing and 6 bolts.

      Torque: 37 N.m (380 kgf.cm, 27 ft.lbf) 

      HINT:

      Set the clutch sleeve in differential lock condition.

    3. Fig 23: Installing Front Extension Housing Bolts
      G02992040Courtesy of © TOYOTA, LICENSE AGREEMENT TMS1002
  20. INSTALL TRANSFER INDICATOR SWITCH 

    Install the 3 transfer indicator switches with 3 new gaskets.

    Torque: 37 N.m (380 kgf.cm, 27 ft.lbf) 

  21. INSTALL BALL, SPRING AND SCREW 
    1. Install the ball and spring.
    2. Apply liquid sealer to the screw plug threads.

      Sealant: 

      Part No. 08833-00080, THREE BOND 1344, LOCTITE 242 or equivalent 

    3. Using a torx socket wrench (T40), install the screw plug.

      Torque: 19 N.m (190 kgf.cm, 14 ft.lbf) 

    Fig 24: Installing Ball And Spring
    G02992041Courtesy of © TOYOTA, LICENSE AGREEMENT TMS1002
  22. INSTALL OUTPUT GEAR TO FRONT CASE 

    HINT:

    Apply gear oil to the output gear.

    NOTE: Do not turn the output gear.
    Fig 25: Installing Output Gear To Front Case
    G02992042Courtesy of © TOYOTA, LICENSE AGREEMENT TMS1002
  23. INSTALL MOTOR ACTUATOR 
    1. Apply FIPG to the motor actuator.

      FIPG: 

      Part No. 08826-00090, THREE BOND 1281 or equivalent 

      Fig 26: Applying FIPG To Motor Actuator
      G02992043Courtesy of © TOYOTA, LICENSE AGREEMENT TMS1002

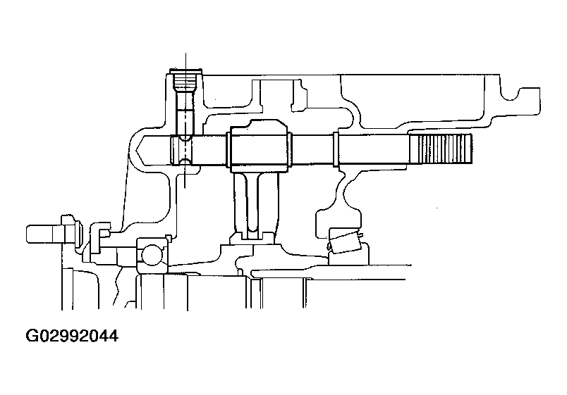
      HINT:

      Set the motor actuator in differential lock condition.

      Fig 27: Setting Motor Actuator In Differential Lock Condition
      G02992044Courtesy of © TOYOTA, LICENSE AGREEMENT TMS1002
    2. Install the motor actuator and 4 bolts.

      Torque: 18 N.m (185 kgf.cm, 13 ft.lbf) 

    3. Fig 28: Installing Motor Actuator Bolts
      G02992045Courtesy of © TOYOTA, LICENSE AGREEMENT TMS1002
  24. INSTALL SPEED SENSOR DRIVE GEAR 

    Install the driven gear and bolt.

    Torque: 11 N.m (115 kgf.cm, 8 ft.lbf) 

  25. INSTALL BREATHER HOSE