lemon-mirror:
Home >> Lexus >> 2005 >> RX 330 FWD >> Repair and Diagnosis >> Body & Frame >> Windows >> Windshield/WINDOWGLASS/Mirror >> Windshield Glass >> Replacement

Windshield Glass: Replacement

HINT:

The installation is in the reverse order of the removal. However, when there is a special point concerning the installation, it is indicated.

  1. REMOVE COWL TOP VENTILATOR LOUVER SUB-ASSY (See  WINDSHIELD WIPER MOTOR ASSY  ) 
    1. Remove the FR wiper arm LH.
    2. Remove the FR wiper arm RH.
    3. Remove the cowl top ventilator louver.
  2. REMOVE FRONT FENDER TO COWL SIDE SEAL RH (See  FRONT BUMPER  or or  ROOF DRIP SIDE FINISH MOULDING LH (MULTI-PANEL MOON ROOF TYPE)  ) 
  3. REMOVE FRONT FENDER TO COWL SIDE SEAL LH (See  FRONT BUMPER  or  ROOF DRIP SIDE FINISH MOULDING LH (MULTI-PANEL MOON ROOF TYPE)  ) 
  4. REMOVE  INNER REAR VIEW MIRROR ASSY  
  5. REMOVE ROOF HEADLINING ASSY (See  REPLACEMENT  ) 
    1. Remove the front door opening trim weatherstrip LH.
    2. Remove the front door opening trim weatherstrip RH.
    3. Remove the front pillar garnish LH.
    4. Remove the front pillar garnish RH.
    5. Remove the map lamp.
    6. Remove the LH visor.
    7. Remove the RH visor.
    8. Remove the 2 assist grip covers.
    9. Remove the assist grip.
    10. Remove the visor holder RH and LH.

      HINT:

      Do not remove the roof headlining completely partially so that the windshield glass can be removed.

  6. W/Rain sensor: REMOVE RAIN SENSOR (See  RAIN SENSOR  ) 
  7. REMOVE WINDSHIELD MOULDING OUTSIDE 
    1. Using a knife, cut off the moulding, as shown in the illustration.
      NOTE: Do not damage the vehicle body with the knife.
    2. Remove the remaining moulding from the vehicle body.

      HINT:

      When removing, make a partial cut, then pull and remove it by hand.

      Fig 1: Cutting Off Moulding
      G03013012Courtesy of © TOYOTA, LICENSE AGREEMENT TMS1002
    3. W/Deicer:

      Disconnect the connector as shown in the illustration.

      Fig 2: Disconnecting Connector
      G03013013Courtesy of © TOYOTA, LICENSE AGREEMENT TMS1002
  8. REMOVE WINDSHIELD GLASS 
    1. Pass a piano wire between the vehicle body and glass from the interior.
    2. Fig 3: Removing Windshield Glass
      G03013014Courtesy of © TOYOTA, LICENSE AGREEMENT TMS1002
    3. Tie both wire ends to wooden blocks or similar objects.

      HINT:

      Apply protective tape to the outer surface to prevent the surface from being scratched.

      NOTE:
      • When separating the glass, take care not to damage the paint and the interior and exterior ornaments.
      • To prevent the safety pad from being scratched when removing the glass, place a plastic sheet between the piano wire and safety pad.
      Fig 4: Applying Protective Tape To Outer Surface To Prevent Surface From Being Scratched
      G03013015Courtesy of © TOYOTA, LICENSE AGREEMENT TMS1002
    4. Cut off the adhesive by pulling the piano wire around the glass.
    5. Disengage the stoppers.
    6. Using a suction cup, remove the glass.
      NOTE: Leave as much adhesive on the vehicle body as possible when removing the glass.
  9. CLEAN WINDSHIELD GLASS 
    1. Using a scraper, remove the damaged stoppers, dam and adhesive sticking to the glass.
    2. Clean the outer circumference of the glass with white gasoline.
      Fig 5: Cleaning Windshield Glass
      G03013016Courtesy of © TOYOTA, LICENSE AGREEMENT TMS1002
      NOTE:
      • Do not touch the glass surface after cleaning it.
      • Be careful not to damage the glass.
      • Even if using new glass, clean the glass with white gasoline.
  10. INSTALL WINDSHIELD GLASS STOPPER NO. 1 
    1. Install 2 new stoppers to the vehicle body, as shown in the illustration.
      Fig 6: Installing New Stoppers To Vehicle Body
      G03013017Courtesy of © TOYOTA, LICENSE AGREEMENT TMS1002
  11. INSTALL WINDSHIELD GLASS STOPPER NO.2 
    1. Coat the installation part of the stopper with Primer G.
      NOTE:
      • Allow the primer coating to dry for 3 minutes or more.
      • Do not keep any of the opened Primer G for later use.
      • Do not apply too much primer.
    2. Install 2 new windshield glass stoppers onto the glass, as shown in the illustration.

      Standard dimension: 

      STANDARD DIMENSION SPECIFICATION

      Area Dimension
      A 40.0 mm (1.575 in.)
      B 9.0 mm (0.354 in.)
      C 15.0 mm (0.591 in.)
      Fig 7: Installing New Windshield Glass Stoppers Onto Glass
      G03013018Courtesy of © TOYOTA, LICENSE AGREEMENT TMS1002
  12. INSTALL WINDSHIELD GLASS RETAINER 
    1. Install new windshield glass retainer to the glass, as shown in the illustration.
      Fig 8: Installing New Windshield Glass Retainer To Glass
      G03013019Courtesy of © TOYOTA, LICENSE AGREEMENT TMS1002
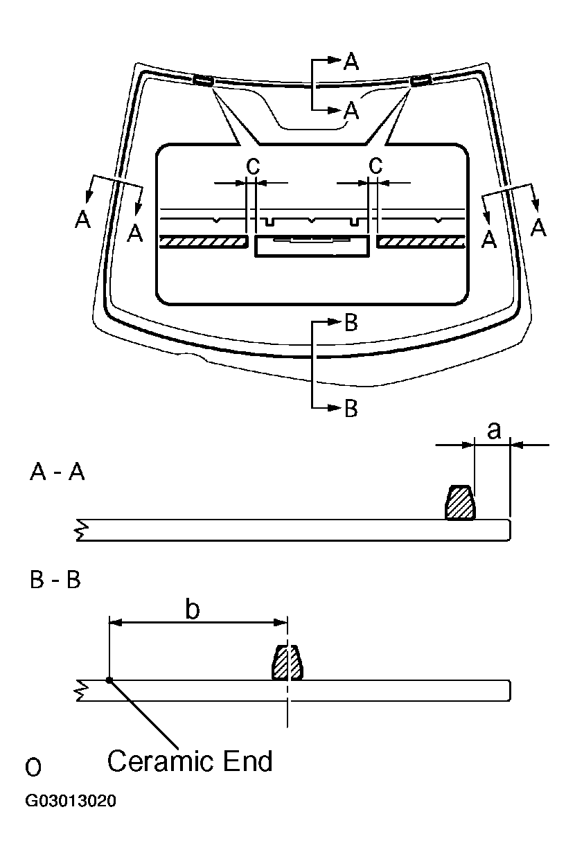
  13. INSTALL WINDOW GLASS ADHESIVE DAM 
    1. Coat the installation part of the dam with Primer G.
      NOTE:
      • Allow the primer coating to dry for 3 minutes or more.
      • Do not apply too much primer.
    2. Install a new dam, applying double-sided tape all the way around the glass except where the dam is installed, as shown in the illustration.

      Standard dimension: 

      STANDARD DIMENSION SPECIFICATION

      Area Dimension
      a 9.5 mm (0.374 in.)
      b 50.0 mm (1.969 in.)
      c 8.0 mm (0.315 in.)
      Fig 9: Installing Window Glass Adhesive Dam
      G03013020Courtesy of © TOYOTA, LICENSE AGREEMENT TMS1002
  14. INSTALL WINDSHIELD MOULDING OUTSIDE 
    1. Using a brush or sponge, coat the edge of the glass and the contact surface with Primer G.
      NOTE:
      • Allow the primer coating to dry for 3 minutes or more.
      • Do not coat the adhesive with Primer G.
      • Do not keep any of the opened Primer G for later use.
    2. Install the windshield moulding.
  15. INSTALL WINDSHIELD GLASS 
    1. Clean and shape the contact surface of the vehicle body.
      1. Using a knife, cut away any rough adhesive on the contact surface of the vehicle body to ensure the appropriate surface shape.

        HINT:

        Leave as much adhesive on the vehicle body as possible.

        Fig 10: Cutting Adhesive On Contact Surface Of Vehicle Body
        G03013021Courtesy of © TOYOTA, LICENSE AGREEMENT TMS1002
      2. Clean the contact surface of the vehicle body with a piece of shop rag saturated with cleaner.

        HINT:

        Even if all the adhesive has been removed, clean the vehicle body.

    2. Position the glass.
      1. Using a suction cup, place the glass in the correct position.
      2. Check that the whole contact surface of the glass rim is perfectly even.
      3. Place reference marks between the glass and vehicle body.
        NOTE: Check that the stoppers are attached to the vehicle body correctly.

        HINT:

        When reusing the glass, check and correct the reference mark positions.

        Fig 11: Placing Glass Correct Position
        G03013022Courtesy of © TOYOTA, LICENSE AGREEMENT TMS1002
      4. Remove the glass.
    3. Using a brush, coat the exposed part of the vehicle body on the vehicle side with Primer M.
      NOTE:
      • Allow the primer coating to dry for 3 minutes or more.
      • Do not coat the adhesive with Primer M.
      • Do not keep any of the opened Primer M for later use.
      Fig 12: Coating Exposed Part Of Vehicle Body On Vehicle Side With Primer M
      G03013023Courtesy of © TOYOTA, LICENSE AGREEMENT TMS1002
    4. Using a brush or sponge, coat the edge of the glass and the contact surface with Primer G.

      HINT:

      If an area other than that specified is coated by accident, wipe off the primer with a clean shop rag before it dries.

      NOTE:
      • Allow the primer coating to dry for 3 minutes or more.
      • Do not keep any of the opened Primer G for later use.
      Fig 13: Coating Glass And Contact Surface With Primer G
      G03013024Courtesy of © TOYOTA, LICENSE AGREEMENT TMS1002
    5. Apply adhesive.

      Adhesive: Part No. 08850-00801 or equivalent 

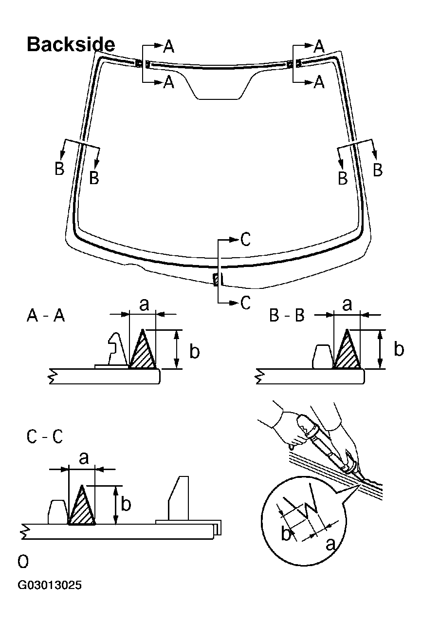
      1. Cut off the tip of the cartridge nozzle, as shown in the illustration.

        HINT:

        After cutting off the tip, use all adhesive within the time described in the table below.

        Tackfree time: 

        TEMPERATURE SPECIFICATION

        Temperature Tackfree Time
        35°C (95°F) 15 minutes
        20°C (68°F) 1 hour 40 minutes
        5°C (41°F) 8 hours
        Fig 14: Cutting Off Tip Cartridge Nozzle
        G03013025Courtesy of © TOYOTA, LICENSE AGREEMENT TMS1002
      2. Load the sealer gun with the cartridge.
      3. Coat the glass with adhesive, as shown in the lustration.

        Standard dimension: 

        STANDARD DIMENSION SPECIFICATION

        Area Dimension
        a 8.0 mm (0.315 in.)
        b 12.0 mm (0.472 in.)
    6. Install the glass.
      1. Using a suction cup, position the glass so that the reference marks are aligned, and press it in gently along the rim.
        NOTE:
        • Allow the primer coating to dry for 3 minutes or more.
        • Check that the stoppers are attached to the vehicle body correctly.
        • Check the clearance between the vehicle body and glass.
        Fig 15: Positioning Glass
        G03013026Courtesy of © TOYOTA, LICENSE AGREEMENT TMS1002
      2. Lightly press the front surface of the glass to ensure a close fit.
      3. Using a scraper, remove any excess or protruding adhesive.
        Fig 16: Removing Excess Or Protruding Adhesive
        G03013027Courtesy of © TOYOTA, LICENSE AGREEMENT TMS1002

        HINT:

        Apply adhesive onto the glass rim.

        NOTE: Take care not to drive the vehicle for the time described in the table below.
        Fig 17: Applying Adhesive Onto Glass Rim
        G03013028Courtesy of © TOYOTA, LICENSE AGREEMENT TMS1002

        Minimum time: 

        MINIMUM TIME TEMPERATURE SPECIFICATION

        Temperature Minimum time prior to driving vehicle
        35°C (95°F) 1 hour 30 minutes
        20°C (68°F) 5 hours
        5°C (41°F) 24 hours
  16. W/Rain sensor: INSTALL RAIN SENSOR 
    1. If reusing the rain sensor:

      Install new rain sensor tape.

      Fig 18: Installing New Rain Sensor Tape
      G03013029Courtesy of © TOYOTA, LICENSE AGREEMENT TMS1002
      1. Remove the used rain sensor tape from the windshield glass or rain sensor.
      2. Apply new rain sensor tape on the lens surface of the rain sensor indicated by the hatched area.
        NOTE:
        • Make sure that no dust or fingerprints are on the sheet surface.
        • Apply the sheet so that it will not come off from the area it is applied to.
      3. Install the rain sensor.
        NOTE:
        • If reusing the windshield:

          Check that no rain sensor tape remains on the windshield after removing the rain sensor. If tape remains, remove the tape.

        • Clean the glass face with a shop rag, etc.
  17. CHECK AND REPAIR WATER-LEAK 
    1. Conduct a leak test after the adhesive has completely hardened.
    2. Seal any leaks with auto glass sealer.