lemon-mirror:
Home >> Lexus >> 2005 >> SC 430 >> Repair and Diagnosis >> Electrical >> Charging Systems >> Starting & Charging >> Starting System >> Inspection

Starting System: Inspection

  1. INSPECT STARTER ASSY 
    NOTE: These tests must be performed within 3 to 5 seconds to prevent the coil from burning out.
    1. Perform the pull-in/holding test.
      1. Disconnect the field coil lead wire from terminal C.
      2. Connect the battery to the magnetic switch as shown in Fig 1.
        Fig 1: Connecting Battery To Magnetic Switch
        G02954160Courtesy of © TOYOTA, LICENSE AGREEMENT TMS1002
      3. Check that the clutch pinion gear moves outward.
      4. Disconnect the negative (-) battery cable from terminal C.
        Fig 2: Disconnecting Negative (-) Battery Cable From Terminal C
        G02954161Courtesy of © TOYOTA, LICENSE AGREEMENT TMS1002
      5. Check that the pinion gear remains out.
      6. Disconnect the negative (-) battery cable from the switch body.
        Fig 3: Disconnecting Negative (-) Battery Cable From Switch Body
        G02954162Courtesy of © TOYOTA, LICENSE AGREEMENT TMS1002
      7. Check that the clutch pinion gear returns inward.
    2. Perform the operation test without load.
      1. Connect the battery and ammeter to the starter as shown in Fig 4.
      2. Check that the starter rotates smoothly and steadily while the pinion gear is moving outward. Then measure the current.

        Specified current: 100 A or less at 11.5 V 

        Fig 4: Performing Operation Test Without Load
        G02954163Courtesy of © TOYOTA, LICENSE AGREEMENT TMS1002
  2. INSPECT IGNITION OR STARTER SWITCH ASSY 
    1. Measure the resistance of the switch.

      Standard: 

      Fig 5: Ignition Or Starter Switch Assy Table
      G02954164Courtesy of © TOYOTA, LICENSE AGREEMENT TMS1002
      Fig 6: Inspecting Ignition Or Starter Switch Assy
      G02954165Courtesy of © TOYOTA, LICENSE AGREEMENT TMS1002

      If the result is not as specified, replace the switch assy.

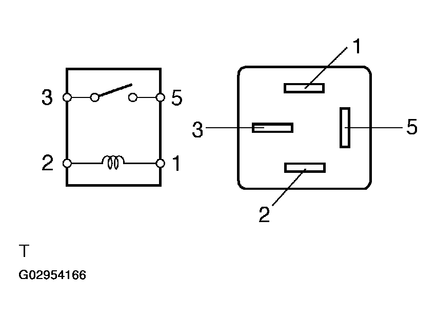
  3. INSPECT RELAY (Marking: STARTER) 
    1. Measure the resistance of the STARTER relay.

      Standard: 

      INSPECT RELAY (MARKING: STARTER)

      Tester Connection Specified Condition
      3 - 5 10 k ohms or higher
      3 - 5 Below 1 ohms (when battery voltage is applied to terminals 1 and 2)
      Fig 7: Inspecting Relay (Starter)
      G02954166Courtesy of © TOYOTA, LICENSE AGREEMENT TMS1002

      If the result is not as specified, replace the relay.