lemon-mirror:
Home >> Lexus >> 2005 >> SC 430 >> Repair and Diagnosis >> Electrical >> Gauges >> Combination Meter - Diagnostics >> Inspection

Combination Meter - Diagnostics: Inspection

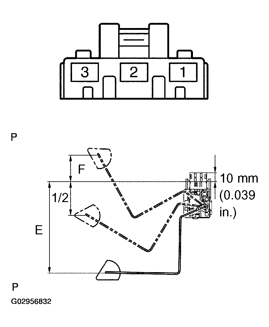
  1. INSPECT FUEL SENDER GAUGE ASSY 
    1. Inspect fuel sender gauge (main).
      1. Remove the fuel pump and sender gauge assy (see FUEL PUMP ASSY ).
      2. Remove the fuel sender gauge (main).
      3. Measure the resistance between terminals 2 and 3 of fuel sender gauge connector.

        Standard: 

        FUEL SENDER GAUGE (MAIN)

        Float level Float Position mm (in.) Resistance (ohms)
        F 34.6 (1.36) +/- 3 (0.12) 2.0 +/- 1
        1'2 52.4 (2.06) +/- 3 (0.12) 26.1 +/- 3
        E 134.9 (5.31) +/- 3 (0.12) 48.7 +/- 1
        Fig 1: Inspecting Fuel Sender Gauge Assy (Main)
        G02956832Courtesy of © TOYOTA, LICENSE AGREEMENT TMS1002
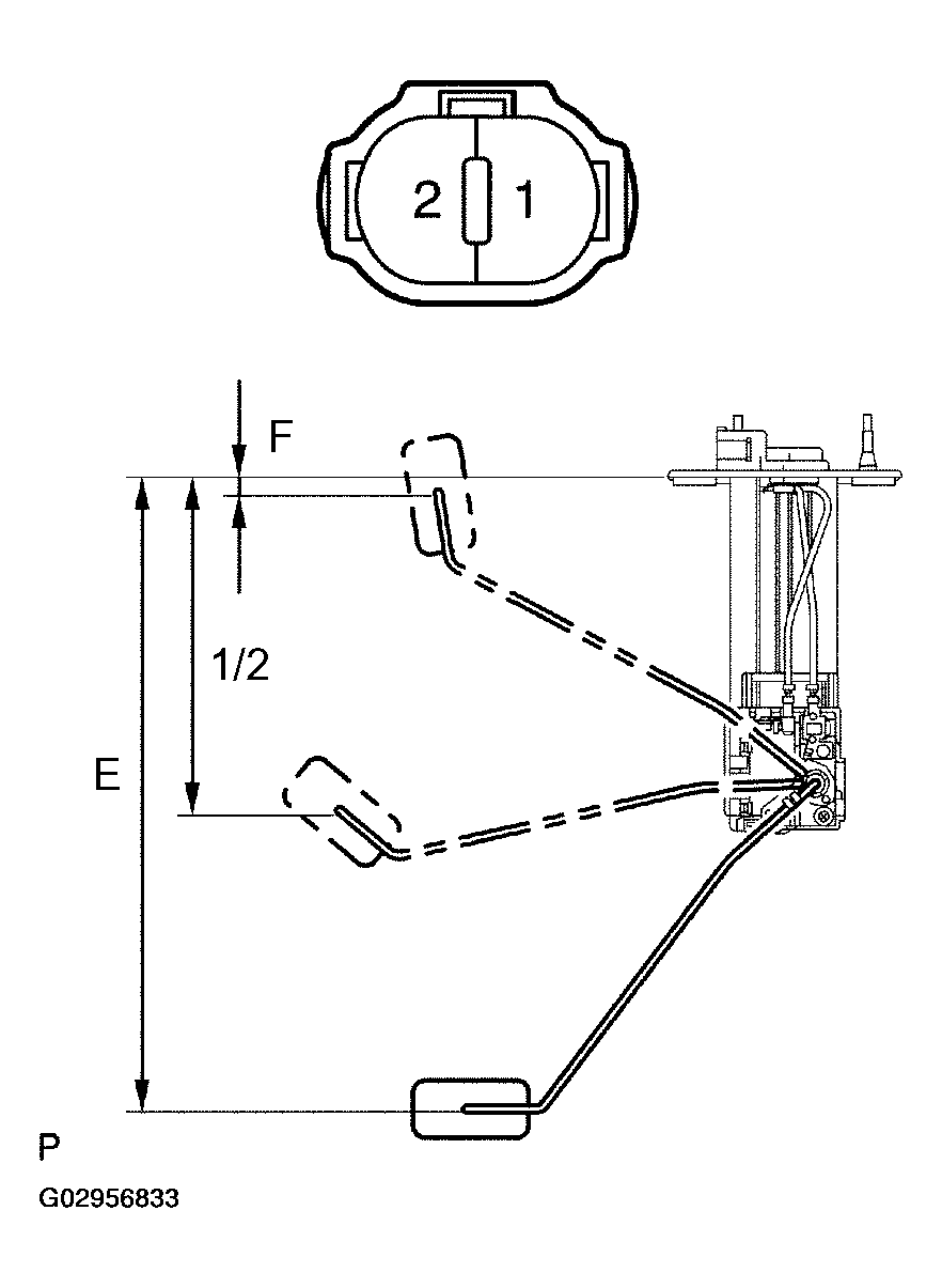
    2. Inspect fuel sender gauge (sub).
      1. Remove the fuel sender gauge (sub).
      2. Measure the resistance between terminals 1 and 2 of fuel sender gauge connector.

        Standard: 

        FUEL SENDER GAUGE (SUB)

        Float Level Float Position mm (in.) Resistance (ohms)
        F 9.5 (0.37) +/- 3 (0.12) 2.0 +/- 1
        1'2 110.5 (4.35) +/- 3 (0.12) 33.0 +/- 3
        E 206.5 (8.13) +/- 3 (0.12) 61.3 +/- 1

        HINT:

        When inspecting the fuel sender gauge, place the float at the uppermost position first. Then, measure the resistance while lowering the float.

        If the result is not as specified, replace the sender gauge.

        Fig 2: Inspecting Fuel Sender Gauge Assy (Sub)
        G02956833Courtesy of © TOYOTA, LICENSE AGREEMENT TMS1002
  2. INSPECT FRONT SEAT INNER BELT ASSY RH 
    1. Disconnect the B11 belt connector.
    2. Measure the resistance of the belt.

      Standard: 

      FRONT SEAT INNER BELT ASSY RH

      Tester Connection Condition Specified Condition
      2 - 5 Seat belt is unfastened 330 ohms
      2 - 5 Seat belt is fastened 1330 ohms

      If the result is not as specified, replace the inner belt.

      Fig 3: Inspecting Front Seat Inner Belt Assy RH
      G02956834Courtesy of © TOYOTA, LICENSE AGREEMENT TMS1002
  3. INSPECT FRONT SEAT INNER BELT ASSY LH 
    1. Disconnect the B10 belt connector.
    2. Measure the resistance of the belt.

      Standard: 

      FRONT SEAT INNER BELT ASSY LH

      Tester Connection Condition Specified Condition
      1 - 3 Seat belt is unfastened 10 k ohms or higher
      1 - 3 Seat belt is fastened Below 1 ohms

      If the result is not as specified, replace the inner belt.

      Fig 4: Inspecting Front Seat Inner Belt Assy LH
      G02956835Courtesy of © TOYOTA, LICENSE AGREEMENT TMS1002
  4. INSPECT SEPARATE SEAT TYPE FRONT SEAT CUSHION PAD 
    1. Disconnect the B11 belt connector.
    2. Measure the resistance of the cushion pad.

      Standard: 

      SEPARATE SEAT TYPE FRONT SEAT CUSHION PAD

      Tester Connection Condition Specified Condition
      1 - 4 Cushion pad is pressed Below 1 ohms
      1 - 4 Cushion pad is not pressed 10 k ohms or higher

      If the result is not as specified, replace the separate type front seat cushion pad.

      Fig 5: Inspecting Separate Seat Type Front Seat Cushion Pad
      G02956836Courtesy of © TOYOTA, LICENSE AGREEMENT TMS1002
  5. INSPECT WASHER JAR ASSY 
    1. Disconnect the W1 washer level warning switch.
    2. Measure the resistance of the switch.

      Standard: 

      Float up (switch OFF): 10 kΩ or higher 

    3. Using a siphon, or similar tool, drain washer fluid out of the washer jar.
    4. Measure the resistance of the switch.

      Standard: 

      Float sink (switch ON): Below 1 Ω 

      If the result is not as specified, replace the washer jar assy.

    5. Pour washer fluid into the washer jar.
      Fig 6: Inspecting Washer Jar Assy
      G02956837Courtesy of © TOYOTA, LICENSE AGREEMENT TMS1002
  6. INSPECT BRAKE FLUID LEVEL WARNING SWITCH 
    1. Remove the reservoir tank cap and strainer.
    2. Disconnect the B4 switch connector.
    3. Measure the resistance of the switch.

      Standard: 

      Float up (switch OFF): 10 kΩ or higher 

    4. Using a siphon or similar tool, drain fluid out of the reservoir tank.
    5. Measure the resistance of the switch.

      Standard: 

      Sink (switch ON): Below 1 Ω 

      If the result is not as specified, replace the reservoir tank.

    6. Pour brake fluid into the reservoir tank.
      Fig 7: Inspecting Brake Fluid Level Warning Switch
      G02956838Courtesy of © TOYOTA, LICENSE AGREEMENT TMS1002
  7. INSPECT PARKING BRAKE SWITCH ASSY 
    1. Disconnect the B2 parking brake switch connector.
    2. Remove the parking brake switch.
    3. Measure the resistance of the switch.

      Standard: 

      PARKING BRAKE SWITCH ASSY

      Tester Connection Condition Specified Condition
      1 - Body ground Not pushed 10 k ohms or higher
      1 - Body ground Pushed Below 1 ohms

      If the result is not as specified, replace the parking brake switch assy.

      Fig 8: Inspecting Parking Brake Switch Assy
      G02956839Courtesy of © TOYOTA, LICENSE AGREEMENT TMS1002
  8. INSPECT LAMP CONTROL RHEOSTAT 
    1. Disconnect the R5 rheostat connector.
    2. Remove the rheostat.
    3. Measure the resistance of the switch.

      Standard: 

      LAMP CONTROL RHEOSTAT

      Tester Connection Condition Specified Condition
      1 (E) - 2 (TC) Knob is turned fully clockwise 10 k ohms or higher
      1 (E) - 2 (TC) Knob is not turned fully clockwise Below 1 ohms
      1 (E) - 3 (T) Always 8 to 12 k ohms
      1 (E) - 4 (RV) Knob is turned fully counterclockwise 0 ohms
      1 (E) - 4 (RV) Knob is turned fully clockwise 8 to 12 k ohms

      If the result is not as specified, replace the rheostat.

      Fig 9: Inspecting Lamp Control Rheostat
      G02956840Courtesy of © TOYOTA, LICENSE AGREEMENT TMS1002
  9. INSPECT ENGINE COOLANT TEMPERATURE SENSOR 
    1. Remove the sensor.
    2. Partially immerse the sensor in water and measure the resistance of the sensor.

      Standard: 

      ENGINE COOLANT TEMPERATURE SENSOR

      Tester Connection Condition Specified Condition
      1 - 2 20°C (68°F) 2.32 to 2.59 k ohms
      1 - 2 80°C (176°F) 0.310 to 0.326 k ohms
      NOTE: Keep the terminals dry when checking the sensor in the water. Make sure to wipe water off of the sensor after the check.

      If the result is not as specified, replace the sensor.

      Fig 10: Inspecting Engine Coolant Temperature Sensor
      G02956841Courtesy of © TOYOTA, LICENSE AGREEMENT TMS1002
  10. INSPECT OIL PRESSURE SWITCH 
    1. Disconnect the E7 switch connector.
    2. Measure the resistance of the switch.

      Standard: 

      OIL PRESSURE SWITCH

      Tester Connection Condition Specified Condition
      1 - Body ground Engine not idling Below 1 ohms
      1 - Body ground Engine idling 10 k ohms or higher

      HINT:

      The oil pressure exceeds 24.5 kPa (0.25 kgf.cm2 , 3.55 psi).

      If the result is not as specified, replace the switch assy.

      Fig 11: Inspecting Oil Pressure Switch
      G02956842Courtesy of © TOYOTA, LICENSE AGREEMENT TMS1002
  11. INSPECT ENGINE OIL LEVEL SENSOR 
    1. Disconnect the E9 sensor connector.
    2. Measure the resistance of the sensor.

      Standard: 

      Fig 12: Engine Oil Level Sensor Table
      G02956843Courtesy of © TOYOTA, LICENSE AGREEMENT TMS1002

      If the result is not as specified, replace the sensor.

      Fig 13: Inspecting Engine Oil Level Sensor
      G02956844Courtesy of © TOYOTA, LICENSE AGREEMENT TMS1002