lemon-mirror:
Home >> Lexus >> 2005 >> SC 430 >> Repair and Diagnosis >> Restraints >> Restraints Control Systems >> Seat Belt >> Seat Belt Warning System >> System Diagram >> Notes

System Diagram: Notes

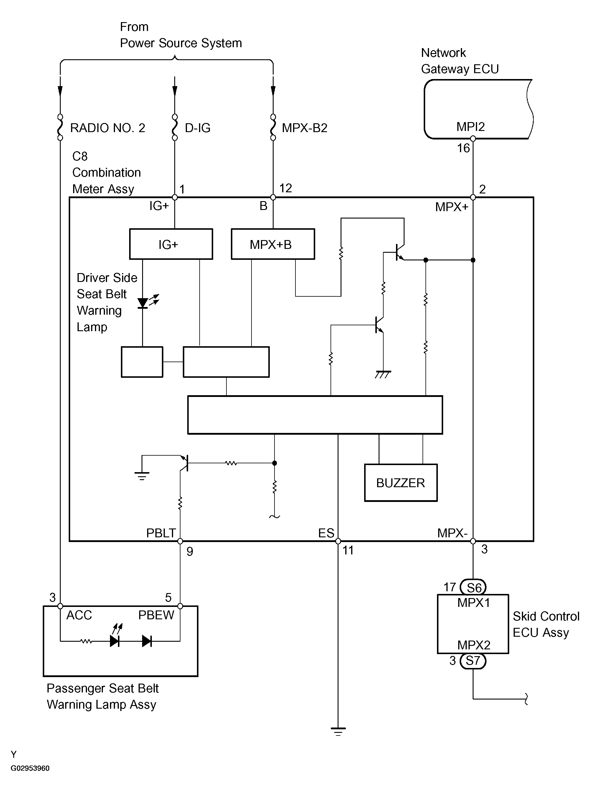
Fig 1: Seat Belt Warning System Diagram (1 Of 2)
G02953960Courtesy of © TOYOTA, LICENSE AGREEMENT TMS1002
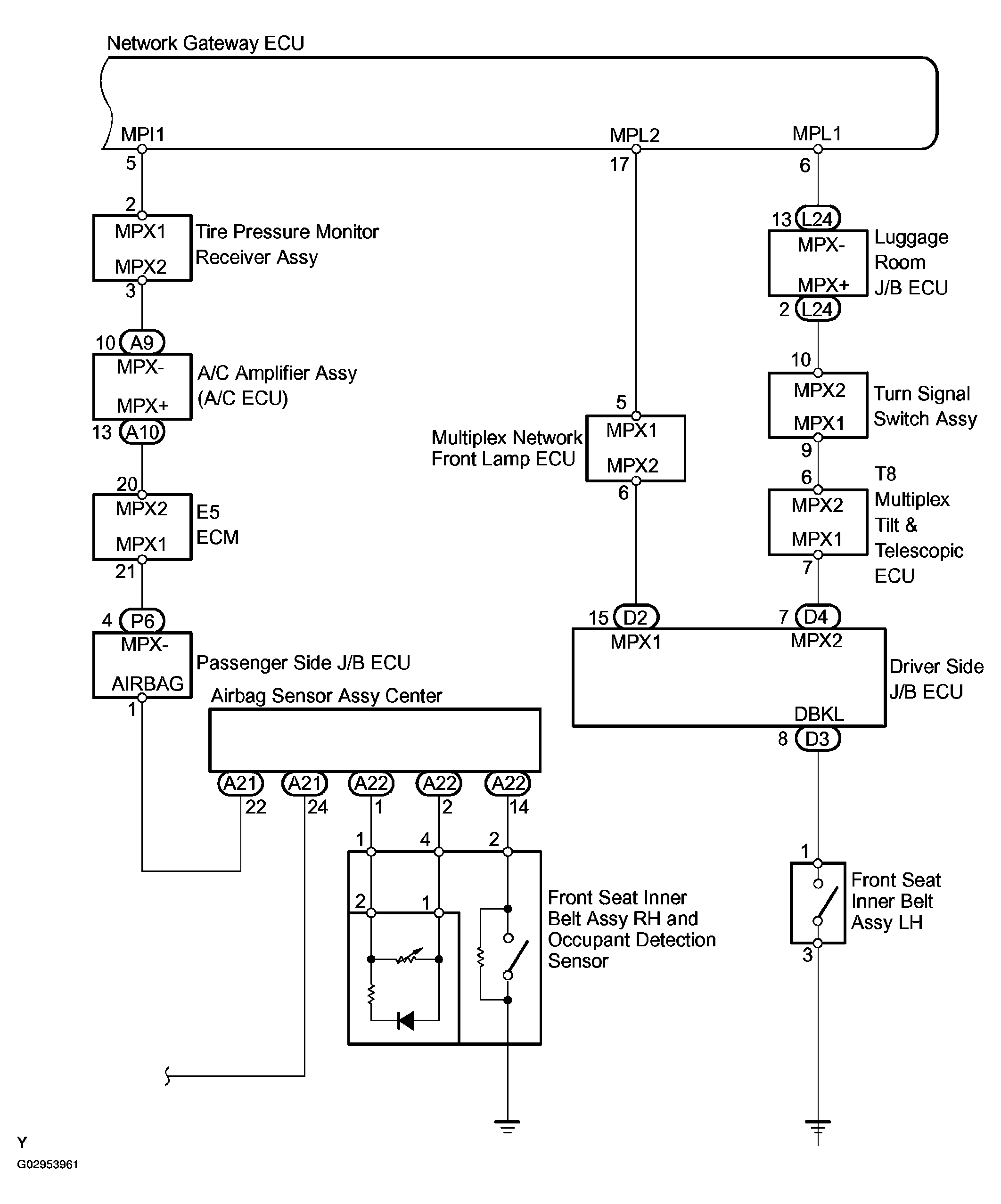
Fig 2: Seat Belt Warning System Diagram (2 Of 2)
G02953961Courtesy of © TOYOTA, LICENSE AGREEMENT TMS1002