lemon-mirror:
Home >> Lexus >> 2006 >> ES 330 >> Repair and Diagnosis >> Transmission >> Automatic Trans >> Automatic Transmission Overhaul >> Introduction >> Repair Instruction For Automatic Transaxle Repair >> Precaution

Repair Instruction For Automatic Transaxle Repair: Precaution

  1. BASIC REPAIR HINT 
    1. PRECOATED PARTS
      1. Precoated parts are bolts, nuts, etc. that are coated with a seal lock adhesive at the factory.
      2. If a precoated part is retightened, loosened or caused to move in any way, it must be recoated with the specified adhesive.
      3. When reusing precoated parts, clean off the old adhesive and dry with compressed air. Then apply the specified seal lock adhesive to the bolt, nut or threads.
        Fig 1: Applying Specified Seal Lock Adhesive To Bolt, Nut Or Threads
        G04178012Courtesy of © TOYOTA, LICENSE AGREEMENT TMS1002
        NOTE: Do the torque checking with the lower limit value of the torque tolerance.
      4. Depending on the seal lock agent to apply, there may be a case where it is necessary to leave it for a specified time until it hardens.
    2. GASKETS ( When necessary, use a sealer on gaskets to prevent leaks.
    3. BOLTS, NUTS AND SCREWS

      Carefully observe all specifications for bolt tightening torques. Always use a torque wrench.

    4. TORQUE WHEN USING EXTENSION TOOL WITH TORQUE WRENCH
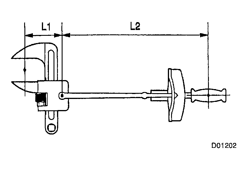
      1. In case of tightening by extending the entire length of the torque wrench combined with SST or tool, if you tighten until the reading of the torque wrench reached the specified torque value, the actual torque becomes excessive.
      2. In this text, only the specified torque is described. In case of using SST or extension tool, find the reading of the torque wrench by the formula.
        Fig 2: Measuring SST Length (1 Of 3)
        G04178013Courtesy of © TOYOTA, LICENSE AGREEMENT TMS1002
        Fig 3: Measuring SST Length (2 Of 3)
        G04178014Courtesy of © TOYOTA, LICENSE AGREEMENT TMS1002
        Fig 4: Measuring SST Length (3 Of 3)
        G04178015Courtesy of © TOYOTA, LICENSE AGREEMENT TMS1002
      3. Formula T'=T x L2/(L1 + L2)
      TORQUE MEASURING FORMULA

      T' Reading of torque wrench {N.m (kgf.cm, ft.lbf)}
      T Torque {N.m (kgf.cm, ft.lbf)}
      L1 Length of SST or tool (cm)
      L2 Length of torque wrench (cm)