lemon-mirror:
Home >> Lexus >> 2006 >> GS 300 AWD >> Repair and Diagnosis >> Transmission >> Transfer Case >> Transfer >> Transfer Assembly >> Disassembly

Transfer Assembly: Disassembly

  1. REMOVE TRANSFER OIL PAN 
    1. Remove the 9 bolts.
      Fig 1: Identifying Transfer Oil Pan Bolts
      G04020367Courtesy of © TOYOTA, LICENSE AGREEMENT TMS1002
    2. Insert the blade of SST between the transfer oil pan and transfer case. Cut through the sealer and remove the transfer oil pan.

      SST 09032-00100 

      NOTE: Do not damage the contact surface of the transfer oil pan.
      Fig 2: Removing Transfer Oil Pan
      G04020368Courtesy of © TOYOTA, LICENSE AGREEMENT TMS1002
    3. Remove the transfer oil cleaner magnet from the transfer oil pan.
      NOTE:
      • Clean the inside of the oil pan thoroughly, removing all metal shavings, sludge and any other foreign objects.
      • Remove any metal shavings from the magnet.
      Fig 3: Removing Transfer Oil Cleaner Magnet From Transfer Oil Pan
      G04020369Courtesy of © TOYOTA, LICENSE AGREEMENT TMS1002
  2. REMOVE TRANSFER VALVE BODY ASSEMBLY 
    1. Remove the 4 bolts and the transfer valve body assembly.
    2. Disconnect the transfer wire connector from the transfer control solenoid.
      Fig 4: Identifying Transfer Wire Connector From Transfer Control Solenoid
      G04020370Courtesy of © TOYOTA, LICENSE AGREEMENT TMS1002
    3. Remove the bolt and the transfer wire.
      Fig 5: Identifying Bolt And Transfer Wire
      G04020371Courtesy of © TOYOTA, LICENSE AGREEMENT TMS1002
  3. REMOVE TRANSFER EXTENSION HOUSING DUST DEFLECTOR 
    Fig 6: Removing Transfer Extension Housing Dust Deflector
    G04020372Courtesy of © TOYOTA, LICENSE AGREEMENT TMS1002
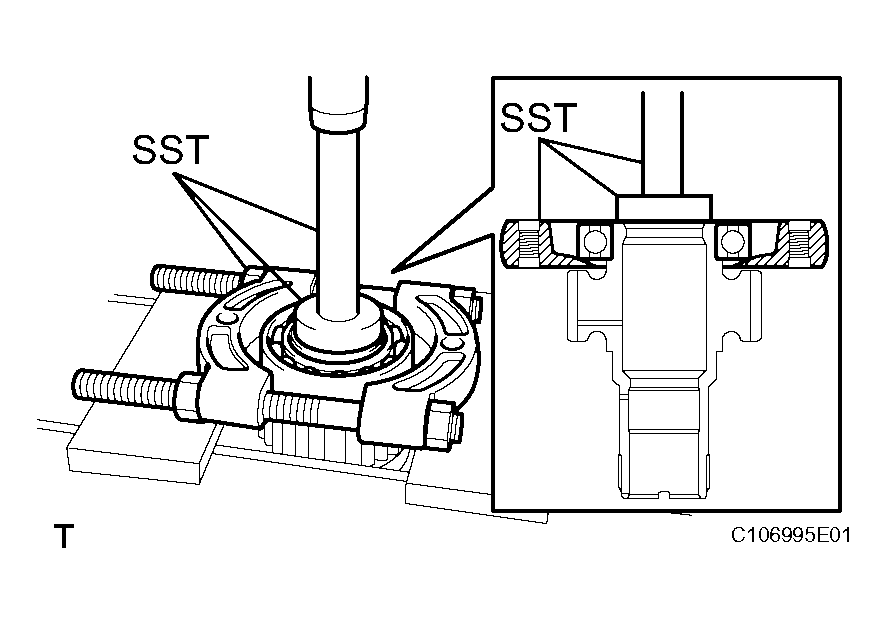
    1. Using SST, remove the transfer extension housing dust deflector.

      SST 09950-40011 (09951-04010, 09952-04010, 09953-04020, 09954-04010, 09955-04051, 09958-04011) 

      NOTE: Apply grease to the threads and tip of the SST center bolt before use.
  4. REMOVE TRANSFER CASE 
    1. Remove the 8 bolts and clamp.
      Fig 7: Identifying Transfer Case Bolts And Clamp
      G04020373Courtesy of © TOYOTA, LICENSE AGREEMENT TMS1002
    2. Using a plastic hammer, tap the transfer case to remove it.
      Fig 8: Removing Transfer Case
      G04020374Courtesy of © TOYOTA, LICENSE AGREEMENT TMS1002
  5. REMOVE TRANSFER REAR OUTPUT SHAFT ASSEMBLY 
    1. Remove the transfer rear output shaft assembly.
      Fig 9: Identifying Transfer Rear Output Shaft Assembly
      G04020375Courtesy of © TOYOTA, LICENSE AGREEMENT TMS1002
  6. REMOVE FLANGE YOKE 
    1. Using SST and a hammer, release the staked part of the nut.
      Fig 10: Releasing Staked Part Of Nut
      G04020376Courtesy of © TOYOTA, LICENSE AGREEMENT TMS1002

      SST 09930-00010 

      NOTE:
      • Be sure to use the SST with the tapered surface facing the shaft.
      • Do not grind the tip of the SST with a grinder etc.
      • Completely loosen the staked part of the nut when removing it.
      • Do not damage the threads of the transfer drive sprocket.
    2. Using SST, hold the yoke.

      SST 09330-00021, 09213-54015 

    3. Using a deep socket wrench (30 mm), remove the nut.
    4. Remove the flange yoke.
      Fig 11: Removing Flange Yoke
      G04020377Courtesy of © TOYOTA, LICENSE AGREEMENT TMS1002
  7. REMOVE TRANSFER CHAIN CASE REAR 
    1. Remove the 10 bolts.
      Fig 12: Identifying Transfer Chain Case Rear Bolts
      G04020378Courtesy of © TOYOTA, LICENSE AGREEMENT TMS1002
    2. Tap the 3 protrusions of the transfer chain case gently with a brass bar and hammer to loosen, and remove it.
      Fig 13: Identifying Remove Transfer Chain Case Rear
      G04020379Courtesy of © TOYOTA, LICENSE AGREEMENT TMS1002
      NOTE: Do not damage the transfer chain case.
  8. REMOVE TRANSFER FRONT DRIVE CHAIN, TRANSFER DRIVE SPROCKET ASSEMBLY AND TRANSFER FRONT DRIVEN CLUTCH SLEEVE ASSEMBLY 
    1. Remove the transfer front drive chain, transfer drive sprocket and transfer front driven clutch sleeve.
    2. Remove the transfer front drive chain from the transfer drive sprocket and transfer front driven clutch sleeve.
      Fig 14: Identifying Transfer Front Drive Chain, Transfer Drive Sprocket Assembly
      G04020380Courtesy of © TOYOTA, LICENSE AGREEMENT TMS1002
  9. REMOVE TRANSFER CHAIN CASE FRONT 
    1. Remove the 6 bolts and transfer chain case front.

      HINT:

      If necessary, tap the transfer chain case front with a plastic hammer to loosen and remove it.

      Fig 15: Identifying Transfer Chain Case Front
      G04020381Courtesy of © TOYOTA, LICENSE AGREEMENT TMS1002
  10. REMOVE TRANSFER CASE REAR OIL SEAL 
    1. Using a screwdriver with its tip taped, pry out the oil seal from the transfer case.
      Fig 16: Removing Transfer Case Rear Oil Seal
      G04020382Courtesy of © TOYOTA, LICENSE AGREEMENT TMS1002
    2. Remove the bolt and clamp.
      Fig 17: Identifying Bolt And Clamp
      G04020383Courtesy of © TOYOTA, LICENSE AGREEMENT TMS1002
  11. REMOVE TRANSFER CASE BEARING 
    1. Using SST, remove the transfer case bearing from the transfer case.

      SST 09308-00010 

      Fig 18: Removing Transfer Case Bearing
      G04020384Courtesy of © TOYOTA, LICENSE AGREEMENT TMS1002
  12. REMOVE TRANSFER BAFFLE VALVE SUBASSEMBLY 
    1. Remove the bolt and transfer baffle valve from the transfer chain case rear.
      Fig 19: Identifying Bolt And Transfer Baffle Valve From Transfer Chain Case Rear
      G04020385Courtesy of © TOYOTA, LICENSE AGREEMENT TMS1002
  13. REMOVE TRANSFER CHAIN CASE GOVERNOR APPLY GASKET 
    1. Remove the screw, O-ring, and 2 gaskets from the transfer chain case front.
      Fig 20: Identifying Screw, O-Ring, And 2 Gaskets From Transfer Chain Case Front
      G04020386Courtesy of © TOYOTA, LICENSE AGREEMENT TMS1002
    2. Remove the 2 gaskets from the transfer chain case rear.
      Fig 21: Identifying Gaskets From Transfer Chain Case Rear
      G04020387Courtesy of © TOYOTA, LICENSE AGREEMENT TMS1002
  14. REMOVE TRANSFER CASE FRONT OIL SEAL 
    1. Using a screwdriver with its tip taped, pry out the oil seal from the transfer chain case front.
      Fig 22: Removing Transfer Case Front Oil Seal
      G04020388Courtesy of © TOYOTA, LICENSE AGREEMENT TMS1002
  15. REMOVE TRANSFER REAR OUTPUT SHAFT AND CENTER DIFFERENTIAL CARRIER 
    1. Remove the transfer rear output shaft and center differential carrier from the transfer direct clutch drum.
      Fig 23: Identifying Transfer Rear Output Shaft And Center Differential Carrier
      G04020389Courtesy of © TOYOTA, LICENSE AGREEMENT TMS1002
  16. REMOVE TRANSFER REAR OUTPUT SHAFT BEARING 
    1. Remove the transfer rear output shaft bearing from the transfer direct clutch drum.
      Fig 24: Identifying Transfer Rear Output Shaft Bearing
      G04020390Courtesy of © TOYOTA, LICENSE AGREEMENT TMS1002
  17. INSPECT CENTER DIFFERENTIAL CARRIER ASSEMBLY 
    1. Using a feeler gauge, measure the center differential carrier pinion gear thrust clearance.

      Standard clearance: 

      0.2 to 0.5 mm (0.008 to 0.020 in.) 

      If the clearance is greater than the standard clearance, replace the center differential carrier.

      Fig 25: Inspecting Center Differential Carrier Assembly
      G04020391Courtesy of © TOYOTA, LICENSE AGREEMENT TMS1002
  18. REMOVE CENTER DIFFERENTIAL CLUTCH DISC SET 
    1. Using a screwdriver with its tip taped, remove the snap ring from the transfer direct clutch drum.
      Fig 26: Removing Snap Ring From Transfer Direct Clutch Drum
      G04020392Courtesy of © TOYOTA, LICENSE AGREEMENT TMS1002
    2. Remove the 2 center differential clutch disc flanges and center differential clutch disc set from the transfer direct clutch drum.

      HINT:

      • A: Center differential clutch disc flange (No.1)
      • B: Center differential clutch disc set (Discs)
      • C: Center differential clutch disc set (Plates)
        Fig 27: Identifying Center Differential Clutch Disc Flanges
        G04020393Courtesy of © TOYOTA, LICENSE AGREEMENT TMS1002
      • D: Center differential clutch disc flange (No.2)
  19. INSPECT CENTER DIFFERENTIAL CLUTCH DISC SET 
    1. Check whether the sliding surfaces of the disc and flange are worn or burnt.

      If necessary, replace them.

      Fig 28: Identifying Disc
      G04019470Courtesy of © TOYOTA, LICENSE AGREEMENT TMS1002
      NOTE:
      • If the lining of the disc is peeled off or discolored, or if any part of the printed numbers is damaged, replace all discs.
      • Before assembling new discs, soak them in ATF for at least 15 minutes.
  20. REMOVE CENTER DIFFERENTIAL CLUTCH PRESSURE BALANCER 
    1. Place SST on the center differential clutch pressure balancer, and compress the return spring with a press.

      SST 09350-30020 (09350-07040) 

    2. Using SST, remove the snap ring.

      SST 09350-30020 (09350-07040, 09350-07070) 

      Fig 29: Removing Snap Ring
      G04020395Courtesy of © TOYOTA, LICENSE AGREEMENT TMS1002
    3. Remove the center differential clutch pressure balancer from the transfer direct clutch drum.
      Fig 30: Identifying Center Differential Clutch Pressure Balancer From Transfer Direct Clutch Drum
      G04020396Courtesy of © TOYOTA, LICENSE AGREEMENT TMS1002
  21. REMOVE TRANSFER DIRECT CLUTCH RETURN SPRING ASSEMBLY 
    1. Remove the transfer direct clutch return spring from the transfer direct clutch drum.
      Fig 31: Identifying Transfer Direct Clutch Return Spring Assembly
      G04020397Courtesy of © TOYOTA, LICENSE AGREEMENT TMS1002
  22. INSPECT TRANSFER DIRECT CLUTCH RETURN SPRING ASSEMBLY 
    1. Using vernier calipers, measure the free length of the spring together with the spring seat.

      Standard free length: 

      15.2 to 15.8 mm (0.5984 to 0.6220 in.) 

      If the free length is shorter than the standard free length, replace the transfer direct clutch return spring.

      Fig 32: Inspecting Transfer Direct Clutch Return Spring Assembly
      G04020398Courtesy of © TOYOTA, LICENSE AGREEMENT TMS1002
  23. REMOVE CENTER DIFFERENTIAL CLUTCH PISTON 
    1. Install the transfer direct clutch drum to the transfer center support.
      Fig 33: Identifying Transfer Direct Clutch Drum To Transfer Center Support
      G04020399Courtesy of © TOYOTA, LICENSE AGREEMENT TMS1002
    2. While pushing down evenly on the center differential clutch piston, apply air (200 kpa, 2.0 kgf*cm2 , 19 psi), at the oil hole on the transfer chain case rear as shown in the illustration, to remove the center differential clutch piston from the transfer direct clutch drum.
    3. Remove the direct clutch drum from the transfer center support.
      Fig 34: Removing Center Differential Clutch Piston
      G04020400Courtesy of © TOYOTA, LICENSE AGREEMENT TMS1002
  24. REMOVE TRANSFER DIRECT CLUTCH PISTON O-RING 
    1. Remove the 2 O-rings from the center differential clutch piston.
      Fig 35: Identifying Transfer Direct Clutch Piston O-Ring
      G04020401Courtesy of © TOYOTA, LICENSE AGREEMENT TMS1002
  25. INSPECT TRANSFER DIRECT CLUTCH DRUM 
    Fig 36: Inspecting Transfer Direct Clutch Drum
    G04020402Courtesy of © TOYOTA, LICENSE AGREEMENT TMS1002
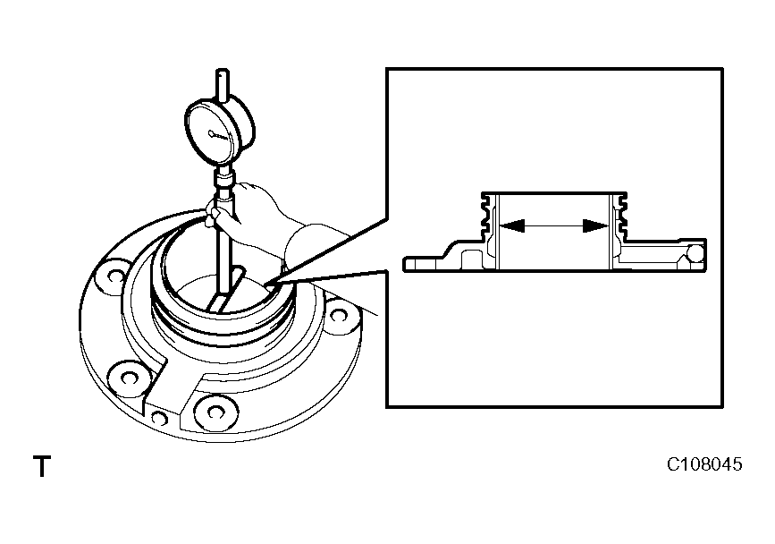
    1. Using a cylinder gauge, measure the inside diameter of the transfer direct clutch drum.

      Standard inside diameter: 

      65.00 to 65.06 mm (2.559 to 2.564 in.) 

      If the inside diameter is greater than the standard inside diameter, replace the transfer direct clutch drum.

  26. REMOVE TRANSFER CENTER SUPPORT 
    1. Remove the 5 bolts and transfer center support.
    2. Remove the 2 screws and 2 O-rings from the transfer chain case rear.
      Fig 37: Identifying Transfer Center Support
      G04020403Courtesy of © TOYOTA, LICENSE AGREEMENT TMS1002
  27. REMOVE TRANSFER CENTER SUPPORT SEAL RING 
    1. Remove the 2 transfer center support seal rings from the transfer center support.
      Fig 38: Identifying Transfer Center Support Seal Ring
      G04020404Courtesy of © TOYOTA, LICENSE AGREEMENT TMS1002
  28. INSPECT TRANSFER CENTER SUPPORT 
    1. Using a cylinder gauge, measure the inside diameter of the transfer center support.

      Standard inside diameter: 

      49.9 to 50.1 mm (1.965 to 1.972 in.) 

      If the inside diameter is greater than the standard inside diameter, replace the transfer center support.

      Fig 39: Inspecting Transfer Center Support
      G04020405Courtesy of © TOYOTA, LICENSE AGREEMENT TMS1002
  29. REMOVE TRANSFER DRIVEN SPROCKET BEARING 
    1. Using SST and a press, remove the transfer driven sprocket bearing from the transfer front driven clutch sleeve.

      SST 09950-00020 

      Fig 40: Identifying Transfer Driven Sprocket Bearing From Transfer Front Driven Clutch Sleeve
      G04020406Courtesy of © TOYOTA, LICENSE AGREEMENT TMS1002
    2. Using SST and a press, remove the transfer driven sprocket bearing from the transfer front driven clutch sleeve.

      SST 09950-60010 (09951-00530), 09950-70010 (09951-07100) 

      Fig 41: Identifying Transfer Driven Sprocket Bearing From Transfer Front Driven Clutch Sleeve
      G04020407Courtesy of © TOYOTA, LICENSE AGREEMENT TMS1002
  30. REMOVE TRANSFER DRIVE SPROCKET BEARING 
    1. Using SST and a press, remove the transfer drive sprocket bearing from the transfer drive sprocket.

      SST 09950-00020, 09950-70010 (09951-07100), 09950-60010 (09951-00480) 

      Fig 42: Identifying Transfer Drive Sprocket Bearing From Transfer Drive Sprocket
      G04020408Courtesy of © TOYOTA, LICENSE AGREEMENT TMS1002
    2. Using SST and a press, remove the transfer drives pocket bearing from the transfer drive sprocket.

      SST 09950-00020, 09950-70010 (09951-07100), 09950-60010 (09951-00550) 

      Fig 43: Identifying Transfer Drive Sprocket Bearing From Transfer Drive Sprocket
      G04020409Courtesy of © TOYOTA, LICENSE AGREEMENT TMS1002
  31. REMOVE TRANSFER CONTROL SOLENOID 
    Fig 44: Identifying Transfer Control Solenoid
    G04020410Courtesy of © TOYOTA, LICENSE AGREEMENT TMS1002
    1. Remove the bolt, solenoid lock plate and transfer control solenoid.
  32. REMOVE TRANSFER VALVE BODY COVER 
    1. Remove the 6 bolts.
      Fig 45: Identifying Transfer Valve Body Cover Bolts
      G04020411Courtesy of © TOYOTA, LICENSE AGREEMENT TMS1002
    2. Remove the transfer valve body cover and transfer valve body plate upper from the transfer upper valve body.
    3. Remove the solenoid oil strainer from the transfer valve body cover.
      Fig 46: Identifying Transfer Valve Body Cover
      G04020412Courtesy of © TOYOTA, LICENSE AGREEMENT TMS1002
  33. REMOVE TRANSFER SOLENOID MODULATOR VALVE 
    1. While pushing on the transfer modulator valve plug, remove the transfer solenoid modulator valve plug seat from the transfer upper valve body.
      Fig 47: Identifying Transfer Solenoid Modulator Valve Plug Seat From Transfer Upper Valve Body
      G04020413Courtesy of © TOYOTA, LICENSE AGREEMENT TMS1002
    2. Remove the transfer solenoid modulator valve plug, transfer solenoid modulator valve and low-high shift valve compression spring from the transfer upper valve body.
      Fig 48: Identifying Transfer Solenoid Modulator Valve Plug
      G04020414Courtesy of © TOYOTA, LICENSE AGREEMENT TMS1002
  34. REMOVE CENTER DIFFERENTIAL CLUTCH CONTROL VALVE 
    Fig 49: Identifying Center Differential Clutch Control Valve Plug Seat From Transfer Upper Valve Body
    G04020415Courtesy of © TOYOTA, LICENSE AGREEMENT TMS1002
    1. While pushing on the center differential clutch control valve plug, remove the center differential clutch control valve plug seat from the transfer upper valve body.
    2. Remove the center differential clutch control valve plug, center differential clutch control valve, transfer direct clutch modulator valve spring and center differential clutch control valve sleeve from the transfer upper valve body.
      Fig 50: Identifying Center Differential Clutch Control Valve Plug
      G04020416Courtesy of © TOYOTA, LICENSE AGREEMENT TMS1002