lemon-mirror:
Home >> Lexus >> 2006 >> GS 430 >> Repair and Diagnosis >> Brakes >> Brakes Control Systems >> Brake Control >> Electronically Controlled Brake System >> Calibration

Electronically Controlled Brake System: Calibration

  1. DESCRIPTION 

    After replacing the VSC relevant components or performing "Front wheel alignment adjustment", clear and read the sensor calibration data. Follow the procedure to perform calibration.

    REPLACEMENT / ADJUSTMENT PARTS AND NECESSARY OPERATION

    Replacement / Adjustment Parts Necessary Operation
    Skid control ECU Yaw rate and acceleration sensor zero point calibration.
    Yaw rate and acceleration sensor
    1. Clearing zero point calibration data.
    2. Yaw rate and acceleration sensor zero point calibration.
    Front wheel alignment
    1. Clearing zero point calibration data.
    2. Yaw rate and acceleration sensor zero point calibration.
  2. CLEAR ZERO POINT CALIBRATION (WHEN USING INTELLIGENT TESTER:) 
    1. Connect the intelligent tester to the DLC3.
    2. Turn the engine switch on (IG).
      Fig 1: Identifying Intelligent Tester To DLC3
      G04025087Courtesy of © TOYOTA, LICENSE AGREEMENT TMS1002
    3. Operate the intelligent tester to erase the codes (select "RESET MEMORY").

      HINT:

      Refer to the intelligent tester operator's manual for further details.

      Fig 2: Consult-II Display Diagnostic Menu
      G04025078Courtesy of © TOYOTA, LICENSE AGREEMENT TMS1002
    4. Using the intelligent tester, perform zero point calibration of the yaw rate and acceleration sensor.
  3. PREFORM ZERO POINT CALIBRATION OF YAW RATE AND ACCELERATION SENSOR (WHEN USING INTELLIGENT TESTER:) 
    NOTE:
    • While obtaining the zero point, do not vibrate the vehicle by tilting, moving or shaking. Keep it in a stationary condition and do not start the engine.
    • Choose a level surface with an inclination of less than 1 degree.
    1. Procedures for Test Mode.
      1. Ensure that the steering wheel is centered, move the shift lever to the P position, and apply the parking brake.
        NOTE: DTC C1210/36 and C1336/39 will be recorded if the shift lever is not in the P position.
      2. Connect the intelligent tester to the DLC3.
      3. Turn the engine switch on (IG).
        Fig 3: Identifying Intelligent Tester To DLC3
        G04025087Courtesy of © TOYOTA, LICENSE AGREEMENT TMS1002
      4. Set the intelligent tester to Test Mode (select "TEST MODE").

        HINT:

        Refer to the intelligent tester operator's manual for further details.

        Fig 4: Consult-II Display - Diagnostic Menu
        G04025080Courtesy of © TOYOTA, LICENSE AGREEMENT TMS1002
    2. Obtain the zero point of the yaw rate and acceleration sensor.
      1. Keep the vehicle stationary on a level surface for 2 seconds or longer.
      2. Check that the ABS and brake control warning lights blink and "VSC TEST MODE" is indicated on the multi information display (Test Mode).

        HINT:

        • If the ABS and brake control warning lights do not blink and "VSC TEST MODE" is not indicated on the multi information display, perform zero point calibration again.
        • The zero point calibration is performed only once after the system enters the Test Mode.
        • Calibration cannot be performed again until the stored data is cleared.
          Fig 5: Identifying Test Mode Blinking Pattern
          G04029729Courtesy of © TOYOTA, LICENSE AGREEMENT TMS1002
    3. Turn the engine switch off and disconnect the intelligent tester.
  4. CLEAR ZERO POINT CALIBRATION (WHEN USING SST CHECK WIRE:) 
    1. Turn the engine switch on (IG).
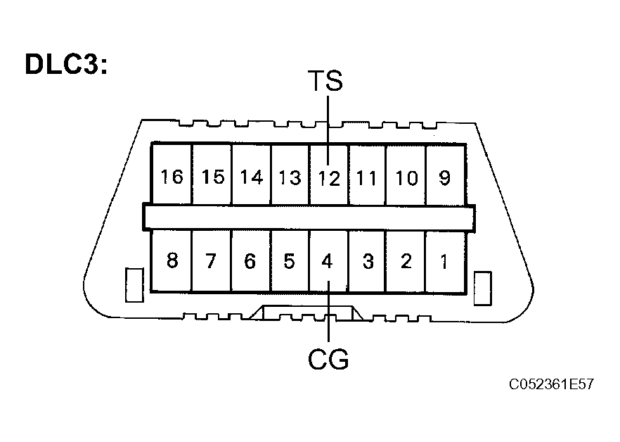
    2. Using SST, connect and disconnect terminals TS and CG of the DLC3 4 times or more within 8 seconds.

      SST 09843-18040 

      Fig 6: Identifying Terminals TS And CG Of DLC3
      G04025082Courtesy of © TOYOTA, LICENSE AGREEMENT TMS1002
    3. Check that no codes other than ABS code 42, VSC code 45 and ECB code 48, 66, or 95 are stored in the diagnostic system.
      Fig 7: Identifying Blinking Pattern Of ABS Code
      G04025083Courtesy of © TOYOTA, LICENSE AGREEMENT TMS1002

      HINT:

      The ABS warning light and multi information display do not indicate the normal system code.

    4. Remove the SST from the terminals of the DLC3.
    5. Using a check wire, perform zero point calibration of the yaw rate and acceleration sensor.
  5. PERFORM ZERO POINT CALIBRATION OF YAW RATE AND ACCELERATION SENSOR (WHEN USING SST CHECK WIRE:) 
    NOTE:
    • While obtaining the zero point, do not vibrate the vehicle by tilting, moving or shaking. Keep it in a stationary condition and do not start the engine.
    • Choose a level surface with an inclination of less than 1 degree.
    1. Procedures for Test Mode.
      1. Turn the engine switch off.
      2. Using SST, connect terminals TS and CG of the DLC3.

        SST 09843-18040 

        Fig 8: Identifying Terminals TS And CG Of DLC3
        G04025084Courtesy of © TOYOTA, LICENSE AGREEMENT TMS1002
      3. Check that the steering wheel is in the straight ahead position and move the shift lever to the P position.
        NOTE: DTC C1210/36 and C1336/39 will be recorded if the shift lever is not in the P position.
    2. Obtain the zero point of the yaw rate and acceleration sensor.
      1. Turn the engine switch on (IG).
      2. Keep the vehicle in a stationary condition on a level surface for 2 seconds or more.
      3. Check that the ABS and brake control warning lights blink and "VSC TEST MODE" is indicated on the multi information display (Test Mode).

        HINT:

        • If the ABS and brake control warning lights do not blink and "VSC TEST MODE" is not indicated on the multi information display, perform zero point calibration again.
        • The zero point calibration is performed only once after the system enters the Test Mode.
        • Calibration cannot be performed again until the stored data is cleared.
          Fig 9: Identifying Test Mode Blinking Pattern
          G04029729Courtesy of © TOYOTA, LICENSE AGREEMENT TMS1002
    3. Turn the engine switch off and disconnect the SST from the DLC3.