lemon-mirror:
Home >> Lexus >> 2006 >> GS 430 >> Repair and Diagnosis >> Brakes >> Brakes Control Systems >> Brake Control >> Vehicle Stability Control System >> Calibration

Vehicle Stability Control System: Calibration

  1. DESCRIPTION 
    • After replacing the VSC relevant components or performing "Front wheel alignment adjustment", clear and read the sensor calibration data.
    • Follow the chart to perform calibration.
      CALIBRATION PERFORMING CHART

      Replacing Parts / Operation Necessary Operation
      Skid Control ECU Yaw rate and acceleration sensor zero point calibration.
      Yaw Rate and Acceleration Sensor
      1. Clearing zero point calibration data.
      2. Yaw rate and acceleration sensor zero point calibration.
      Front Wheel Alignment Adjustment
      1. Clearing zero point calibration data.
      2. Yaw rate and acceleration sensor zero point calibration.
  2. CLEAR ZERO POINT CALIBRATION (WHEN USING INTELLIGENT TESTER:) 
    1. Connect the intelligent tester to the DLC3.
    2. Turn the engine switch on (IG).
      Fig 1: Identifying Intelligent Tester To DLC3
      G04025087Courtesy of © TOYOTA, LICENSE AGREEMENT TMS1002
    3. Operate the intelligent tester to erase the codes (select "RESET MEMORY").

      HINT:

      Refer to the intelligent tester operator's manual for further details.

    4. Using the intelligent tester, perform zero point calibration of the yaw rate and acceleration sensor.
      Fig 2: RESET MEMORY - Intelligent Tester Display
      G04024943Courtesy of © TOYOTA, LICENSE AGREEMENT TMS1002
  3. PREFORM ZERO POINT CALIBRATION OF YAW RATE AND ACCELERATION SENSOR (WHEN USING INTELLIGENT TESTER:) 
    NOTE:
    • While obtaining the zero point, do not vibrate the vehicle by tilting, moving or shaking it and keep it stationary. (Do not start the engine.)
    • Be sure to do this on a level surface (with an inclination of less than 1 degree).
    1. Procedures for test mode.
      1. Check that the steering wheel is centered and move the shift lever to the P position.
        NOTE: DTC C1210/36 and C1336/39 will be recorded if the shift lever is not in the P position (See DTC C1201/51 ENGINE CONTROL SYSTEM MALFUNCTION  ).
      2. Connect the intelligent tester to the DLC3.
      3. Turn the engine switch on (IG).
        Fig 3: Identifying Intelligent Tester To DLC3
        G04025087Courtesy of © TOYOTA, LICENSE AGREEMENT TMS1002
      4. Set the intelligent tester to test mode (select "TEST MODE").

        HINT:

        Refer to the intelligent tester operator's manual for further details.

        Fig 4: TEST MODE - Intelligent Tester Display
        G04024945Courtesy of © TOYOTA, LICENSE AGREEMENT TMS1002
    2. Obtain the zero point of the yaw rate and acceleration sensor.
      1. Keep the vehicle stationary on a level surface for 2 seconds or more.
      2. Check that the VSC warning light blinks and "VSC TEST MODE" is displayed on the multi information display (test mode).

        HINT:

        • If the VSC warning light does not blink and/or "VSC TEST MODE" is not displayed on the multi information display, perform zero point calibration again.
        • The zero point calibration is performed only once after the system enters the test mode.
        • Calibration cannot be performed again until the stored data is cleared once.
          Fig 5: Identifying Test Mode Blinking Pattern
          G04024950Courtesy of © TOYOTA, LICENSE AGREEMENT TMS1002
    3. Turn the engine switch off and disconnect the intelligent tester.
  4. CLEAR ZERO POINT CALIBRATION (WHEN USING SST CHECK WIRE:) 
    1. Turn the engine switch on (IG).
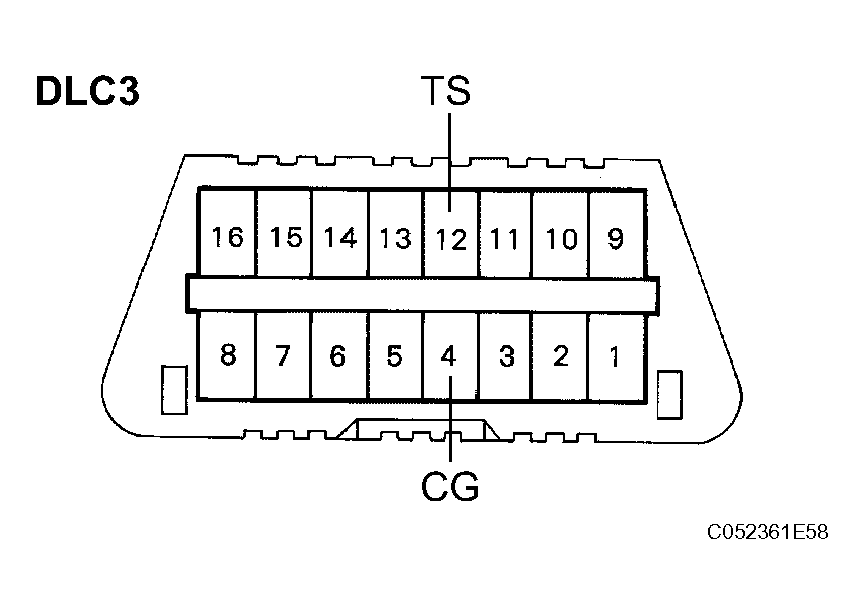
    2. Using SST, connect and disconnect terminals TS and CG of the DLC3 4 times or more within 8 seconds.

      SST 09843-18040 

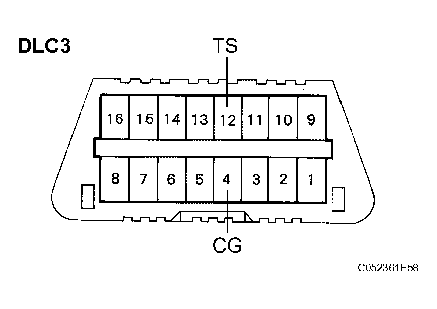
      Fig 6: Identifying DLC3 Connector
      G04024947Courtesy of © TOYOTA, LICENSE AGREEMENT TMS1002
    3. Check that the multi information display indicates the normal system code.
      Fig 7: Identifying Multi Information Display Indicates Normal System Code
      G04024948Courtesy of © TOYOTA, LICENSE AGREEMENT TMS1002
    4. Remove the SST from the terminals of the DLC3.
    5. Using a check wire, perform zero point calibration of the yaw rate and acceleration sensor.
  5. PERFORM ZERO POINT CALIBRATION OF YAW RATE AND ACCELERATION SENSOR (WHEN USING SST CHECK WIRE:) 
    NOTE:
    • While obtaining the zero point, do not vibrate the vehicle by tilting, moving or shaking it and keep it stationary. (Do not start the engine.)
    • Be sure to do this on a level surface (with an inclination of less than 1 degree).
    1. Procedures for test mode.
      1. Turn the engine switch off.
      2. Using SST, connect terminals TS and CG of the DLC3.

        SST 09843-18040 

        Fig 8: Identifying DLC3 Connector
        G04024949Courtesy of © TOYOTA, LICENSE AGREEMENT TMS1002
      3. Check that the steering wheel is centered and move the shift lever to the P position.
        NOTE: DTC C1210/36 and C1336/39 will be recorded if the shift lever is not in the P position (See DTC C1201/51 ENGINE CONTROL SYSTEM MALFUNCTION  ).
    2. Obtain the zero point of the yaw rate and acceleration sensor.
      1. Turn the engine switch on (IG).
      2. Keep the vehicle stationary on a level surface for 2 seconds or more.
      3. Check that the VSC warning light blinks and "VSC TEST MODE" is displayed on the multi information display (test mode).

        HINT:

        • If the VSC warning light does not blink and/or "VSC TEST MODE" is not displayed on the multi information display, perform zero point calibration again.
        • The zero point calibration is performed only once after the system enters the test mode.
        • Calibration cannot be performed again until the stored data is cleared once.
          Fig 9: Identifying Test Mode Blinking Pattern
          G04024950Courtesy of © TOYOTA, LICENSE AGREEMENT TMS1002
    3. Turn the engine switch off and disconnect the SST from the DLC3.