lemon-mirror:
Home >> Lexus >> 2006 >> GS 430 >> Repair and Diagnosis >> Brakes >> Brakes Control Systems >> Brake Control >> Vehicle Stability Control System >> DTC Check / Clear

DTC Check / Clear

  1. DTC CHECK/CLEAR (WHEN USING INTELLIGENT TESTER:) 
    1. DTC check
      1. Connect the intelligent tester to the DLC3.
        Fig 1: Identifying Intelligent Tester To DLC3
        G04025087Courtesy of © TOYOTA, LICENSE AGREEMENT TMS1002
      2. Turn the engine switch on (IG).
      3. Read the DTCs following the prompts on the tester screen.
    2. DTC clear
      1. Connect the intelligent tester to the DLC3.
      2. Turn the engine switch on (IG).
      3. Operate the intelligent tester to clear the codes.

        HINT:

        Refer to the intelligent tester operator's manual for further details.

  2. DTC CHECK/CLEAR (WHEN USING SST CHECK WIRE:) 
    1. DTC check
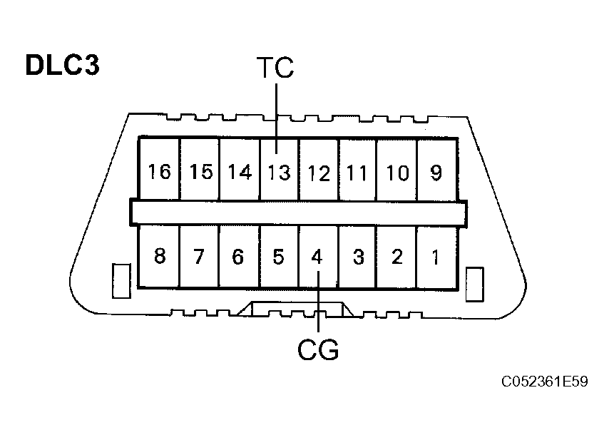
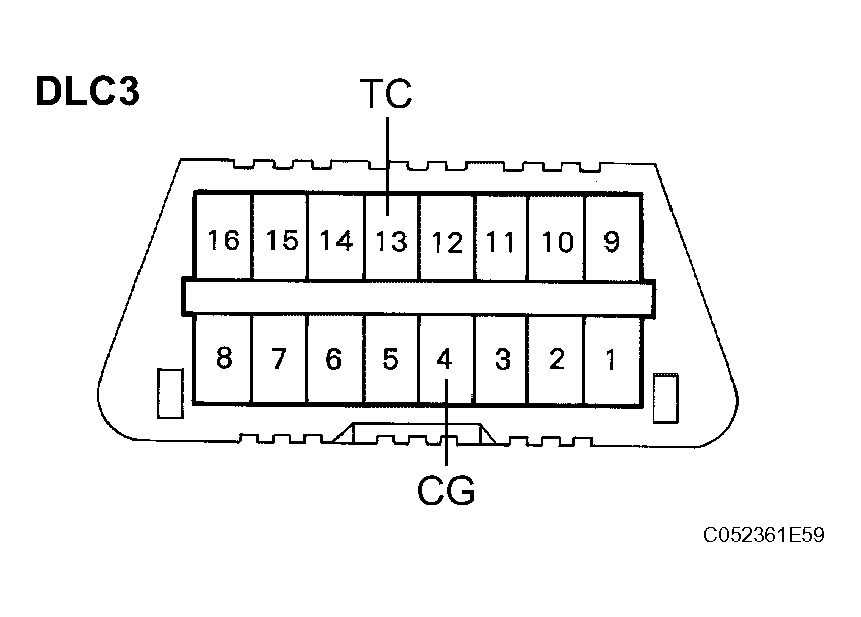
      1. Using SST, connect terminals TC and CG of the DLC3.

        SST 09843-18040 

        Fig 2: Identifying DLC3 Connector
        G04024972Courtesy of © TOYOTA, LICENSE AGREEMENT TMS1002
      2. Turn the engine switch on (IG).
      3. Observe the blinking pattern of the ABS warning light and read the multi information display in order to identify the DTC.

        HINT:

      4. As an example, the illustration below shows the blinking patterns of the normal system code and trouble codes 11 and 21 for ABS, and display of the normal system code and trouble code 43 for the VSC on the multi information display.
        Fig 3: Identifying Normal Style Code Of ABS Blinking Pattern
        G04024973Courtesy of © TOYOTA, LICENSE AGREEMENT TMS1002
      5. The codes are explained in the code ABS, EBD AND BA SYSTEM MALFUNCTION AREA  .
      6. After completing the check, disconnect terminals TC and CG of the DLC3, and turn off the display. If 2 or more DTCs are detected at the same time, the DTCs will be displayed in ascending order.
    2. DTC clear
      1. Using SST, connect terminals TC and CG of the DLC3.

        SST 09843-18040 

        Fig 4: Identifying DLC3 Connector
        G04024974Courtesy of © TOYOTA, LICENSE AGREEMENT TMS1002
      2. Turn the engine switch on (IG).
      3. Clear the DTCs stored in the ECU by depressing the brake pedal 8 times or more within 5 seconds.
      4. Check that the multi information display indicates the normal system code.
      5. Remove the SST from the terminals of the DLC3.

        HINT:

        Clearing the DTCs cannot be performed by removing the battery cable or the ECU-IG fuse.

        Fig 5: Depressing Brake Pedal
        G04029752Courtesy of © TOYOTA, LICENSE AGREEMENT TMS1002
  3. END OF DTC CHECK/CLEAR 
    1. Turn the engine switch on (IG).
    2. Check that the ABS warning light goes off within approximately 3 seconds.