lemon-mirror:
Home >> Lexus >> 2006 >> GS 430 >> Repair and Diagnosis >> Brakes >> Brakes Control Systems >> Brake Control >> Vehicle Stability Control System >> System Diagram

System Diagram

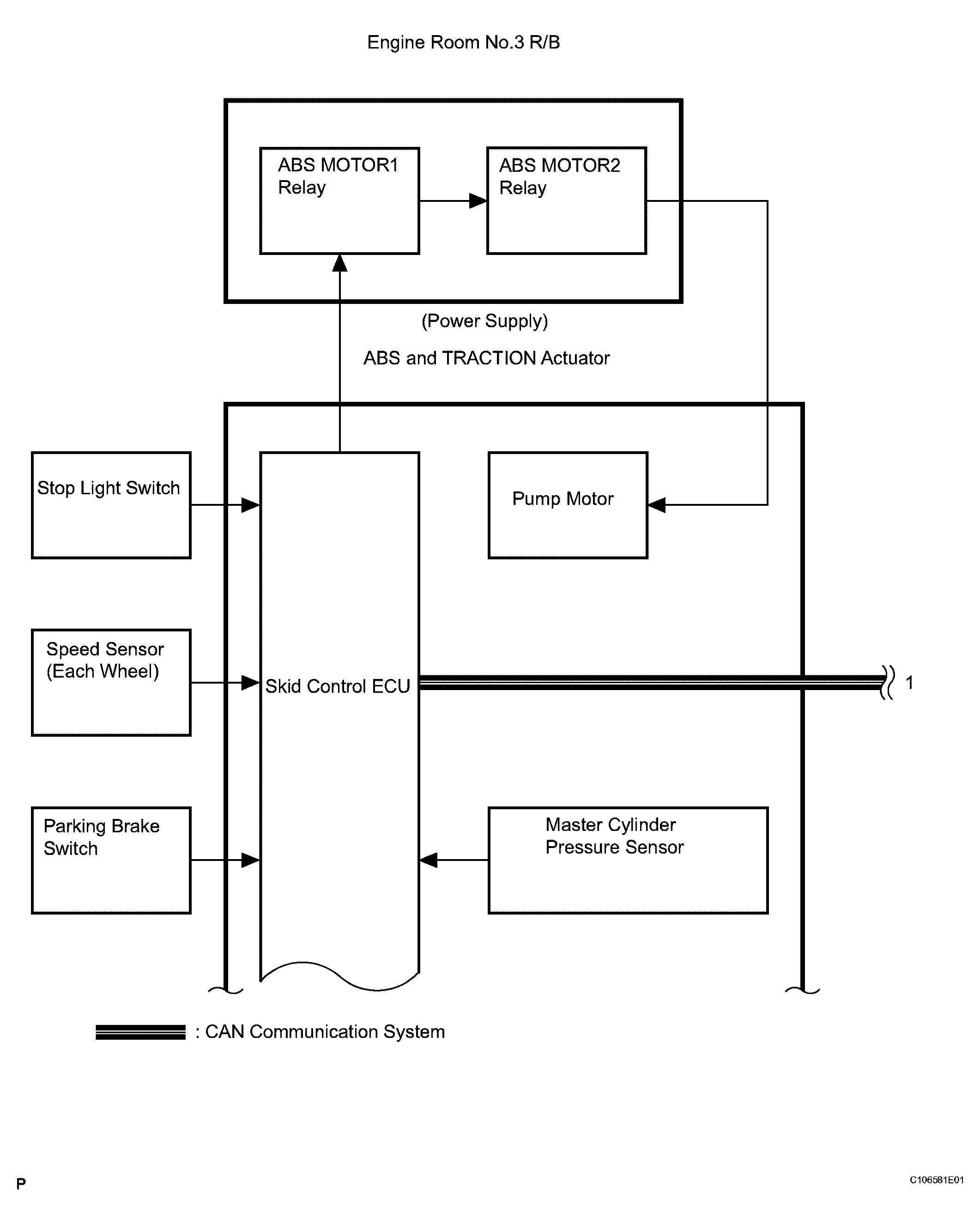
Fig 1: Vehicle Stability Control System - System Diagram (1 Of 4)
G04024930Courtesy of © TOYOTA, LICENSE AGREEMENT TMS1002
Fig 2: Vehicle Stability Control System - System Diagram (2 Of 4)
G04024931Courtesy of © TOYOTA, LICENSE AGREEMENT TMS1002
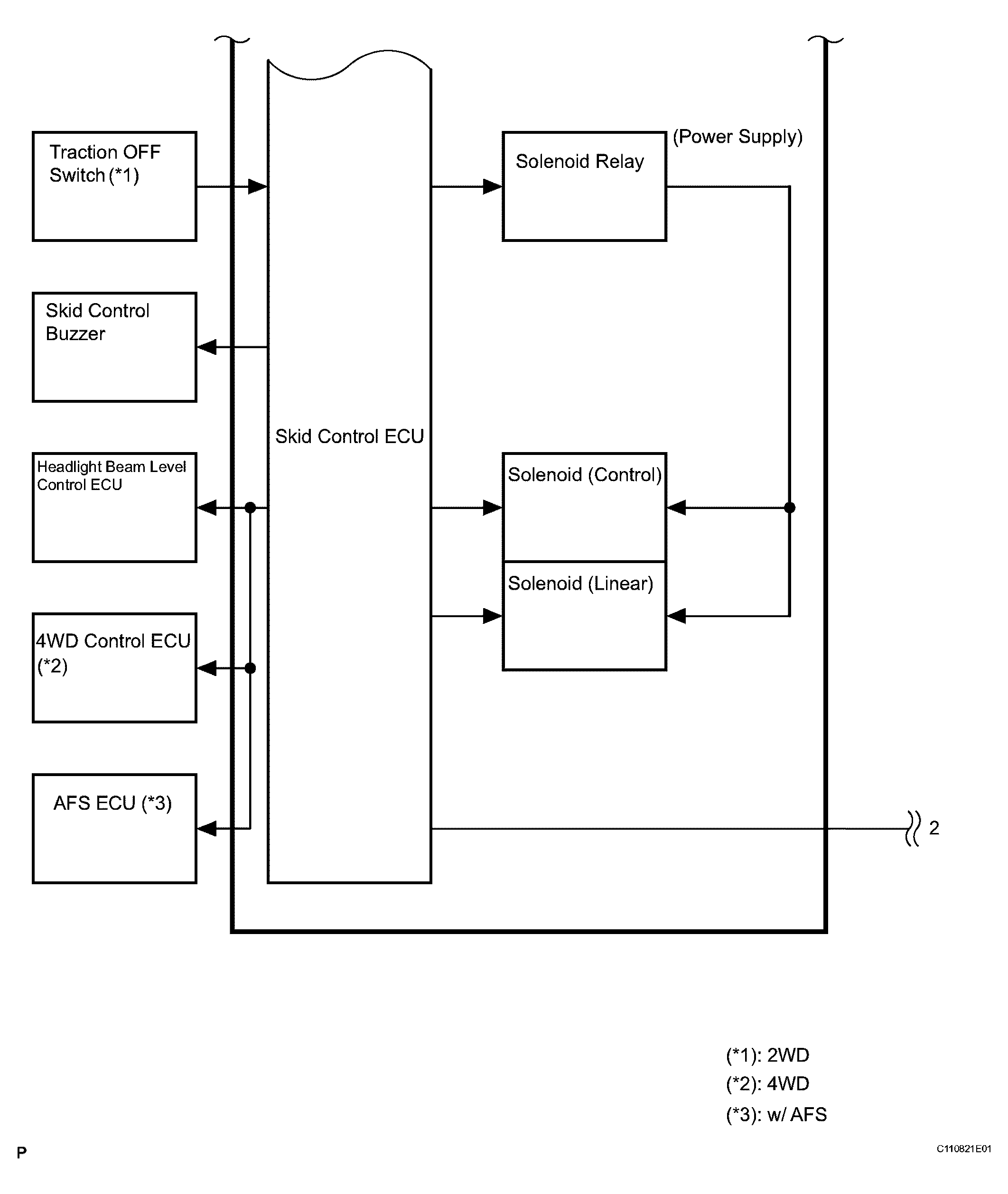
Fig 3: Vehicle Stability Control System - System Diagram (3 Of 4)
G04024932Courtesy of © TOYOTA, LICENSE AGREEMENT TMS1002
Fig 4: Vehicle Stability Control System - System Diagram (4 Of 4)
G04024933Courtesy of © TOYOTA, LICENSE AGREEMENT TMS1002
ECU SIGNALS

Transmission ECU (transmitter) Receiving ECU Signals Communication method
ECM Skid control ECU
  • Shift Position Signal
  • Throttle Position Signal
  • Engine Revolution Signal
  • Intake Air Temperature Sensor Signal
CAN Communication System
Skid Control ECU ECM
  • Wheel Speed Signal
  • VSC Data Signal
CAN Communication System
Skid Control ECU Gateway ECU
  • ABS Warning Light ON Signal
  • VSC warning Light ON Signal
  • BRAKE Warning Light ON Signal
  • SLIP Indicator Light ON Signal
CAN Communication System