lemon-mirror:
Home >> Lexus >> 2006 >> GS 430 >> Repair and Diagnosis >> Brakes >> Brakes Control Systems >> Brake Control >> Vehicle Stability Control System >> Test Mode Procedure

Test Mode Procedure

  1. WARNING LIGHT AND INDICATOR LIGHT CHECK 
    1. Release the parking brake.
      NOTE: Before releasing the parking brake, move the shift lever to the P position for safety.

      HINT:

      When the parking brake is applied or the level of the brake fluid is low, the BRAKE warning light comes on.

    2. When the engine switch is turned on (IG), check that the ABS, BRAKE, VSC warning lights, and SLIP indicator light come on for approximately 3 seconds.

      HINT:

      If the ECU stores any DTCs, the ABS, BRAKE, VSC warning lights, and SLIP indicator light come on. If the indicator remains on or does not come on, proceed to troubleshooting for the light circuit below.

      TROUBLE AREA INDEX REFERENCE

      Trouble Area See procedure
      ABS warning light circuit ABS WARNING LIGHT REMAINS ON  or ABS WARNING LIGHT COMES ON 
      VSC warning light circuit VSC WARNING LIGHT REMAINS ON  or VSC WARNING LIGHT DOES NOT COMES ON 
      SLIP indicator light circuit SLIP INDICATOR LIGHT REMAINS ON  or SLIP INDICATOR LIGHT DOES NOT COME ON 
      BRAKE warning light BRAKE WARNING LIGHT REMAINS ON  or BRAKE WARNING LIGHT DOES NOT COME ON 
      Fig 1: Identifying Warning Light And Indicator Light
      G04024951Courtesy of © TOYOTA, LICENSE AGREEMENT TMS1002
  2. SENSOR SIGNAL CHECK BY TEST MODE (SIGNAL CHECK) (WHEN USING INTELLIGENT TESTER:) 
    1. When having replaced the ABS and TRACTION actuator assembly and/or yaw rate and acceleration sensor, perform zero point calibration of the yaw rate and acceleration sensor.

      HINT:

      • If the engine switch is turned from on (IG) to on (ACC) or off during test mode (signal check), DTCs of the signal check function will be erased.
      • During test mode (signal check), the skid control ECU records all DTCs of the signal check function. By performing the test mode (signal check), the codes are erased if normality is confirmed. The remaining codes are the codes where an abnormality was found.
    2. Procedure for test mode.
      1. Turn the engine switch off.
      2. Connect the intelligent tester to the DLC3.
        Fig 2: Identifying Intelligent Tester To DLC3
        G04025087Courtesy of © TOYOTA, LICENSE AGREEMENT TMS1002
      3. Check that the steering wheel is centered and move the shift lever to the P position.
      4. Turn the engine switch on (IG).
      5. Set the intelligent tester to test mode (select "SIGNAL CHECK").

        HINT:

        Refer to the intelligent tester operator's manual for further details.

        Fig 3: SIGNAL CHECK - Intelligent Tester Display
        G04024953Courtesy of © TOYOTA, LICENSE AGREEMENT TMS1002
      6. Check that the ABS and VSC warning lights blink and "VSC TEST MODE" is displayed on the multi information display (test mode).

        HINT:

        If the ABS and VSC warning light does not blink, inspect the TS and CG terminal circuit, and ABS and VSC warning light circuits.

        Fig 4: Identifying Test Mode Blinking Pattern
        G04024950Courtesy of © TOYOTA, LICENSE AGREEMENT TMS1002
      7. Check the ABS sensor.

        HINT:

        Check that the ABS warning light is blinking in TEST MODE and perform the check.

        Fig 5: Identifying Test Mode Blinking Pattern
        G04029604Courtesy of © TOYOTA, LICENSE AGREEMENT TMS1002
  3. LOST BOOSTER PRESSURE JUDGMENT CHECK AND MASTER CYLINDER PRESSURE SENSOR ZERO POINT CALIBRATION (WHEN USING INTELLIGENT TESTER:) 
    NOTE: Preform the check in the lost booster pressure state (negative pressure in the booster is depressurized).
    1. Turn the engine switch on (IG).
    2. Check that the BRAKE warning light comes on when depressing the brake pedal with a force of 59 N (6 kgf, 13.2 lbf) or more for 1 second or more.

      (The lost booster pressure state is judged normal.)

    3. Start the engine depressing the brake pedal with a force of 59 N (6 kgf, 13.2 lbf) or more for 1 second or more.
    4. Check that the BRAKE warning light goes off when quickly releasing the brake pedal. (The lost booster pressure state is judged normal.)
    5. Leave the vehicle for 1 second or more. (Master cylinder pressure sensor zero point calibration)
      NOTE:
      • If you slowly depress the brake pedal or depress it again, master cylinder pressure sensor zero point calibration is not performed normally.
      • If lost booster pressure judgment check is not completed normally, master cylinder pressure sensor check is not judged.
      • If recheck is performed after the engine has started, end the test mode, transit to the test mode again, and release negative pressure in the booster by pumping the brake pedal prior to the recheck.
  4. ACCELERATION SENSOR CHECK (WHEN USING INTELLIGENT TESTER:) 
    1. Keep the vehicle stationary on a level surface for 1 second or more.

      HINT:

      Acceleration sensor check can be performed with the following master cylinder pressure sensor check.

  5. MASTER CYLINDER PRESSURE SENSOR CHECK (WHEN USING INTELLIGENT TESTER:) 
    1. Leave the vehicle in a stationary condition and release the brake pedal for 1 second or more, and quickly depress and continuously the brake pedal with a force of 98 N (10 kgf, 22 lbf) or more for 1 second.
    2. Check that the ABS warning light stays on for 3 seconds.

      HINT:

      • Ensure that the ABS warning light comes on.
      • While the ABS warning light stays on, continue to depress the brake pedal with a force of 98 N (10 kgf, 22 lbf) or more.
      • The ABS warning light comes on for 3 seconds every time brake pedal operation above is performed.
  6. SPEED SENSOR CHECK (WHEN USING INTELLIGENT TESTER:) 
    1. Check the reverse signal.
      1. Drive the vehicle in reverse for more than 1 second at 2 mph (3 km/h) or more.

        HINT:

        Drive the vehicle in reverse and check the speed sensor signal. Note that the signal check cannot be completed if the vehicle speed is 28 mph (45 km/h) or more.

    2. Check the forward signal.
      1. Drive the vehicle straight ahead.

        Accelerate the vehicle to a speed of 28 mph (45 km/h) or more for several seconds and check that the ABS warning light goes off.

        HINT:

        The signal check may not be completed if the vehicle has its wheels spun.

    3. Stop the vehicle.
      NOTE:
      • Before performing the speed sensor signal check, complete the acceleration sensor and master cylinder pressure sensor checks.
      • The speed sensor signal check may not be completed if the speed sensor signal check is started while turning the steering wheel or spinning the wheels.
      • After the ABS warning light goes off and if the vehicle speed exceeds 50 mph (80 km/h), a signal check code will be stored again. Accelerate or stop the vehicle before the speed reaches 50 mph (80 km/h).
      • If the signal check has not been completed, the ABS warning light blinks while driving and the ABS system does not operate.

      HINT:

      When the signal check has been completed, the ABS warning light goes off while driving and blinks in the test mode pattern while stationary.

    4. Check the VSC sensor.

      Check that the VSC warning light blinks and "VSC TEST MODE" is displayed on the multi information display, and perform the check.

      Fig 6: Identifying Test Mode Blinking Pattern
      G04024956Courtesy of © TOYOTA, LICENSE AGREEMENT TMS1002
  7. YAW RATE SENSOR CHECK (WHEN USING INTELLIGENT TESTER:) 
    1. Check the zero point voltage of the yaw rate sensor.
      1. Keep the vehicle in a stationary condition on a level surface for 1 second or more.
    2. Check the output of the yaw rate sensor and the direction of the steering angle sensor.
      1. Move the shift lever from P to the D position and drive the vehicle at a speed of approximately 3 mph (5 km/h), and turn the steering wheel either to the left or right 90° or more until the vehicle makes a 180° turn.
      2. Stop the vehicle and shift the move lever to the P position. Check that the skid control buzzer sounds for 3 seconds.
        Fig 7: Identifying Start And End Position For Yaw Rate Sensor Check
        G04024957Courtesy of © TOYOTA, LICENSE AGREEMENT TMS1002

        HINT:

        • If the skid control buzzer sounds, the signal check is completed normally.
        • If the skid control buzzer does not sound, check the skid control buzzer circuit, then perform the signal check again.
        • If the skid control buzzer still does not sound, there is a malfunction in the yaw rate sensor, so check the DTC.
        • Make a 180° turn. At the end of the turn, the direction of the vehicle should be within 180° + - 5° of its start position.
        • Do not spin the wheels.
        • Do not turn the engine switch off while turning.
        • Do not move the shift lever to the P position while turning, but change in the vehicle speed, stopping, or driving in reverse is possible.
        • Complete the turn within 20 seconds.
  8. END OF SENSOR CHECK (WHEN USING INTELLIGENT TESTER:) 
    1. If the sensor check is completed, the ABS warning light blinks (test mode) when the vehicle stops and the ABS warning light is off while the vehicle is driving.
      NOTE:
      • When the yaw rate sensor, acceleration sensor, speed sensor and master cylinder pressure sensor checks are completed, the sensor check is completed.
      • If the sensor check is not completed, the ABS warning light blinks even while the vehicle is driving and the ABS does not operate.
      Fig 8: Identifying Test Mode Blinking Pattern
      G04029604Courtesy of © TOYOTA, LICENSE AGREEMENT TMS1002
  9. READ DTC OF SIGNAL CHECK FUNCTION (WHEN USING INTELLIGENT TESTER:) 
    1. Read the DTC(s) by following the tester screen.
      NOTE:
      • If only the DTCs are displayed, repair the malfunction area and clear the DTCs.
      • If the DTCs or test mode codes (DTC of signal check function) are displayed, repair the malfunction area, clear the DTCs and perform the test mode inspection.

      HINT:

      See the list of DTC.

  10. SENSOR SIGNAL CHECK BY TEST MODE (SIGNAL CHECK) (WHEN USING SST CHECK WIRE:) 
    1. When having replaced the ABS and TRACTION actuator assembly and/or yaw rate and acceleration sensor, perform zero point calibration of the yaw rate and acceleration sensor.

      HINT:

      • If the engine switch is turned from on (IG) to on (ACC) or off during test mode (signal check), DTCs of the signal check function will be erased.
      • During test mode (signal check), the skid control ECU records all DTCs of the signal check function. By performing the test mode (signal check), the codes are erased if normality is confirmed. The remaining codes are the codes where an abnormality was found.
    2. Procedure for test mode.
      1. Turn the engine switch off.
      2. Check that the steering wheel is centered and move the shift lever to the P position.
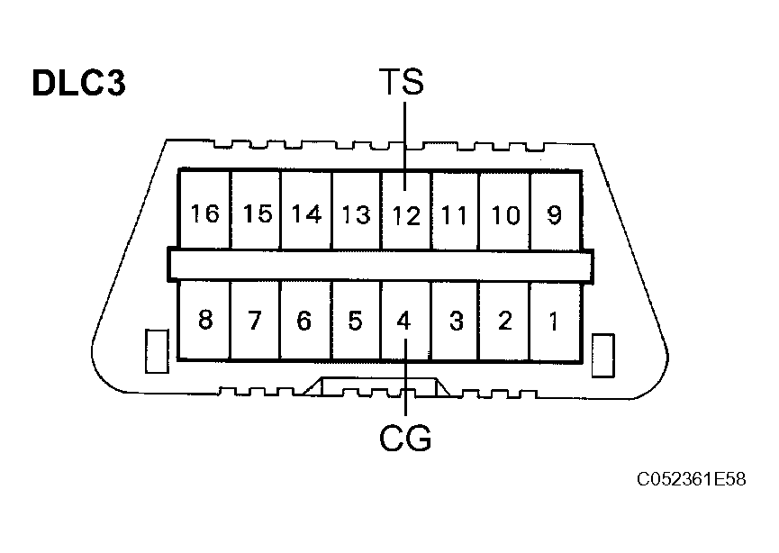
      3. Using SST, connect terminals TS and CG of the DLC3.

        SST 09843-18040 

        Fig 9: Identifying DLC3 Connector
        G04024959Courtesy of © TOYOTA, LICENSE AGREEMENT TMS1002
      4. Turn the engine switch on (IG).
      5. Check that the ABS and VSC warning lights blink and "VSC TEST MODE" is displayed on the multi information display (test mode).

        HINT:

        If the ABS and VSC warning lights, inspect the TC and CG terminal circuit, and ABS, and VSC warning light circuit.

        Fig 10: Identifying Test Mode Blinking Pattern
        G04024950Courtesy of © TOYOTA, LICENSE AGREEMENT TMS1002
      6. Check the ABS sensor.

        HINT:

        Check that the ABS warning light is blinking in TEST MODE and perform the check.

        Fig 11: Identifying Test Mode Blinking Pattern
        G04029604Courtesy of © TOYOTA, LICENSE AGREEMENT TMS1002
  11. LOST BOOSTER PRESSURE JUDGMENT CHECK AND MASTER CYLINDER PRESSURE SENSOR ZERO POINT CALIBRATION (WHEN USING SST CHECK WIRE:) 
    NOTE: Perform the check in the lost booster pressure state (negative pressure in the booster is depressurized).
    1. Turn the engine switch on (IG).
    2. Check that the BRAKE warning light comes on when depressing the brake pedal with a force of 59 N (6 kgf, 13.2 lbf) or more for 1 second or more. (The lost booster pressure state is judged normal.)
    3. Start the engine depressing the brake pedal with a force of 59 N (6 kgf, 13.2 lbf) or more for 1 second or more.
    4. Check that the BRAKE warning light goes off when quickly releasing the brake pedal. (The lost booster pressure state is judged normal.)
    5. Leave the vehicle for 1 second or more. (Master cylinder pressure sensor zero point calibration)
      NOTE:
      • If you slowly depress the brake pedal or depress it again, master cylinder pressure sensor zero point calibration is not performed normally.
      • If lost booster pressure judgment check is not completed normally, master cylinder pressure sensor check is not judged.
      • If recheck is performed after the engine has started, end the test mode, transit to the test mode again, and release negative pressure in the booster by pumping the brake pedal prior to the recheck.
  12. ACCELERATION SENSOR CHECK (WHEN USING SST CHECK WIRE:) 
    1. Keep the vehicle stationary on a level surface for 1 second or more.

      HINT:

      Acceleration sensor check can be performed with the following master cylinder pressure sensor check.

  13. MASTER CYLINDER PRESSURE SENSOR CHECK (WHEN USING SST CHECK WIRE:) 
    1. Leave the vehicle in a stationary condition and release the brake pedal for 1 second or more, and quickly depress and continuously the brake pedal with a force of 98 N (10 kgf, 22 lbf) or more for 1 second.
    2. Check ABS warning light stays on for 3 seconds.

      HINT:

      • Ensure that the ABS warning light comes on.
      • While the ABS warning light stays on, continue to depress the brake pedal with a force of 98 N (10 kgf, 22 lbf) or more.
      • The ABS warning light comes on for 3 seconds every time the brake pedal operation above is performed.
  14. SPEED SENSOR CHECK (WHEN USING SST CHECK WIRE:) 
    1. Check the reverse signal.
      1. Drive the vehicle in reverse for more than 1 second at 2 mph (3 km/h) or more.

        HINT:

        Drive the vehicle in reverse and check the speed sensor signal. Note that the signal check cannot be completed if the vehicle speed is 28 mph (45 km/h) or more.

    2. Check the forward signal.
      1. Drive the vehicle straight ahead.

        Accelerate the vehicle to a speed of 28 mph (45 km/h) or more for several seconds and check that the ABS warning light goes off.

        HINT:

        The signal check may not be completed if the vehicle has its wheels spun.

    3. Stop the vehicle.
      NOTE:
      • Before performing the speed sensor signal check, complete the acceleration sensor and master cylinder pressure sensor checks.
      • The speed sensor signal check may not be completed if the speed sensor signal check is started while turning the steering wheel or spinning the wheels.
      • After the ABS warning light goes off, if vehicle speed exceeds 50 mph (80 km/h), a signal check code will be stored again. Accelerate or stop the vehicle before the speed reaches 50 mph (80 km/h).
      • If the signal check has not been completed, the ABS warning light blinks while driving and the ABS system does not operate.

      HINT:

      When the signal check has been completed, the ABS warning light goes off while driving and blinks in the test mode pattern while stationary.

    4. Check the VSC sensor.

      Check that the VSC warning light blinks and "VSC TEST MODE" is displayed on the multi information display, and perform the check.

  15. YAW RATE SENSOR CHECK (WHEN USING SST CHECK WIRE:) 
    1. Check the zero point voltage of the yaw rate sensor.
      1. Keep the vehicle stationary on a level surface for 1 second or more.
        Fig 12: Identifying Test Mode Blinking Pattern
        G04024950Courtesy of © TOYOTA, LICENSE AGREEMENT TMS1002
    2. Check the output of the yaw rate sensor and the direction of the steering angle sensor.
      1. Move the shift lever from P to the D position and drive the vehicle at a vehicle speed of approximately 3 mph (5 km/h) and turn the steering wheel either to the left or right 90° or more and until the vehicle makes a 180° turn.
      2. Stop the vehicle and move the shift lever to the P position. Check that the skid control buzzer sounds for 3 seconds.
        Fig 13: Identifying Start And End Position For Yaw Rate Sensor Check
        G04024963Courtesy of © TOYOTA, LICENSE AGREEMENT TMS1002

        HINT:

        • If the skid control buzzer sounds, the signal check is completed normally.
        • If the skid control buzzer does not sound, check the skid control buzzer circuit, then perform the signal check again.
        • If the skid control buzzer still does not sound, there is a malfunction in the yaw rate sensor, so check the DTC.
        • Make a 180° turn. At the end of the turn, the direction of the vehicle should be within 180° + - 5° of its start position.
        • Do not spin the wheels.
        • Do not turn the engine switch off while turning.
        • Do not move the shift lever to the P position while turning, but change in the vehicle speed, stopping, or driving in reverse is possible.
        • Complete the turn within 20 seconds.
  16. END OF SENSOR CHECK (WHEN USING SST CHECK WIRE:) 
    1. If the sensor check is completed, the ABS warning light blinks (test mode) when the vehicle stops and the ABS warning light is off while the vehicle is driving.
      Fig 14: Identifying Test Mode Blinking Pattern
      G04029604Courtesy of © TOYOTA, LICENSE AGREEMENT TMS1002
      NOTE:
      • When the yaw rate sensor, acceleration sensor, speed sensor and master cylinder pressure sensor checks are completed, the sensor check is completed.
      • If the sensor check is not completed, the ABS warning light blinks even while the vehicle is driving and the ABS does not operate.
  17. READ DTC OF SIGNAL CHECK FUNCTION (WHEN USING SST CHECK WIRE:) 
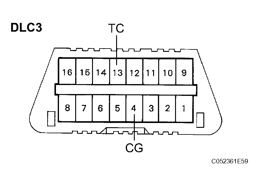
    1. Using SST, connect terminals TC and CG of the DLC3.

      SST 09843-18040 

      Fig 15: Identifying DLC3 Connector
      G04024965Courtesy of © TOYOTA, LICENSE AGREEMENT TMS1002
    2. Count the number of blinks of the ABS warning light and read "DIAG VSC" on the multi information display.
      Fig 16: Identifying Normal Style Code Blinking Pattern
      G04024966Courtesy of © TOYOTA, LICENSE AGREEMENT TMS1002
      NOTE:
      • If only the DTCs are displayed, repair the malfunction area and clear the DTCs.
      • If the DTCs or test mode codes (DTC of signal check function) are displayed, repair the malfunction area, clear the DTCs and perform the test mode inspection.

      HINT:

      • If more than 1 malfunction is detected at the same time, the lowest numbered code will be displayed first.
      • See the list of DTC.
    3. After performing the check, disconnect the SST from terminals TS and CG, TC and CG of the DLC3 and turn the engine switch off.
    4. Turn the engine switch on (IG).

      HINT:

      If the engine switch is not turned on (IG) after the SST is removed from the DLC3, the previous test mode will continue.

  18. DTC OF TEST MODE (SIGNAL CHECK) FUNCTION 

    ABS sensor: 

    ABS SENSOR TROUBLE AREA

    Code No. Diagnosis Trouble Area
    C1271/71 Low output signal of front speed sensor RH
    • Right front speed sensor
    • Sensor installation
    • Sensor rotor
    C1272/72 Low output signal of front speed sensor LH
    • Left front speed sensor
    • Sensor installation
    • Sensor rotor
    C1273/73 Low output signal of rear speed sensor RH
    • Right rear speed sensor
    • Sensor installation
    • Sensor rotor
    C1274/74 Low output signal of rear speed sensor LH
    • Left rear speed sensor
    • Sensor installation
    • Sensor rotor
    C1275/75 Abnormal change in output signal of front speed sensor RH Right front sensor rotor
    C1276/76 Abnormal change in output signal of front speed sensor LH Left front speed sensor rotor
    C1277/77 Abnormal change in output signal of rear speed sensor RH Right rear sensor rotor
    C1278/78 Abnormal change in output signal of rear speed sensor LH Left rear speed sensor rotor
    C1279/79 Deceleration sensor output voltage malfunction
    • Yaw rate and acceleration sensor
    • Sensor installation
    C1281/81 Master cylinder pressure sensor output malfunction Master cylinder pressure sensor

    VSC sensor: 

    VSC SENSOR TROUBLE AREA

    Code No. Diagnosis (Display) Trouble Area
    C0371/71 Yaw rate sensor Yaw rate and acceleration sensor

    HINT:

    The codes in this table are output only in test mode (signal check).