lemon-mirror:
Home >> Lexus >> 2006 >> GS 430 >> Repair and Diagnosis >> Transmission >> Automatic Trans >> Automatic Transmission >> Automatic Transmission Unit >> Inspection

Automatic Transmission Unit: Inspection

  1. INSPECT 1ST AND REVERSE BRAKE RETURN SPRING SUB-ASSEMBLY 
    1. Using vernier calipers, measure the free length of the spring together with the spring seat.

      Standard free length: 

      23.74 mm (0.935 in.) 

      If the free length is shorter than the standard free length, replace the brake piston return spring subassembly.

      Fig 1: Measuring Free Length Of Spring
      G04028592Courtesy of © TOYOTA, LICENSE AGREEMENT TMS1002
  2. INSPECT REAR PLANETARY GEAR ASSEMBLY 
    1. Using a feeler gauge, measure the rear planetary gear pinion thrust clearance.

      Standard clearance: 

      0.2 to 0.6 mm (0.008 to 0.024 in.) 

      If the clearance is greater than the standard clearance, replace the planetary gear assembly.

      Fig 2: Measuring Rear Planetary Gear Pinion Thrust Clearance
      G04028593Courtesy of © TOYOTA, LICENSE AGREEMENT TMS1002
    2. Using a dial indicator, measure the inside diameter of the rear planetary gear bushing.

      Standard inside diameter: 

      20.025 mm (0.7884 in.) 

      If the inside diameter is greater than the standard inside diameter, replace the rear planetary gear assembly.

      Fig 3: Measuring Inside Diameter Of Rear Planetary Gear Bushing
      G04028594Courtesy of © TOYOTA, LICENSE AGREEMENT TMS1002
  3. INSPECT PACK CLEARANCE OF 1ST AND REVERSE BRAKE PISTON 
    1. Make sure that the 1st and reverse brake piston moves smoothly when pulling and releasing the compressed air gun lever while applying compressed air into the transmission case.
      Fig 4: Inspecting Pack Clearance Of 1St And Reverse Brake Piston
      G04028595Courtesy of © TOYOTA, LICENSE AGREEMENT TMS1002
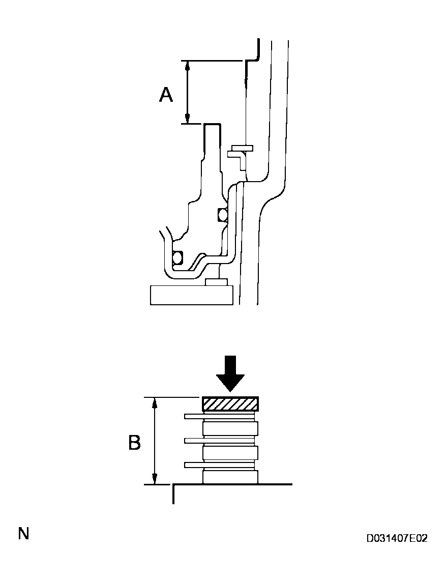
    2. Using vernier calipers, measure the level difference (length A) between the upper surface of the brake apply tube and the hitting surface of the brake flange No.4 at both ends across the 1st and reverse brake piston diameter, and calculate the average.
      NOTE: The 1st and reverse brake piston must be securely installed to the end face of the transmission case.

      HINT:

      Length A = 22.05 to 22.91 mm (0.8681 to 0.9020 in.)

      Fig 5: Identifying Level Difference Between Upper Surface Of Brake Apply Tube And Hitting Surface Of Brake Flange No 4
      G04028596Courtesy of © TOYOTA, LICENSE AGREEMENT TMS1002
    3. Using vernier calipers, measure the thickness (length B) of the brake flanges, the 4 brake plates No.4 and the 4 brake discs No.4 altogether at the both ends across a diameter, and calculate the average.

      HINT:

      Length B = 23.11 to 23.89 mm (0.9098 to 0.9405 in.) Pack Clearance = Length A - Length B - 0.22 mm (0.0087 in.) + 1.8 mm (0.071 in.)

      Pack Clearance: 

      0.4 to 0.7 mm (0.016 to 0.028 in.) 

      Fig 6: Identifying Thickness Of Brake Flanges, Brake Plates No 4 And 4 Brake Discs No 4
      G04028597Courtesy of © TOYOTA, LICENSE AGREEMENT TMS1002
    4. If the pack clearance is outside the standard, select and install a brake flange that brings the pack clearance to be within the standard.

      HINT:

      There are 8 types of flanges that can be used to adjust the pack clearance. Select the one with the most appropriate thickness.

    Thickness H 

    FLANGE THICKNESS SPECIFICATIONS

    NO. Thickness H NO. Thickness H
    0 0 mm (0 in.) 8 0.8 mm (0.03150 in.)
    2 0.2 mm (0.00787 in.) 10 1.0 mm (0.03937 in.)
    4 0.4 mm (0.01575 in.) 12 1.2 mm (0.04724 in.)
    6 0.6 mm (0.02362 in.) 14 1.4 mm (0.05512 in.)
  4. INSPECT BRAKE DISC NO.4 
    1. Check whether the sliding surfaces of the discs, the plates, and the flange are worn or burnt. If necessary, replace them.
      NOTE:
      • If the linings of the discs are peeled off or discolored, or if any part of the printed numbers is damaged, replace all discs.
      • Before assembling new discs, soak them in ATF for at least 15 minutes.
      Fig 7: Inspecting Disc
      G04019470Courtesy of © TOYOTA, LICENSE AGREEMENT TMS1002
  5. INSPECT INTERMEDIATE SHAFT 
    1. Using a dial indicator, check the intermediate shaft runout.

      Standard runout: 

      0.03mm (0.0012 in.) 

      If the bend exceeds the specification, replace the intermediate shaft with a new one.

      Fig 8: Identifying Intermediate Shaft Runout
      G04028599Courtesy of © TOYOTA, LICENSE AGREEMENT TMS1002
    2. Using a micrometer, check the outer diameter of the intermediate shaft at each point shown in the diagram.

      Standard diameter: 

      A: 

      25.962 to 25.975 mm (1.022 to 1.023 in.) 

      B: 

      25.962 to 25.975 mm (1.022 to 1.023 in.) 

      C: 

      32.062 to 32.075 mm (1.262 to 1.263 in.) 

      D: 

      32.062 to 32.075 mm (1.262 to 1.263 in.) 

      If the outer diameter is outside the standard, replace the intermediate shaft with a new one.

      Fig 9: Identifying Outer Diameter Of Intermediate Shaft
      G04028600Courtesy of © TOYOTA, LICENSE AGREEMENT TMS1002
  6. INSPECT REAR PLANETARY RING GEAR FLANGE SUB-ASSEMBLY 
    1. Using a dial indicator, measure the inside diameter of the rear planetary ring gear bushing.

      Standard inside diameter: 

      32.19 mm (1.2673 in.) 

      If the inside diameter is greater than the standard inside diameter, replace the rear planetary ring gear.

      Fig 10: Measuring Inside Diameter Of Rear Planetary Ring Gear Bushing
      G04028601Courtesy of © TOYOTA, LICENSE AGREEMENT TMS1002
  7. INSPECT 1 WAY NO.3 CLUTCH ASSEMBLY 
    1. Hold the rear planetary ring gear flange sub assembly and turn the 1 way clutch assembly.
    2. Check the 1 way clutch assembly turns freely counterclockwise and locks clockwise.

      If there is a problem with the 1 way clutch, replace the 1 way clutch.

      Fig 11: Inspecting 1 Way No 3 Clutch Assembly
      G04028602Courtesy of © TOYOTA, LICENSE AGREEMENT TMS1002
  8. INSPECT CENTER PLANETARY GEAR ASSEMBLY 
    1. Using a feeler gauge, measure the center planetary gear pinion thrust clearance.

      Standard clearance: 

      0.12 to 0.68 mm (0.005 to 0.027 in.) 

      If the clearance is greater than the standard clearance, replace the center planetary gear assembly.

      Fig 12: Measuring Center Planetary Gear Pinion Thrust Clearance
      G04028603Courtesy of © TOYOTA, LICENSE AGREEMENT TMS1002
  9. INSPECT BRAKE DISC NO.2 
    1. Check whether the sliding surfaces of the discs, the plates, and the flange are worn or burnt.

      If necessary, replace them.

      NOTE:
      • If the linings of the discs are peeled off or discolored, or if any part of the printed numbers is damaged, replace all discs.
      • Before assembling new discs, soak them in ATF for at least 15 minutes.
        Fig 13: Inspecting Disc
        G04019470Courtesy of © TOYOTA, LICENSE AGREEMENT TMS1002
  10. INSPECT BRAKE PISTON RETURN SPRING SUBASSEMBLY NO.2 
    1. Using vernier calipers, measure the free length of the spring together with the spring seat.

      Standard free length: 

      22.66 mm (0.8921 in.) 

      If the free length is shorter than the standard free length, replace the brake piston return spring subassembly No.2.

      Fig 14: Measuring Free Length Of Spring
      G04028605Courtesy of © TOYOTA, LICENSE AGREEMENT TMS1002
  11. INSPECT PISTON STROKE OF BRAKE PISTON NO.2 
    1. Inspect the piston stroke of the brake piston No.2.
      1. Make sure that the brake piston No.2 moves smoothly when pulling and releasing the compressed air gun lever while applying compressed air into the transmission case.
        Fig 15: Inspecting Piston Stroke Of Brake Piston No 2
        G04028606Courtesy of © TOYOTA, LICENSE AGREEMENT TMS1002
      2. Using SST and a dial indicator, measure the moving distance (distance A) of the clutch disc at the both ends across a diameter while blowing air from the oil hole as shown in the illustration, and calculate the average.

        SST 09350-30020 (09350-06120) 

        Piston Stroke: 

        0.6 to 0.9 mm (0.024 to 0.035 in.) 

      3. If the piston stroke is outside the standard, select and install a brake flange that brings the piston stroke within the standard.

        HINT:

        There are 7 types of flanges that can be used to adjust the pack clearance. Select one with the most appropriate thickness.

        Fig 16: Measuring Moving Distance Of Clutch Disc
        G04028607Courtesy of © TOYOTA, LICENSE AGREEMENT TMS1002

      Flange thickness 

      FLANGE THICKNESS SPECIFICATIONS

      No. Thickness
      0 2.0 mm (0.079 in.)
      1 2.1 mm (0.083 in.)
      2 2.2 mm (0.087 in.)
      3 2.3 mm (0.091 in.)
      4 2.4 mm (0.094 in.)
      5 2.5 mm (0.098 in.)
      6 2.6 mm (0.102 in.)
      7 2.7 mm (0.106 in.)
  12. INSPECT BRAKE PISTON RETURN SPRING SUBASSEMBLY 
    1. Using vernier calipers, measure the free length of the spring together with the spring seat.

      Standard free length: 

      17.05 mm (0.671 in.) 

      If the free length is shorter than the standard free length, replace the brake piston return spring subassembly.

      Fig 17: Measuring Free Length Of Spring
      G04028608Courtesy of © TOYOTA, LICENSE AGREEMENT TMS1002
  13. INSPECT FRONT PLANETARY GEAR ASSEMBLY 
    1. Using a feeler gauge, measure the front planetary pinion gear thrust clearance.

      Standard clearance: 

      0.20 to 0.60 mm (0.008 to 0.024 in.) 

      If the clearance is greater than the standard clearance, replace the front planetary gear assembly.

      Fig 18: Measuring Front Planetary Pinion Gear Thrust Clearance
      G04028609Courtesy of © TOYOTA, LICENSE AGREEMENT TMS1002
    2. Using a dial indicator, measure the inside diameter of the front planetary gear bushing.

      Standard inside diameter: 

      57.43 mm (2.261 in.) 

      If the inside diameter is greater than the maximum inside diameter, replace the front planetary gear assembly.

      Fig 19: Measuring Inside Diameter Of Front Planetary Gear Bushing
      G04028610Courtesy of © TOYOTA, LICENSE AGREEMENT TMS1002
  14. INSPECT 1 WAY CLUTCH ASSEMBLY 
    1. Install the 1 way clutch assembly to 1 way clutch inner race.
    2. Hold the 1 way clutch inner race and turn the 1 way clutch assembly.
    3. Check that the 1 way clutch assembly turns freely counterclockwise and locks clockwise.

      If there is a problem with the 1 way clutch, replace the 1 way clutch.

    4. Remove the 1 way clutch assembly from the 1 way clutch inner race.
      Fig 20: Inspecting 1 Way Clutch Assembly
      G04028611Courtesy of © TOYOTA, LICENSE AGREEMENT TMS1002
  15. INSPECT PISTON STROKE OF BRAKE PISTON NO.1 
    1. Inspect the piston stroke of brake piston No.1.
      1. Make sure the brake piston No.1 moves smoothly when pulling and releasing the compressed air gun lever while applying compressed air into the transmission case.
        Fig 21: Inspecting Piston Stroke Of Brake Piston No 1
        G04028612Courtesy of © TOYOTA, LICENSE AGREEMENT TMS1002
      2. Using vernier calipers, measure the level difference (length A) between the upper surface of the brake piston No.1 and the hitting surface of the brake flange No.1 at both ends across the brake piston No.1 diameter.
      3. Using vernier calipers, measure the thickness (length B) of the brake flange, the 3 brake plates No.1 and the 3 brake discs No.1 altogether at the both ends across a diameter, and calculate the average.

        HINT:

        Length A = 15.29 to 15.77 mm (0.6020 to 0.6209 in.)

        Length B = 14.72 to 15.12 mm (0.5795 to 0.5953 in.)

        Piston stroke = Length A - Length B

        Piston stroke: 

        0.42 to 0.72 mm (0.017 to 0.028 in.) 

        If the piston stroke is outside the specification, parts may have been assembled incorrectly, so check and reassemble again.

        If the piston stroke is still outside the specification range, select another flange that brings the piston stroke within the specification.

        HINT:

        There are 4 different thickness for the flange that brings the piston stroke within the specification.

        Fig 22: Identifying Level Difference Between Upper Surface Of Brake Piston No 1 And Hitting Surface Of Brake Flange No 1
        G04028613Courtesy of © TOYOTA, LICENSE AGREEMENT TMS1002

      Flange thickness 

      FLANGE THICKNESS SPECIFICATIONS

      No. Thickness
      0 2.0 mm (0.079 in.)
      1 2.2 mm (0.087 in.)
      2 2.4 mm (0.094 in.)
      3 2.6 mm (0.102 in.)
  16. INSPECT BRAKE DISC NO.1 
    1. Check whether the sliding surfaces of the discs, the plates, or the flange are worn or burnt.

      If necessary, replace them.

      NOTE:
      • If the linings of the discs are peeled off or discolored, or if any part of the groove is damaged, replace all discs.
      • Before assembling new discs, soak them in ATF for at least 15 minutes.
      Fig 23: Inspecting Disc
      G04019470Courtesy of © TOYOTA, LICENSE AGREEMENT TMS1002
  17. INSPECT BRAKE PISTON RETURN SPRING SUBASSEMBLY NO.3 
    1. Using vernier calipers, measure the free length of the spring together with the spring seat.

      Standard free length: 

      15.72 mm (0.619 in.) 

      If the inside diameter is shorter than the standard free length, replace the brake piston return spring sub-assembly No.3.

      Fig 24: Measuring Free Length Of Spring
      G04028615Courtesy of © TOYOTA, LICENSE AGREEMENT TMS1002
  18. INSPECT 2ND BRAKE DISC SET 
    1. Check whether the sliding surfaces of the discs, the plates, or the flange are worn or burnt.

      If necessary, replace them.

      NOTE:
      • If the linings of the discs are peeled off or discolored, or if any part of the printed numbers is damaged, replace all discs.
      • Before assembling new discs, soak them in ATF for at least 15 minutes.
      Fig 25: Inspecting Disc
      G04019470Courtesy of © TOYOTA, LICENSE AGREEMENT TMS1002
  19. INSPECT 1 WAY NO.2 CLUTCH ASSEMBLY 
    1. Hold the reverse clutch hub and turn the 1 way No.2 clutch assembly.
    2. Check the 1 way No.2 clutch assembly turns freely clockwise and locks counterclockwise.

      If there is a problem with the 1 way clutch, replace the 1 way clutch.

      Fig 26: Inspecting 1 Way No 2 Clutch Assembly
      G04028617Courtesy of © TOYOTA, LICENSE AGREEMENT TMS1002
  20. INSPECT INDIVIDUAL PISTON OPERATION 
    1. Check the operating sound while applying compressed air into the oil holes indicated in the illustration.

      HINT:

      When inspecting the O/D direct clutch, check with the C3 accumulator piston hole closed.

      If there is no sound, disassemble and check the parts installation condition.

      1. Clutch No.2 (C2)
      2. Clutch No.4 (C4)
      3. Clutch No.3 (C3)
      4. Clutch No.1 (C1)
      5. Brake No.3 (B3)
      6. Brake No.1 (B1)
      7. Brake No.2 (B2)
      8. Brake No.4 (B4)
      Fig 27: Identifying Parts Installation Condition
      G04028618Courtesy of © TOYOTA, LICENSE AGREEMENT TMS1002